GM Service Manual Online
For 1990-2009 cars only

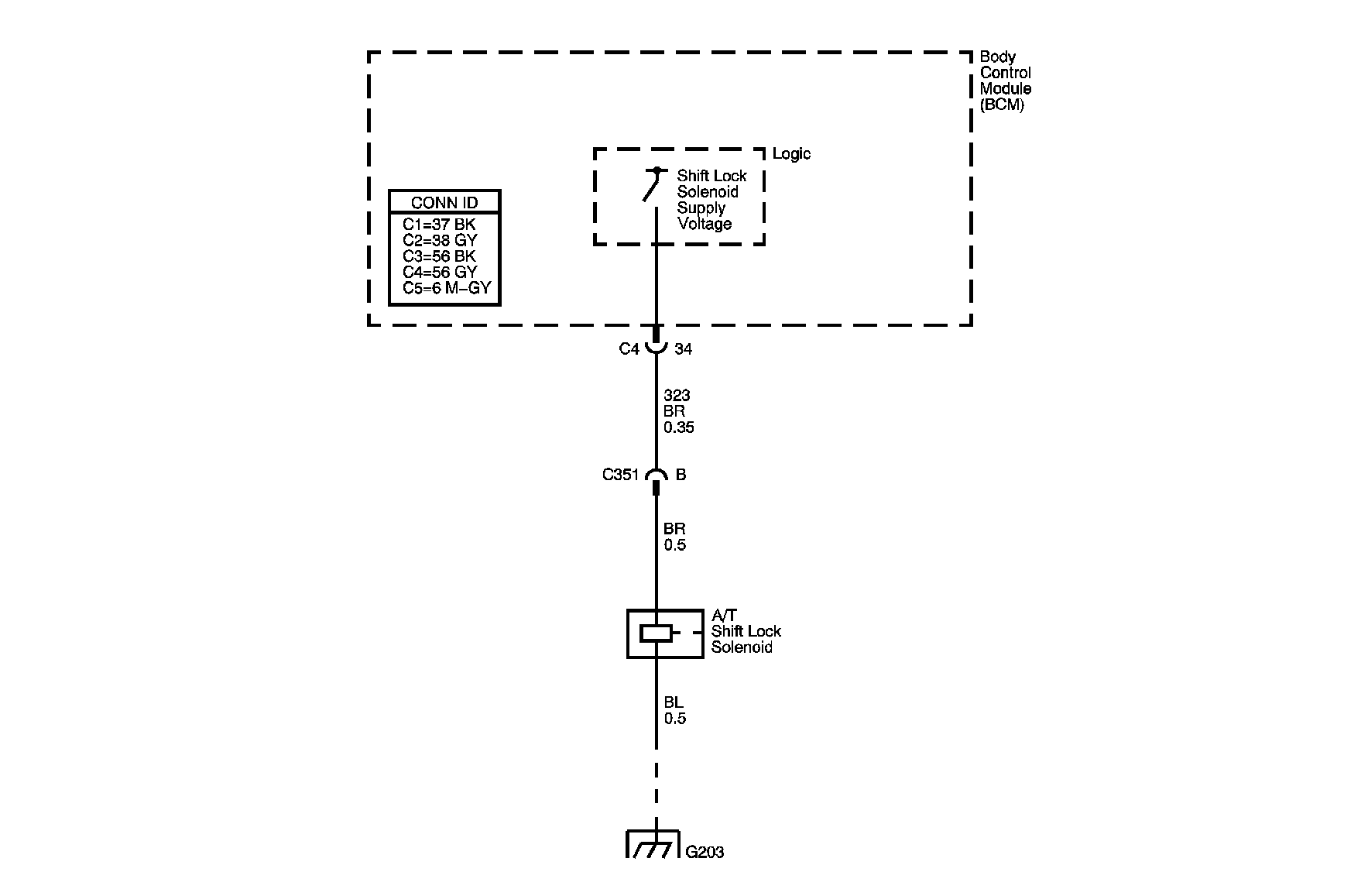
Object Number: 896504  Size: MF

Circuit Description

The body control module (BCM) controls the automatic transmission (A/T) shift lock control solenoid by providing battery voltage to the solenoid. The BCM utilizes a smart driver to control the voltage supplied to the A/T shift lock control solenoid. The smart driver monitors the voltage and current flow of the control circuit. DTC B2709 will set when the BCM detects an open circuit during the shift lock control solenoid operation.

DTC Descriptor

This diagnostic procedure supports the following DTC:

DTC B2709 Gearshift Unlock Circuit Open

Conditions for Running the DTC

    • The ignition switch is in the ON position.
    • The brake pedal is depressed.
    • The transmission the PARK position.

Conditions for Setting the DTC

The BCM detects an open at the shift lock control solenoid output driver for a minimum of one second.

Action Taken When the DTC Sets

The BCM disables shift lock control solenoid operation until the next key cycle.

Conditions for Clearing the DTC

    • A current DTC B2709 will clear when the malfunction is no longer present and the ignition switch is cycled.
    • All BCM history codes will clear after 100 ignition cycles with no current codes active during the 100 ignition cycles.

Diagnostic Aids

    • If the A/T shift lock control circuit is shorted to battery positive voltage, the A/T shift lock control solenoid will be unlocked. The vehicle will shift out of PARK, without depressing the brake pedal.
    • Perform the tests while wiggling the wires and connectors. This may often cause an intermittent malfunction to appear. Refer to Testing for Intermittent Conditions and Poor Connections in Wiring Systems.

Test Description

The numbers below refer to the step numbers on the diagnostic table.

  1. Listen for an audible click when the A/T shift lock control solenoid operates. Command both the ON and OFF states. Repeat the commands, as necessary.

  2. This step tests for voltage at the command voltage circuit of the A/T shift lock control solenoid.

  3. This step tests if ground is constantly being applied to the A/T shift lock control solenoid.

Step

Action

Yes

No

Schematic Reference: Shift Lock Control Schematics

Connector End View Reference: Computer/Integrating Systems Connector End Views in Computer/Integrating Services

1

Did you perform the Diagnostic System Check - Vehicle?

Go to Step 2

Go to Diagnostic System Check - Vehicle in Vehicle DTC Information

2

  1. Install a scan tool.
  2. Turn ON the ignition, with the engine OFF.
  3. With a scan tool, command the brake to shift relay output control ON and OFF.

Does the automatic transmission (A/T) shift lock control solenoid turn ON and OFF with each command?

Go to Testing for Intermittent Conditions and Poor Connections in Wiring Systems

Go to Step 3

3

  1. Turn OFF the ignition.
  2. Disconnect the A/T shift lock control solenoid.
  3. Connect a test lamp between the shift lock solenoid control circuit at the connector of the A/T shift lock solenoid and a good ground.
  4. Turn ON the ignition, with the engine OFF.
  5. With a scan tool, command the brake to shift relay output control ON and OFF several times.

Does the test lamp illuminate ON and OFF with each command?

Go to Step 5

Go to Step 4

4

Test the control circuit of the A/T shift lock control solenoid for an open or high resistance. Refer to Circuit Testing and Wiring Repairs in Wiring Systems.

Did you find and correct the condition?

Go to Step 10

Go to Step 7

5

Test the A/T shift lock control solenoid ground circuit for an open. Refer to Circuit Testing and Wiring Repairs in Wiring Systems.

Did you find and correct the condition?

Go to Step 10

Go to Step 6

6

Inspect for poor connections at the harness connector of the A/T shift lock control solenoid. Refer to Testing for Intermittent Conditions and Poor Connections and Connector Repairs in Wiring Systems.

Did you find and correct the condition?

Go to Step 10

Go to Step 8

7

Inspect for poor connections at the harness connector of the body control module (BCM). Refer to Testing for Intermittent Conditions and Poor Connections and Connector Repairs in Wiring Systems.

Did you find and correct the condition?

Go to Step 10

Go to Step 9

8

Replace the A/T shift lock control solenoid. Refer Shift Lock Control Solenoid Replacement .

Did you complete the replacement?

Go to Step 10

--

9

Important: Perform the set up procedures for the BCM.

Replace the BCM. Refer to Control Module References in Computer/Integrating Systems for replacement, setup, and programming.

Did you complete the replacement?

Go to Step 10

--

10

  1. Use the scan tool in order to clear the DTCs .
  2. Operate the vehicle within the Conditions for Running the DTC, as specified in the supporting text.

Does the DTC reset?

Go to Step 2

System OK