GM Service Manual Online
For 1990-2009 cars only

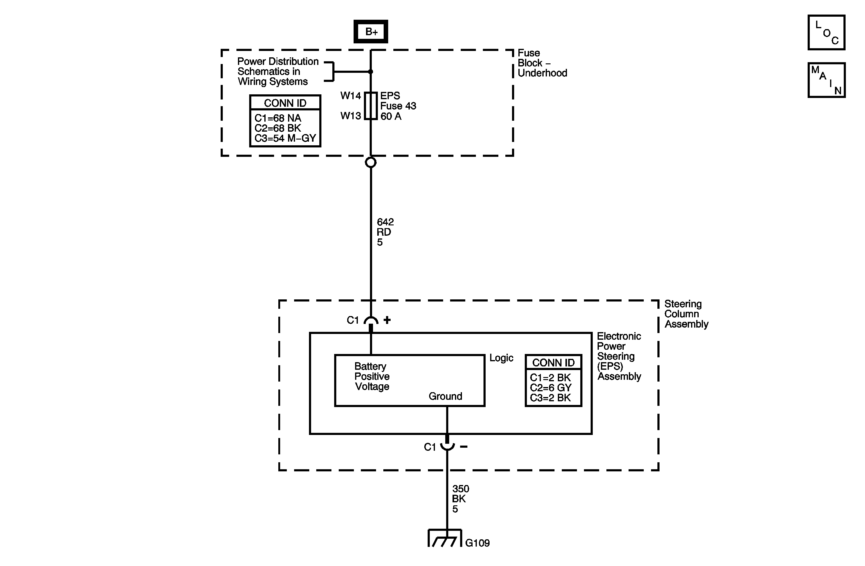
Object Number: 1571718  Size: MF

Circuit Description

The power steering control module (PSCM) has a discrete battery positive voltage supply circuit. The PSCM monitors the voltage level on this circuit to ensure the electric power steering (EPS) system has adequate voltage levels to perform the system functions.

DTC Descriptor

This diagnostic procedure supports the following DTC:

DTC C0899 Device Voltage Low

Conditions for Running the DTC

The ignition is ON.

Conditions for Setting the DTC

EPS system voltage is less than 8 volts

Action Taken When the DTC Sets

    • DTC C0899 is stored in memory.
    • The instrument panel cluster (IPC) message center displays the PWR STR warning message.
    • No steering assist is provided.

Conditions for Clearing the DTC

    • A current DTC will clear when EPS system voltage is greater than 8.65 volts.
    • A history DTC will clear after 100 consecutive ignition cycles with the EPS system voltage greater than 8.65 volts.

Diagnostic Aids

The scan tool can be used to view the number of times a low battery incident has occurred. If an intermittent malfunction exists, refer to Testing for Intermittent Conditions and Poor Connections in Wiring Systems for further diagnosis.

Test Description

The numbers below refer to the step numbers on the diagnostic table.

  1. Tests if the malfunction exists in the vehicles charging system.

  2. Tests if the malfunction is in the EPS system.

Step

Action

Yes

No

Connector End Views Reference: Power Steering Connector End Views

1

Did you perform the Diagnostic System Check - Vehicle?

Go to Step 2

Go to Diagnostic System Check - Vehicle in Vehicle DTC Information

2

  1. Install a scan tool.
  2. Turn ON the ignition, with the engine OFF.
  3. Turn ON the scan tool.

Does the scan tool power up and communicate with the engine control module (ECM)?

Go to Step 3

Go to Diagnostic System Check - Vehicle in Vehicle DTC Information

3

With the scan tool observe the Battery Voltage parameter in the electric power steering (EPS) Data List 1.

Does the scan tool display less than 8 Volts?

Go to Step 3

Go to Diagnostic Aids

4

Test the battery positive voltage circuit of the power steering control module (PSCM) for a high resistance. Refer to Circuit Testing and to Wiring Repairs in Wiring Systems.

Did you find and correct the condition?

Go to Step 10

Go to Step 5

5

Test the ground circuit of the PSCM for a high resistance . Refer to Circuit Testing and to Wiring Repairs in Wiring Systems.

Did you find and correct the condition?

Go to Step 10

Go to Step 6

6

Inspect for poor connections at the harness connector of the PSCM. Refer to Testing for Intermittent Conditions and Poor Connections and to Connector Repairs in Wiring Systems.

Did you find and correct the condition?

Go to Step 10

Go to Step 7

7

Inspect for poor connections at the harness connector of the underhood fuse block stud terminal . Refer to Testing for Intermittent Conditions and Poor Connections and to Connector Repairs in Wiring Systems.

Did you find and correct the condition?

Go to Step 10

Go to Step 8

8

Inspect for poor connections at the ground connector, G109. Refer to Testing for Intermittent Conditions and Poor Connections and to Connector Repairs in Wiring Systems.

Did you find and correct the condition?

Go to Step 10

Go to Step 9

9

Replace the EPS assembly. Refer to Steering Column Replacement in Steering Wheel and Column.

Did you complete the replacement?

Go to Step 10

--

10

  1. Use the scan tool in order to clear the DTCs.
  2. Operate the vehicle within the Conditions for Running the DTC.

Does the DTC reset?

Go to Step 2

System OK