GM Service Manual Online
For 1990-2009 cars only

Object Number: 891591  Size: MF

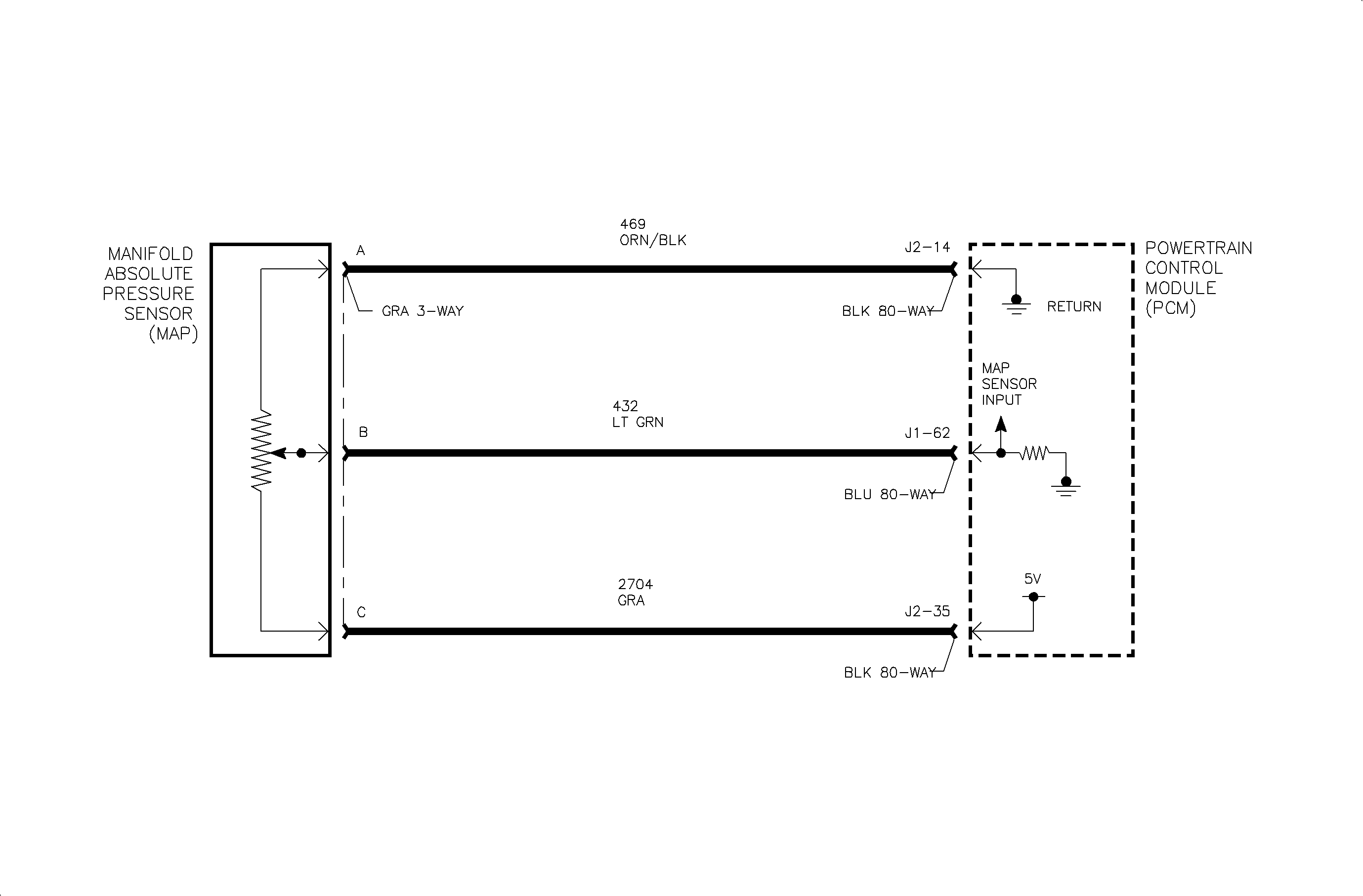
Circuit Description

The manifold absolute pressure (MAP) sensor is a transducer that varies resistance according to changes in the intake manifold pressure (vacuum). The PCM measures the signal voltage from the MAP sensor, which is a reduced value of the PCM 5 volt reference. The voltage ranges from 1-1.5 volts at idle (low pressure/high vacuum) to 4.5-4.8 volts at wide open throttle (high pressure/low vacuum). The DTC P0107 sets when the MAP sensor signal voltage at the PCM is below the calibrated voltage value.

Conditions for Setting the DTC

DTC P0107 will set if MAP sensor voltage is less than 0.10 volts when:

    • Condition exists for longer than 6 seconds
    • Engine speed is less than 1000 RPM
    • No TP sensor DTCs have been set
    • OR
    • Condition exists for longer than 6 seconds
    • Engine speed is greater than 1000 RPM
    • TP angle is greater than 15%
    • No TP sensor DTCs have been set

DTC P0107 diagnostic runs continuously with the engine running.

P0107 is a (type B) DTC

Diagnostic Aids

To locate an intermittent problem, us the scan tool to monitor MAP sensor voltage with engine idling (high vacuum).

Wiggling wires while watching for a change in MAP sensor voltage may locate the area where an open or short to ground in the wiring could lie.

The PCM supplies the MAP sensor with its own separate 5 volt reference source. There are no other external components tied to it.

Important: Inaccurate readings will occur if resistance measurements are taken on a MAP sensor. The MAP sensor contains an internal amplifier circuit that requires applied voltage to function properly.

DTC P0107


Object Number: 889888  Size: FP