GM Service Manual Online
For 1990-2009 cars only

Object Number: 891605  Size: MF

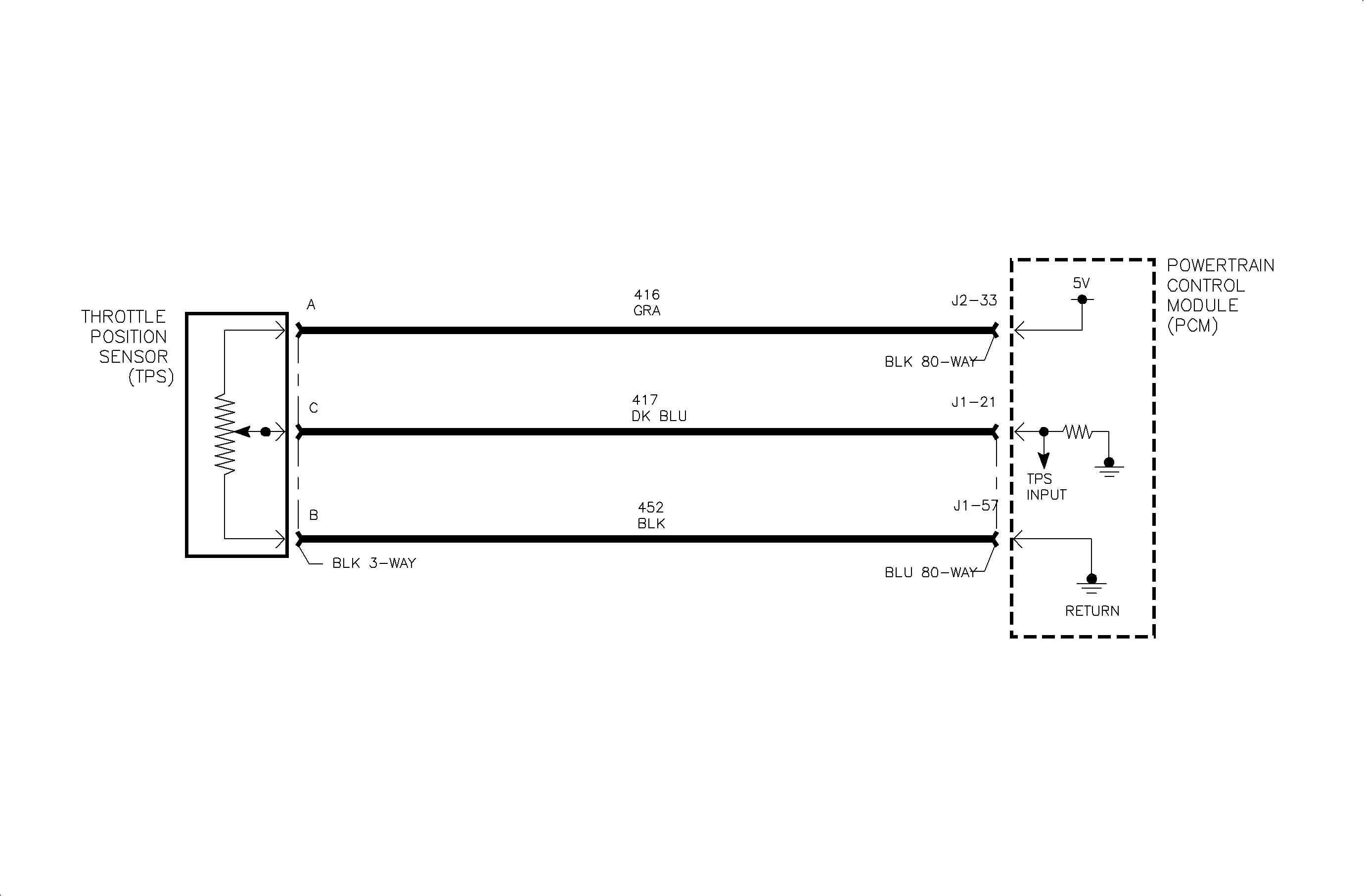
Circuit Description

The throttle position (TP) sensor is a potentiometer that varies resistance according to changes in the throttle plate position. The PCM measures the signal voltage from the TP sensor, which is a reduced value of the PCM 5 volt reference. The voltage ranges from 0.35 (+/-0.2) volts at 0% throttle position to 4.65 volts at wide open throttle. DTC P0122 sets when the TP sensor signal voltage at the PCM is below the calibrated voltage value.

Conditions for Setting the DTC

DTC P1022 will set if the TP sensor voltage is less than 0.10 volts when:

    • Condition exists for longer than 6 seconds
    • Engine is running

DTC P0122 diagnostic runs continuously with the engine running.

P0122 is a (type B) DTC

Diagnostic Aids

If DTC P0452 and P0530 are also set, a short to ground on the five volt reference circuit may exist. Refer to "5 Volt Reference Circuit Error Diagnosis" in this section.

To locate an intermittent problem, use the scan tool to monitor the TP Sensor voltage with the ignition On, engine OFF. Wiggling the wires whiel watching for a change in the TP Sensor voltage may locate the area where an open or a short to ground in the wiring could lie.

An intermittent open in the TP sensor can cause this DTC to set. Use the scan tool to monitor the TP SENSOR as the accelerator pedal is slowly depressed. The voltage should change smoothly from 0.35 volts at 0% throttle, to 4.65 volts at wide open throttle (+/-0.2 volts).

Important: The A/C pressure sensor, fuel tank pressure sensor and the TP sensor are all tied to the same 5 volt reference source.

DTC P0122


Object Number: 889899  Size: FP