GM Service Manual Online
For 1990-2009 cars only

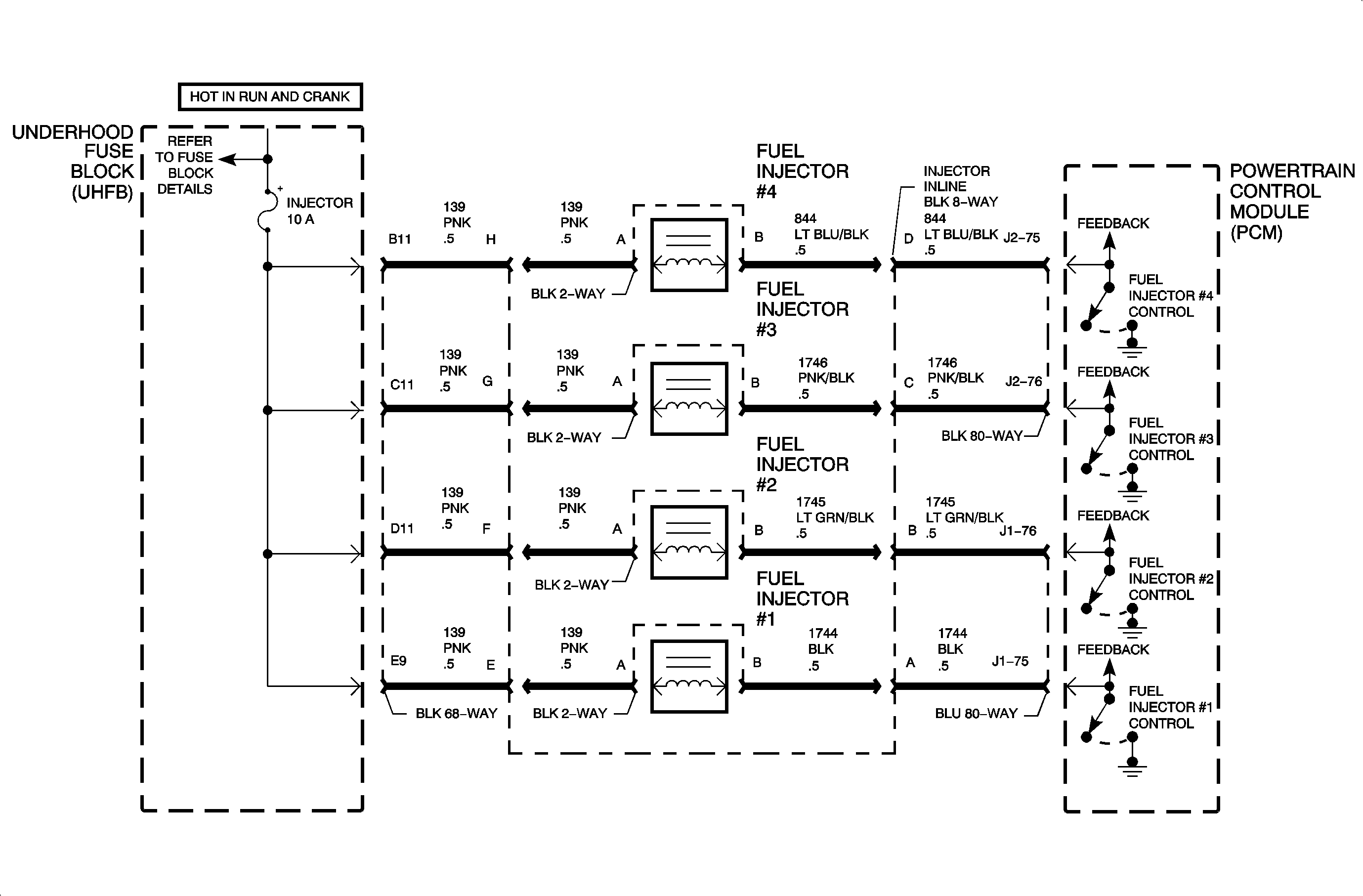
Object Number: 889684  Size: MF

The fuel injection system on L61 engines utilizes sequential fuel injection. The PCM independently controls each fuel injector through separate internal drivers. The PCM drivers hold each fuel injector circuit to ground for a certain length of time based on engine operating parameters. The fuel control system is designed to maintain a 14.7:1 air/fuel ratio under all conditions except power enrichment mode (heavy acceleration/heavy engine load). The PCM calculates the current flow through each fuel injector by monitoring the voltage drop across a fixed internal resistor. The current through each driver rises to a peak of 4 amps then lowers to 1 amp to keep the injector open. This is called peak and hold. DTC P0201-P0204 sets when the PCM has detected that injector #1-#4 can not reach a calibrated peak amperage value when fuel injector #1-#4 is commanded ON.

Conditions for Setting the DTC

DTC P0201-P0204 will set if fuel injector #1-#4 current is less than 4 amps when fuel injector #1-#4 is commanded ON when:

    • The condition exists for longer than 1 second.
    • Ignition voltage is greater than 9 volts.
    • The engine is running.

DTC P0201-P0204 diagnostic runs continuously with the engine running.

DTC P0201-P0204 is a type D DTC.

Diagnostic Aids

If a short to voltage on circuit 1744, 1745, 1746 and 844 or a shorted fuel injector exists when fuel injector #1-#4 is commanded ON, the PCM will open the driver circuit for protection and the current draw will be low.

Fuel in the oil is a good indication of a leaking or grounded injector.

To locate an intermittent problem, start the engine and use the scan tool to monitor MISFIRE CURRENT CYL. #1-#4. If a #1-#4 fuel injector fault exists, a misfire will occur on cylinder #1-#4 and the misfire counter will count up.

Fuel injector resistance is 12-13 ohms at 23°C (74°F).


Object Number: 889927  Size: FP