GM Service Manual Online
For 1990-2009 cars only

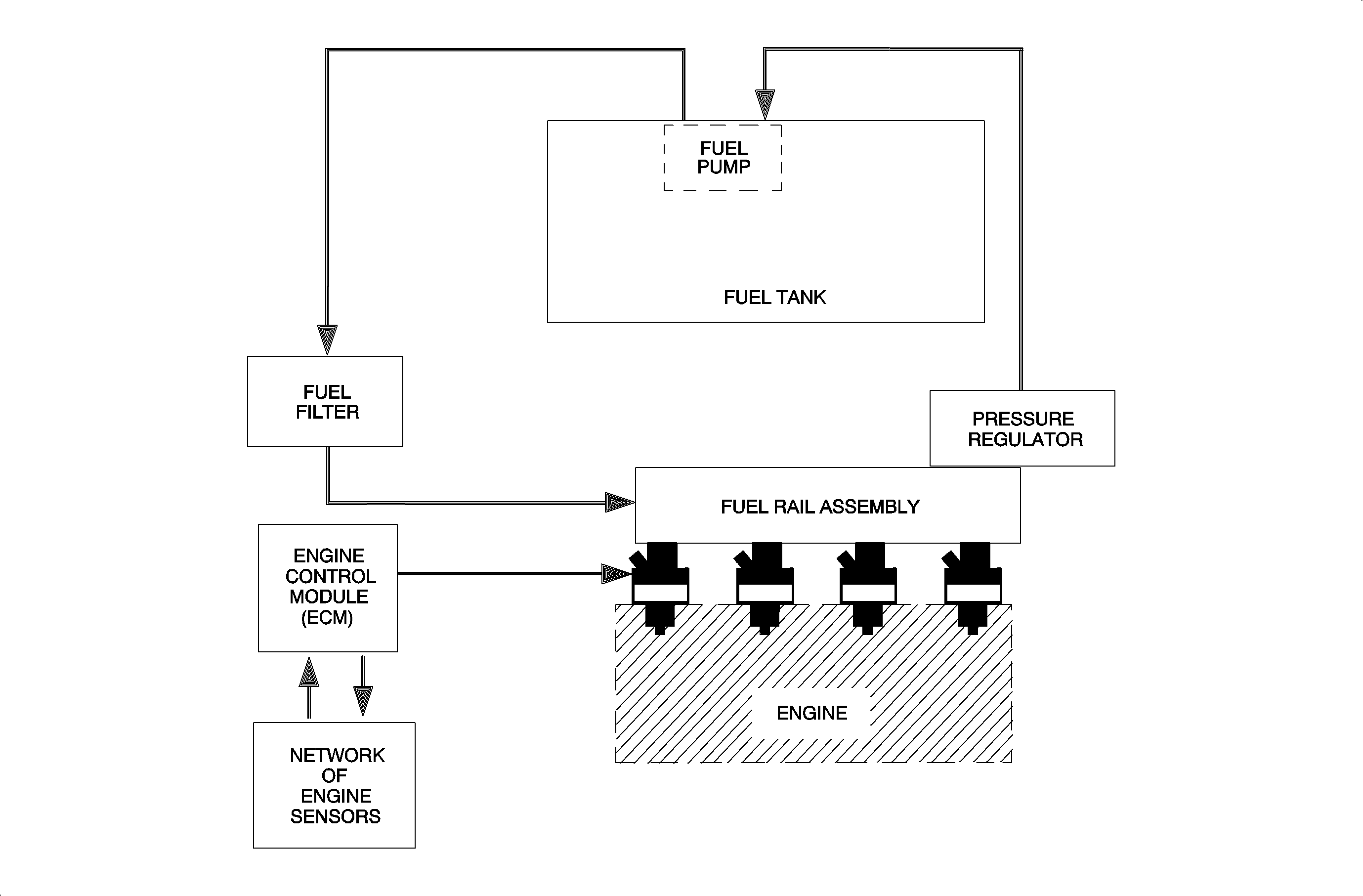
Fuel Metering System


Object Number: 894158  Size: MF

The fuel metering system is made up of the following parts:

    • Fuel supply components (fuel tank, pump, filter, regulator and lines)
    • The fuel pump electrical circuit
    • The fuel rail assembly, including:
       - The fuel injectors
       - The pressure regulator
    • The throttle body assembly, including:
       - The idle air control (IAC) valve
       - The throttle position (TP) sensor

Pressure Regulator Assembly

The pressure regulator assembly is a diaphragm operated relief valve with fuel pump pressure on one side, and regulator spring pressure and intake manifold vacuum on the other. The regulator maintains a constant pressure differential across the fuel injectors at all times by the amount of pressure it takes to lift the diaphragm off its seat. During idle, a high vacuum signal to the pressure regulator pulls on the diaphragm, helping to lift it off its seat. This allows for low fuel pressure during idle. As engine load increases, vacuum drops, allowing the fuel pressure to increase.


Object Number: 893317  Size: SH

When vacuum drops to zero, spring pressure controls fuel pressure. This spring is preset at the factory and no adjustment is required. By varying fuel pressure according to engine vacuum, a constant pressure differential across the fuel injector opening is maintained. The pressure regulator is mounted at the end of the fuel rail, and it is serviced as a complete assembly.

With the ignition in the ON position and the engine OFF (zero vacuum), fuel pressure at the pressure test connection should be 380 kPa (55 psi). If pressure is lower than the specification, excessive odor and a DTC P0172 could result.

Fuel Pump Electrical Circuit

When the ignition is first turned to the ON position, without the engine running, the PCM turns the fuel pump relay ON for 2-3 seconds. This builds up fuel pressure quickly. If the engine is not started within 2 seconds, the PCM shuts the fuel pump OFF and waits until CKP reference pulses from the EI module are present. As soon as the engine is cranked, the PCM turns the relay ON which powers the fuel pump.