GM Service Manual Online
For 1990-2009 cars only

DTC P1810 (L81), P1815, P1816, P1817, or P1818 L61


Object Number: 899016  Size: MF

Circuit Description

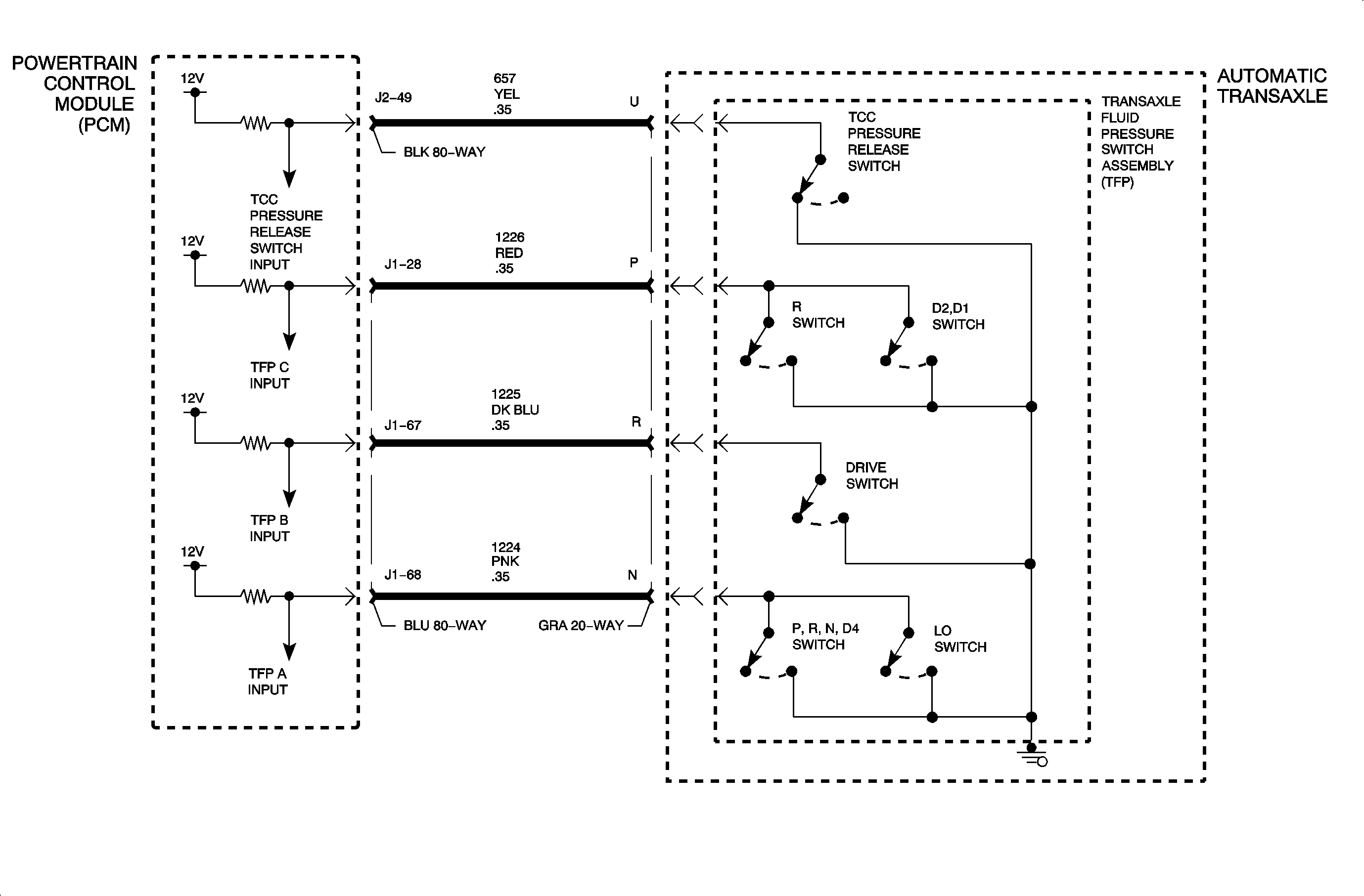
The transaxle fluid pressure (TFP) switch assembly consists of 6 pressure switches. Five of the switches are normally open, and determine gear range selection. The sixth switch is normally closed, and detects torque converter clutch (TCC) release fluid pressure. The TFP switch assembly also contains the transaxle fluid temperature (TFT) sensor. These components are combined into one unit, mounted on the valve body. The PCM provides ignition voltage on the three range signal circuits. By closing (thus grounding) one or more of the switches with fluid pressure from the manual shift valve, the PCM detects the selected gear range. When you disconnect the transaxle electrical connector and the ignition switch is ON, the ground potential for three range signals from the PCM will be removed, and an illegal gear will be indicated. Refer to the TFP Switch Assembly Logic Table. When the PCM detects any of the following conditions DTC P1810 sets:

    • An invalid gear state
    • A drive range after start-up
    • An incorrect gear ration

MY 2002: DTC Parameters

DTC P1810 will set if TFP range is illegal for 60 seconds when:

    • The engine is running.
    • The ignition 1 is 8-18 volts.

DTC P1810 (Case 2) will set if TFP range is not Park/Neutral for 2 seconds after start-up when:

    • The ignition is 8-18 volts
    • DTC P0716 and P0717 have not set
    • Vehicle speed is less than 5 km/h (3 mph)
    • Engine speed transitions rapidly from less than 200 RPM to greater than 600 RPM

DTC P1810 (Case 3) will set if TFP range is Park/Neutral when gear ratio is less than 0.71:1 for 5 seconds.

DTC P1810 (Case 3) will set if TFP range is Reverse and a gear ratio equal to a forward gear is detected for 5 seconds.

DTC P1810 (Case 3) will set if TFP range is Drive 4, Drive 3, Drive 2, or Drive 1 and a gear ratio equal to reverse is detected for 5 seconds.

The following conditions are for P1810 Case 3:

    • The engine is running.
    • The engine torque is 14-407 N·m (10-300 lb ft).
    • TP angle is 10-25 percent.
    • Vehicle speed is greater than 8 km/h (5 mph).
    • No TP angle DTCs have set.
    • DTC P0502, P0503, P0716, P0717, P0751, P0753, P0756, and P0758 have not set.

DTC P1810 Case 2 diagnostic only runs at start-up. All other DTC P1810 cases run continuously once the conditions are met.

DTCs P1810-P1818 are type B DTCs.

MY 2003: DTC Parameters

DTC P1810 will set if TFP range is illegal for 60 seconds when:

    • The engine is running.
    • The ignition 1 is 8-18 volts.

DTC P1815 will set if TFP range is not Park/Neutral for 2 seconds after start-up when:

    • The ignition 1 is 8-18 volts.
    • DTC P0716 and P0717 have not set.
    • Vehicle speed is less than 5 km/h (3 mph).
    • Engine speed transitions rapidly from less than 600 RPM to greater than 1,200 RPM.

DTC P1816 will set if TFP range is Park/Neutral when gear ratio is less than 3.13:1 for 5 seconds.

DTC P1817 will set if TFP range is Reverse and a gear ratio equal to a forward gear is detected for 5 seconds.

DTC P1818 will set of TFP range is Drive 4, Drive 3, Drive 2, or Drive 1 and a gear ratio equal to reverse is detected for 5 seconds.

The following condition are for P1816-P1818:

    • The engine is running.
    • Engine torque is 34-237 N·m (25-175 lb ft).
    • TP angle is greater than 10 percent.
    • Vehicle speed is greater than 5 km/h (3 mph).
    • No TP angle DTCs have set.
    • DTC P0502, P0503, P0716, P0717, P0751, P0753, P0756, and P0758 have not set.

DTC P1811 diagnostic only runs at start-up.

All the other DTCs run continuously once the conditions are met.

DTCs P1810-P1818 are type B DTCs.

Diagnostic Aids

    • A pressure regulator problem could set DTC P1810.
    • PCM will default to a D4 shift pattern when DTC P1810 is set.

TFP Switch Assembly Logic Table (Engine Running)

Gear Position

Range Signal A

Range Signal B

Range Signal C

PARK

Grounded (0V)

Open (12V)

Open (12V)

REVERSE

Grounded (0V)

Open (12V)

Grounded (0V)

NEUTRAL

Grounded (0V)

Open (12V)

Open (12V)

DRIVE/OD

Grounded (0V)

Grounded (0V)

Open (12V)

D3/3rd

Open (12V)

Grounded (0V)

Open (12V)

D2/2nd

Open (12V)

Grounded (0V)

Grounded (0V)

D1/Lo

Grounded (0V)

Grounded (0V)

Grounded (0V)

Illegal

Open (12V)

Open (12V)

Open (12V)

Illegal

Open (12V)

Open (12V)

Grounded (0V)

On Scan Tool:

    • Open (12V) = Off
    • Grounded (0V) = On

Object Number: 890986  Size: FP

Object Number: 890989  Size: FP

Object Number: 890993  Size: FP

Object Number: 890998  Size: FP

DTC P1810 (L81), P1815, P1816, P1817, or P1818 L81


Object Number: 895646  Size: MF

Circuit Description

The transaxle fluid pressure (TFP) switch assembly consists of six pressure switches. Five of the switches are normally open, and determine gear range selection. The sixth switch is normally closed, and detects torque converter clutch (TCC) release fluid pressure. The TFP switch assembly also contains the transaxle fluid temperature (TFT) sensor. These components are combined into one unit, mounted on the valve body. The TCM provides ignition voltage on the three range signal circuits. By closing (thus grounding) one or more of the switches with fluid pressure from the manual shift valve, the TCM detects the selected gear range. When the transaxle electrical connector is disconnected and the ignition switch is on, the ground potential for three range signals from the TCM will be removed, and an illegal gear will be indicated. Refer to TFP switch Assembly Logic Table.

DTC Parameters

DTC P1810 will set if TFP range is illegal for 60 seconds when engine speed is:

    • MY 2002: 200-7,500 for 5 seconds
    • MY 2003: 500-6,500 for 5 seconds

DTC P1815 will set if TFP range is not Park/Neutral for 2 seconds after start-up when:

    • Vehicle speed is less than 5 km/h (3 mph)
    • Engine speed transitions rapidly from less than 200 RPM to greater than 600 RPM

DTC P1816 will set if TFP range is Park/Neutral when gear ratio is less than 0.72:1 for 5 seconds.

DTC P1817 will set if TFP range is Reverse and a gear ratio equal to a forward gear is detected for 5 seconds.

DTC P1818 will set if TFP range is Drive 4, Drive 3, Drive 2, or Drive 1 and a gear ratio equal to reverse is detected for 5 seconds.

The following conditions are for P1816-P1818:

    • Engine speed is:
       - MY 2002: 200-7,500 RPM for 5 seconds
       - MY 2003: 500-5,500 RPM for 5 seconds
    • Engine torque is:
       - MY 2002: 40-200 N·m (30-148 lb ft)
       - MY 2003: 35-250 N·m (25-184 lb ft)
    • TP angle is greater than 10 percent
    • MY 2002: Vehicle speed is greater than 8 km/h (5 mph)
    • MY 2003: Transmission OSS is greater than 42 RPM
    • No TP angle DTCs have set
    • DTC P0502, P0503, P0716, P0717, P0751, P0752, P0756, and P0757 have not set
    • MY 2003: DTC P1810, P1815, P1842, P1843, P1845, and P1847 have not set

DTC P0811 diagnostic only runs at start-up.

All other DTCs run continuously once the conditions are met.

DTCs P1810-P1818 are type B DTCs.

Diagnostic Aids

A pressure regulator problem could set DTC P1810. Inspect the wiring at the TCM, the transaxle connector and the TFP valve position switch connector, and all other circuit connecting points for the following conditions:

    • A bent terminal
    • A backed out terminal
    • A damaged terminal
    • Poor terminal tension
    • A chafed wire
    • A broken wire inside the insulation
    • Moisture intrusion
    • Corrosion

When diagnosing for an intermittent short or open condition, massage the wiring harness while watching the test equipment for a change.

TFP Switch Assembly Logic Table (Engine Running)

Gear Position

Range Signal A

Range Signal B

Range Signal C

PARK

Grounded (0V)

Open (12V)

Open (12V)

REVERSE

Grounded (0V)

Open (12V)

Grounded (0V)

NEUTRAL

Grounded (0V)

Open (12V)

Open (12V)

DRIVE/OD

Grounded (0V)

Grounded (0V)

Open (12V)

D3/3rd

Open (12V)

Grounded (0V)

Open (12V)

D2/2nd

Open (12V)

Grounded (0V)

Grounded (0V)

D1/Lo

Grounded (0V)

Grounded (0V)

Grounded (0V)

Illegal

Open (12V)

Grounded (0V)

Grounded (0V)

Illegal

Open (12V)

Open (12V)

Grounded (0V)

On Scan Tool:

    • Open (12V) = Off
    • Grounded (0V) = On

Object Number: 891000  Size: FP

Object Number: 891003  Size: FP

Object Number: 891006  Size: FP

Object Number: 891008  Size: FP