GM Service Manual Online
For 1990-2009 cars only

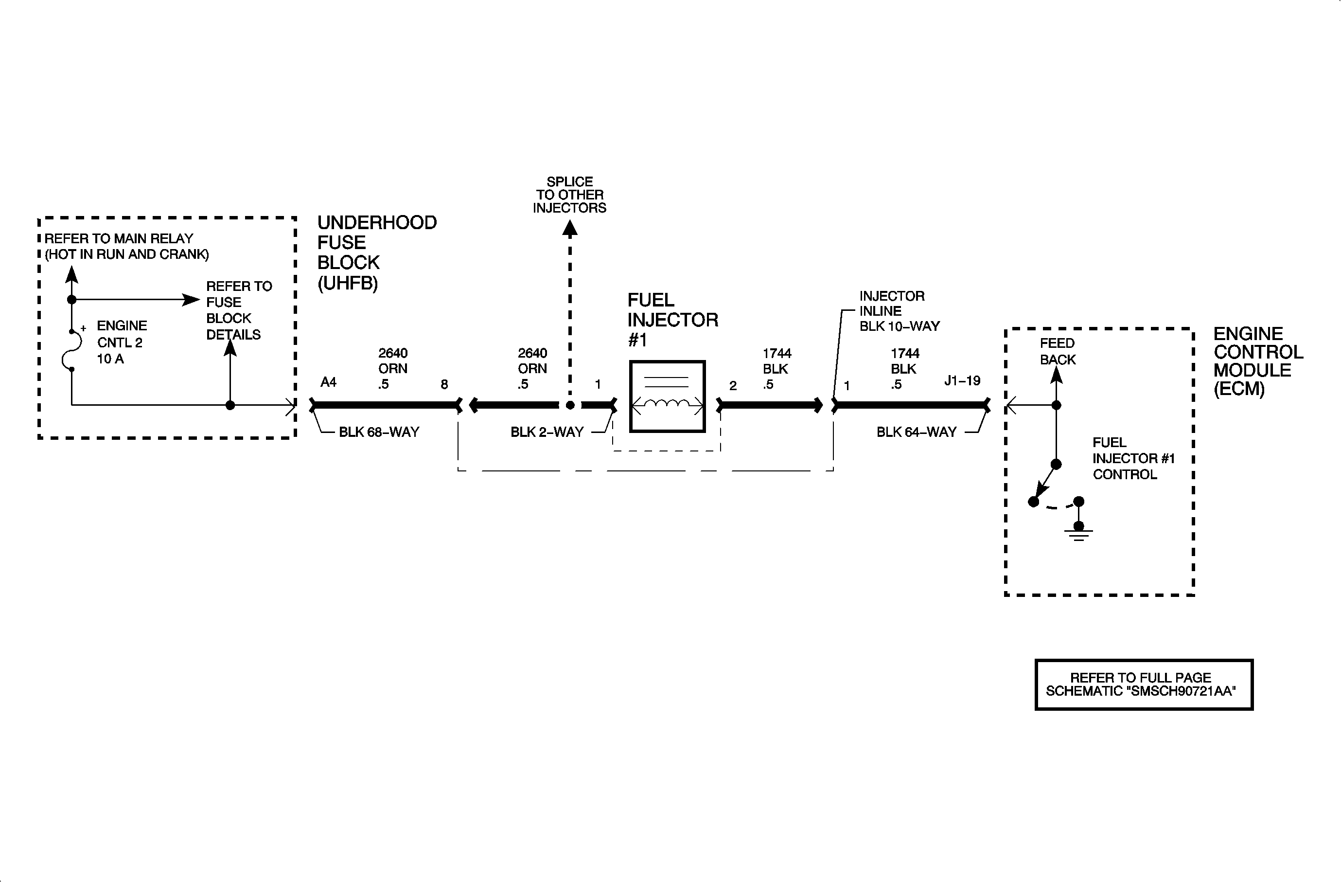
Object Number: 896260  Size: MF

Circuit Description

The fuel injection system on L81 engines utilize sequential fuel injection. The engine control module (ECM) independently controls each fuel injector through separate internal drivers. The ECM drivers hold each fuel injector circuit to ground for a certain length of time based on engine operating parameters. When the injector driver is commanded OFF, circuit not grounded, the voltage level at the ECM should be high, ignition voltage. When the injector driver is commanded ON, circuit grounded, the voltage level at the ECM should be low. The ECM injector driver feedback circuit uses a pull-up voltage, 2.6-4.6 volts, which allows the ECM to individually differentiate between an open, short to ground, or short to voltage. DTC P0261 will set if the ECM detects lower than normal feedback voltage when fuel injector #1 is commanded OFF with the engine cranking/running.

Conditions for Setting the DTC

DTC P0261 will set if fuel injector #1 feedback voltage is less than 2.6 volts when fuel injector #1 is commanded OFF when:

    • The condition exists for longer than 0.5 seconds.
    • The battery voltage is between 7.5-15 volts.
    • The engine speed is greater than 40 RPM.

DTC P0261 diagnostic runs continuously with the engine running.

DTC P0261 is a type B DTC.

Diagnostic Aids

To locate an intermittent problem, start the engine and use the scan tool to monitor MISFIRE CURRENT CYL. 1. If a #1 fuel injector fault exists, a misfire will occur on cylinder #1 and the misfire counter will count up.

Fuel in the oil is a good indication of a leaking injector or grounded injector control circuit.

Fuel injector resistance is 15.6-16.4 ohms at 21°C (70°F).

OR

All fuel injector resistances are within 1 ohm of each other at the same temperature.


Object Number: 898775  Size: FP