GM Service Manual Online
For 1990-2009 cars only

Object Number: 896268  Size: MF

Circuit Description

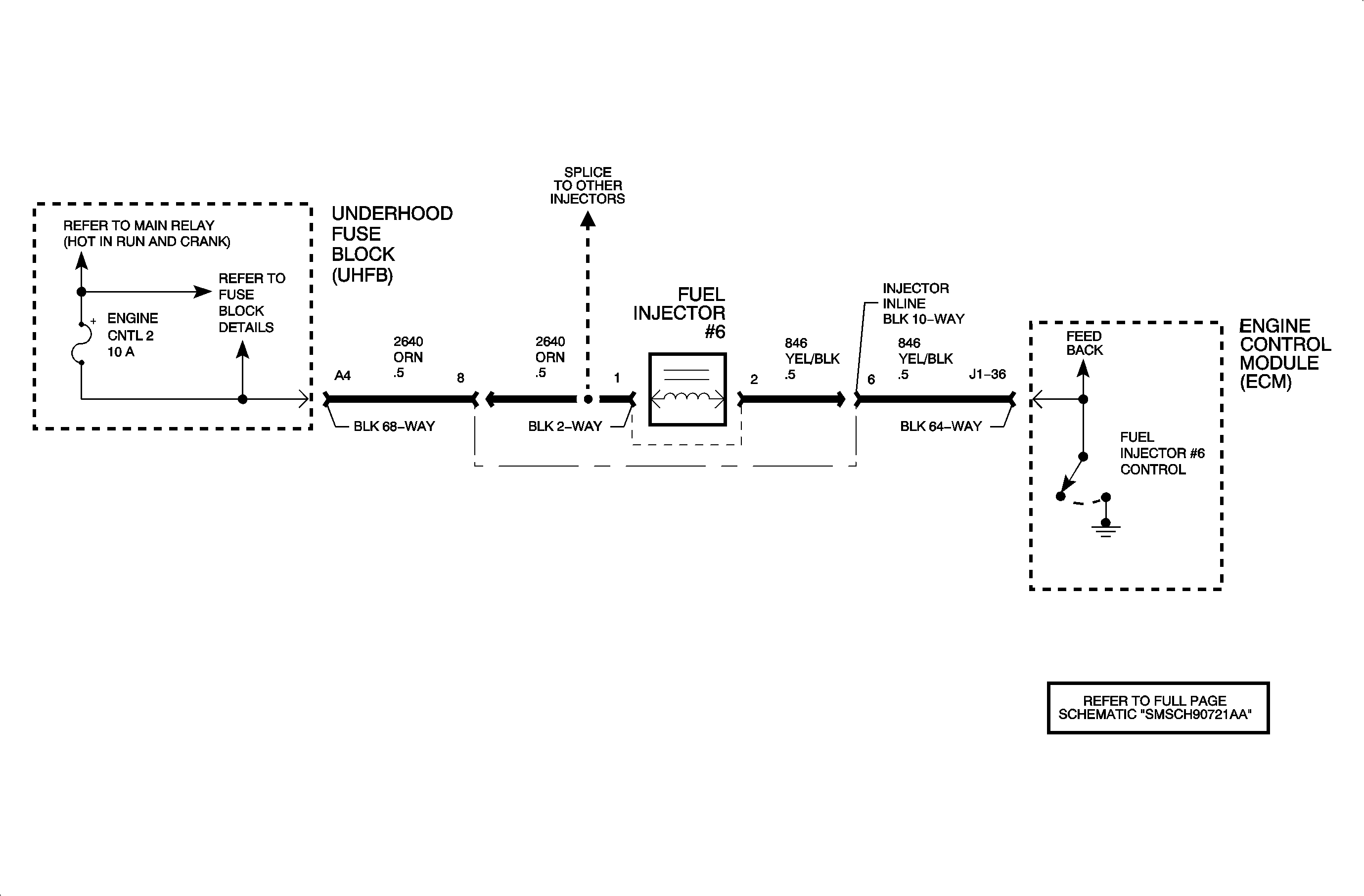
The fuel injection system on L81 engines utilize sequential fuel injection. The engine control module (ECM) independently controls each fuel injector through separate internal drivers. The ECM drivers hold each fuel injector circuit to ground for a certain length of time based on engine operating parameters. When the injector driver is commanded OFF, circuit not grounded, the voltage level at the ECM should be high, ignition voltage. When the injector driver is commanded ON, circuit grounded , the voltage level at the ECM should be low. The ECM injector driver feedback circuit uses a pull-up voltage, 4.6-6.6 volts, which allows the ECM to individually differentiate between an open, short to ground, or short to voltage. DTC P0276 will set if the ECM detects lower than normal feedback voltage when fuel injector #6 is commanded OFF with the engine cranking/running.

Conditions for Setting the DTC

DTC P0276 will set if the fuel injector #6 feedback voltage is less than 4.6 volts when fuel injector #6 is commanded OFF when:

    • Condition exists for longer than 0.5 seconds.
    • Battery voltage is between 7.5-15 volts.
    • Engine speed is greater than 40 RPM.

DTC P0276 diagnostic runs continuously once the above conditions have been met.

DTC P0276 is a type B DTC.

Diagnostic Aids

To locate an intermittent problem, start the engine and use the scan tool to monitor MISFIRE CURRENT CYL. 6. If a #6 fuel injector fault exists, a misfire will occur on cylinder #6 and the misfire counter will count up.

Fuel in the oil is a good indication of a leaking injector or grounded injector control circuit.

Fuel injector resistance is 15.6-16.4 ohms at 21°C (70°F).

OR

All fuel injector resistances are within 1 ohm of each other at the same temperature.


Object Number: 898125  Size: FP