GM Service Manual Online
For 1990-2009 cars only

Object Number: 896246  Size: MF

Circuit Description

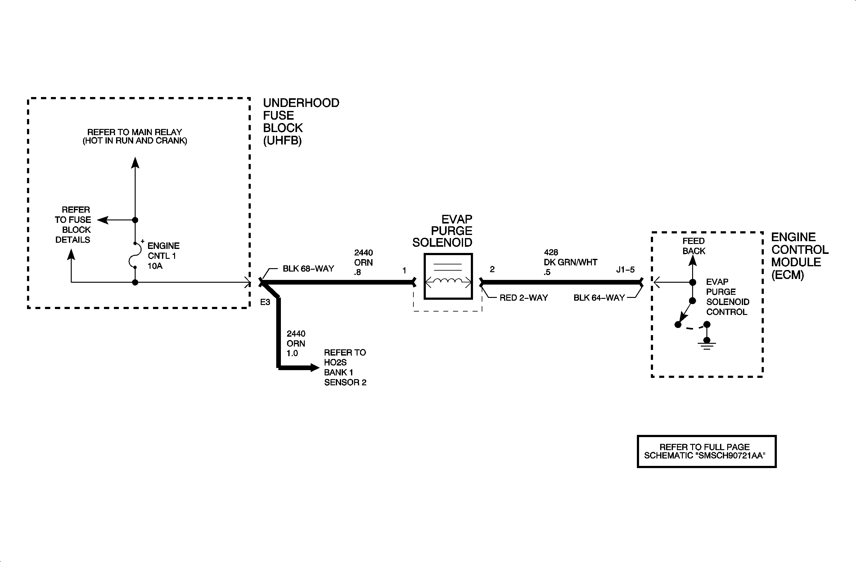
The evaporative emission (EVAP) system is used to store fuel vapors as to reduce the amount of unburned fuel from escaping into the atmosphere. The EVAP purge solenoid allows fuel vapor from the EVAP canister to the intake manifold. The engine control module (ECM) controls the solenoid by supplying it ground whenever the EVAP system is in purge mode. Fuel vapors can be purged anytime the ECM is in Closed Loop and the vehicle is not in a deceleration. When the solenoid is commanded OFF, the circuit not grounded, the voltage level at the ECM should be high, ignition voltage. When the solenoid is commanded ON, the circuit grounded, the voltage level at the ECM should be low. The ECM EVAP purge solenoid feedback circuit uses a pull-up voltage, 2.6-4.6  volts, which allows the ECM to individually differentiate between an open, short to ground, or short to voltage. DTC P0444 will set if the ECM detects lower than normal feedback voltage when the EVAP purge solenoid is commanded OFF with the engine cranking/running.

Conditions for Setting the DTC

DTC P0444 will set if the EVAP purge solenoid feedback voltage is less than 2.6 volts when the EVAP purge solenoid is commanded OFF when:

    • The condition exists for longer than 0.5 seconds.
    • The engine speed is greater than 40 RPM.
    • The battery voltage is between 7.5-15 volts.

DTC P0444 diagnostic runs continuously once the above conditions have been met.

DTC P0444 is a type B DTC.

Diagnostic Aids

To locate an intermittent problem, use the scan tool to monitor DTC P0444 LAST TEST with the engine running. Wiggling the wires while watching for a change from PASSED to FAILED may locate the area where a short to ground in the wiring exists.

EVAP purge solenoid resistance is 16-25 ohms.


Object Number: 898203  Size: FP