GM Service Manual Online
For 1990-2009 cars only

Object Number: 896248  Size: MF

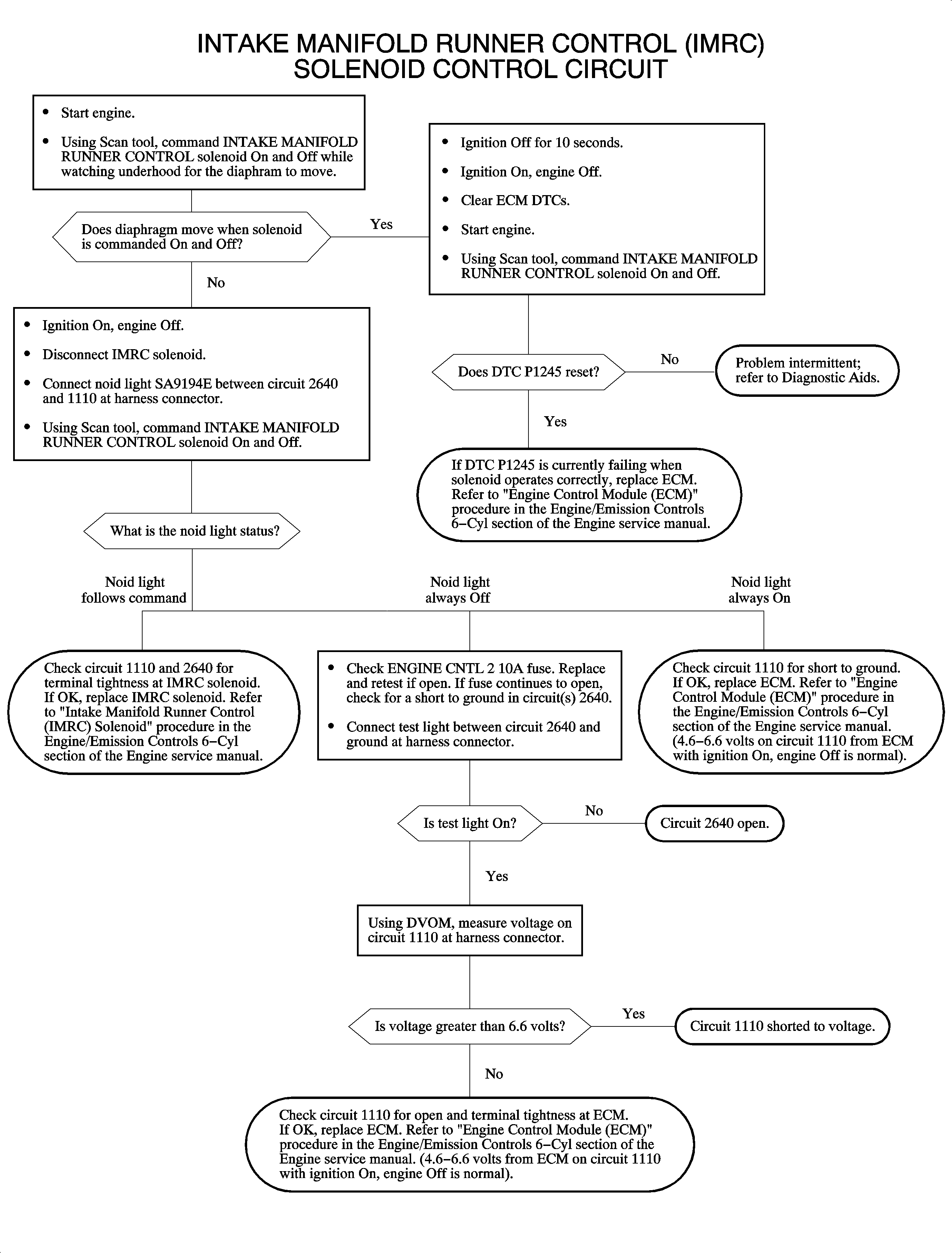
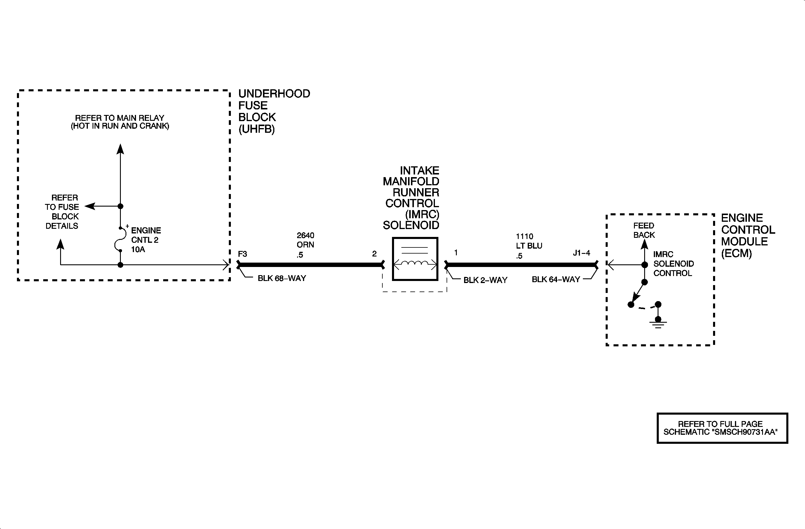
Circuit Description

The intake manifold runner is a long moveable divider inside the intake manifold, which changes induction airflow characteristics as it pivots above a certain engine speed/load range. The engine control module (ECM) controls the intake manifold runner, by controlling the manifold runner control (IMRC) solenoid. The IMRC solenoid is supplied continuous ported vacuum, which is transferred to the intake manifold runner diaphragms whenever the solenoid is energized. The ECM controls the solenoid by supplying the circuit ground. When the solenoid is commanded OFF, circuit not grounded, the voltage level at the ECM should be high, ignition voltage. When the solenoid is commanded ON, circuit grounded, the voltage level at the ECM should be low. DTC P1245 will set if the ECM detects lower than normal feedback voltage when the IMRC solenoid is commanded OFF, or higher than normal feedback voltage when the IMRC solenoid is commanded ON.

Conditions for Setting the DTC

DTC P1245 will set if the IMRC solenoid feedback voltage is less than 6.6 volts when IMRC solenoid is commanded OFF, OR if IMRC solenoid feedback voltage is greater than 4.6 volts when the IMRC solenoid is commanded ON when:

    • The condition exists for longer than 0.5 seconds.
    • The engine speed is greater than 40 RPM.
    • The battery voltage is between 7.5-15 volts.

DTC P1245 diagnostic runs continuously once the above conditions have been met.

DTC P1245 is a type D DTC.

Diagnostic Aids

To locate an intermittent problem, use the scan tool to monitor DTC P1245 LAST TEST with the engine running at idle. Wiggling the wires while watching for a change from PASSED to FAILED may locate the area where an open or short to ground in the wiring may exist. These failures are only valid if the IMRC solenoid is currently being commanded OFF.

Use the scan tool to command INTAKE MANIFOLD RUNNER CONTROL SOLENOID ON and OFF with the ignition ON and the engine OFF. The solenoid should click when commanded ON and OFF.


Object Number: 891313  Size: FP