GM Service Manual Online
For 1990-2009 cars only

Object Number: 896238  Size: MF

Circuit Description

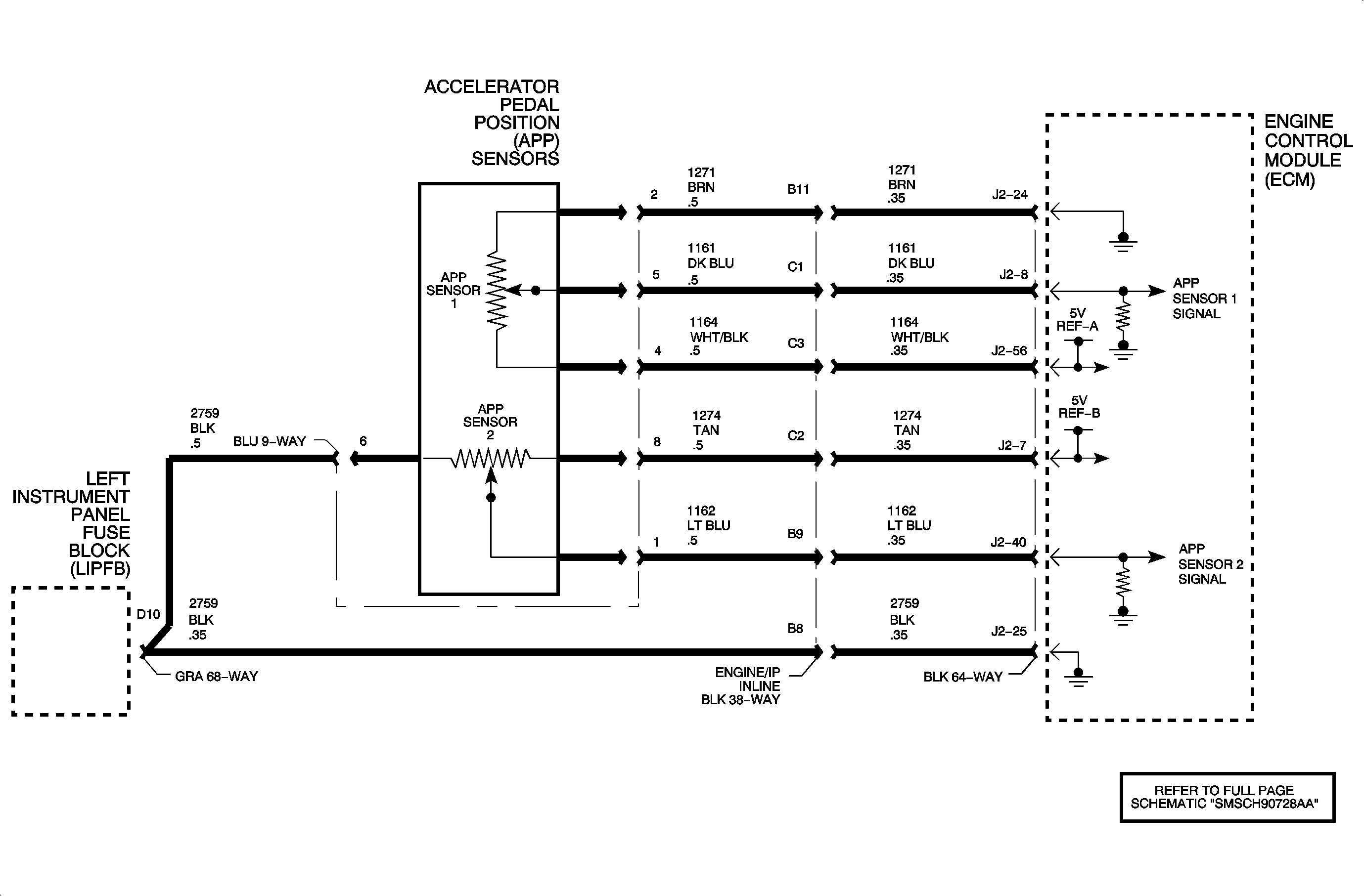
The accelerator pedal assembly contains 2 accelerator pedal position (APP) sensors with 2 independent 5-volt supplies, 2 independent grounds, and 2 independent signal circuits that vary resistance according to changes in the accelerator pedal position. The engine control module (ECM) measures the signal voltage from each APP sensor, which are reduced values of the ECM 5-volt references. As the accelerator pedal moves from the rest to full position, the voltage on APP sensor 1 signal increases from 0.25-3.97 volts, while the voltage on APP sensor 2 signal increases from 0.07-2.07 volts. The ECM monitors each APP signal circuit for faults as well as a performing a comparison check between the sensor 1 and 2 signals. DTC P1278 will set if APP sensor 1 signal voltage at the ECM is above the calibrated voltage value.

Conditions for Setting the DTC

DTC P1278 will set if APP sensor 1 signal voltage is greater than 4.82 volts when:

    • The condition exists for longer than 140 ms.
    • The accelerator pedal position must be changing.
    • The battery voltage is greater than 7 volts.
    • The ignition is ON.

DTC P1278 diagnostic runs continuously once the above conditions have been met.

DTC P1278 is a type A DTC.

The malfunction indicator lamp (MIL) will illuminate 5 seconds after the DTC has been set with the fault still occurring.

Diagnostic Aids

To locate an intermittent problem, use the scan tool to monitor APP SENSOR 1 voltage with the ignition ON and the engine OFF. Wiggling the wires while watching for a change in APP SENSOR 1 voltage may locate the area where an open or short to voltage in the wiring may exist.

Important: The ECM will remain in this condition for the entire ignition cycle even is the fault is corrected.

If an APP sensor 1 signal circuit fault is detected, the ECM will default to 1 of the 2 limp home modes, limited pedal range with slow acceleration, and sensor 2 will be used.

Circuit 416 (CMP/EGR/MAF/MAP sensor), circuit 2709 (AC pressure/fuel tank pressure sensor) and circuit 1164 (APP sensor 1) share the same 5-volt reference supply, 5-volt Ref-A.


Object Number: 891321  Size: FP