GM Service Manual Online
For 1990-2009 cars only

Object Number: 899091  Size: MF

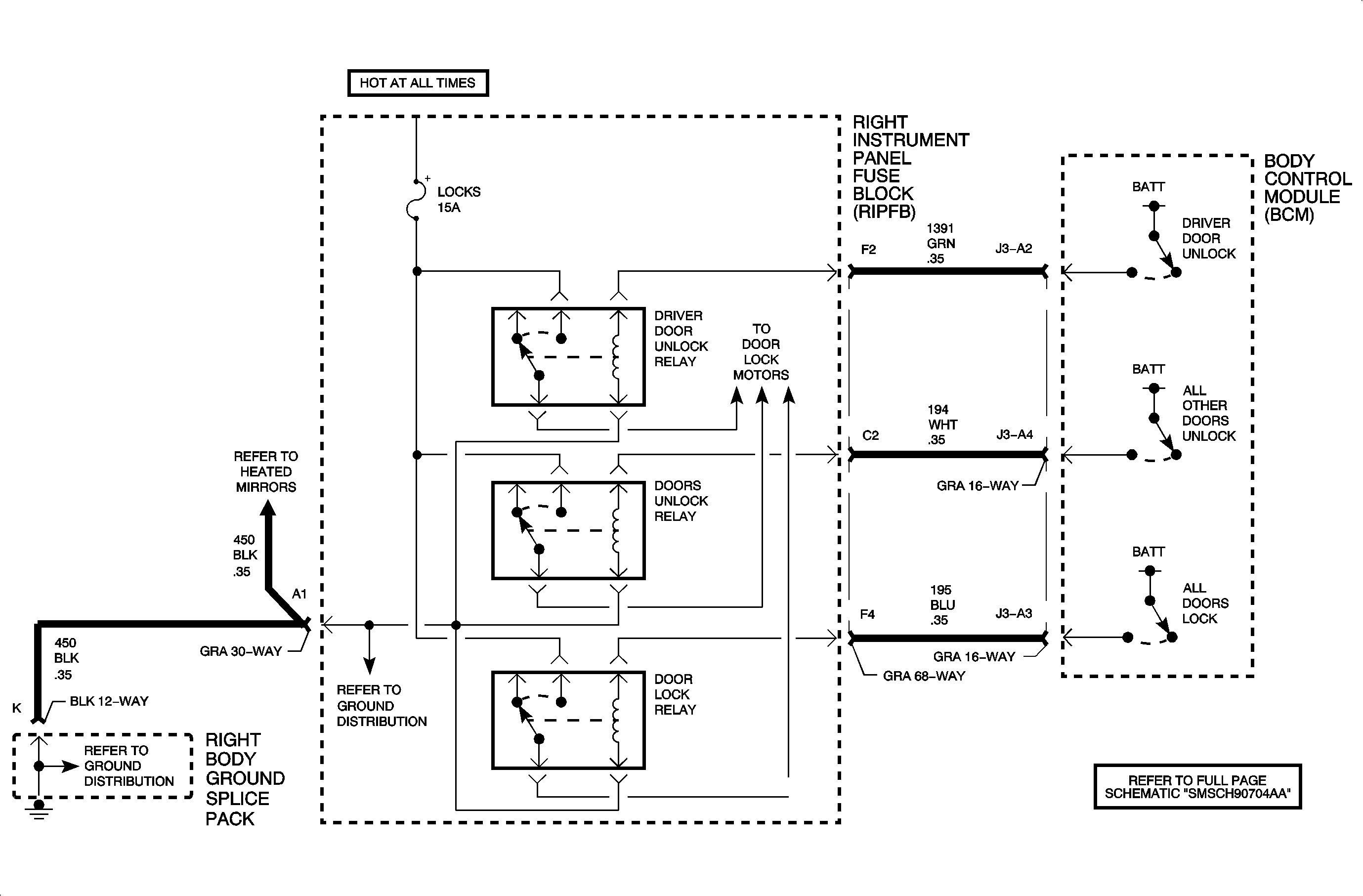
Circuit Description

The body control module (BCM) provides battery power to the all door lock relay through circuit 195. This DTC will fail current when circuit 195 is shorted to battery or open.

Conditions for Setting the DTC

    • Output is off
    • Short to battery or open circuit
    • No telltale illumination

Diagnostic Aids

If the condition is expected to be intermittent, moving the wires will help in duplication of the condition.

B3138


Object Number: 898945  Size: FP