GM Service Manual Online
For 1990-2009 cars only

Object Number: 896162  Size: MF

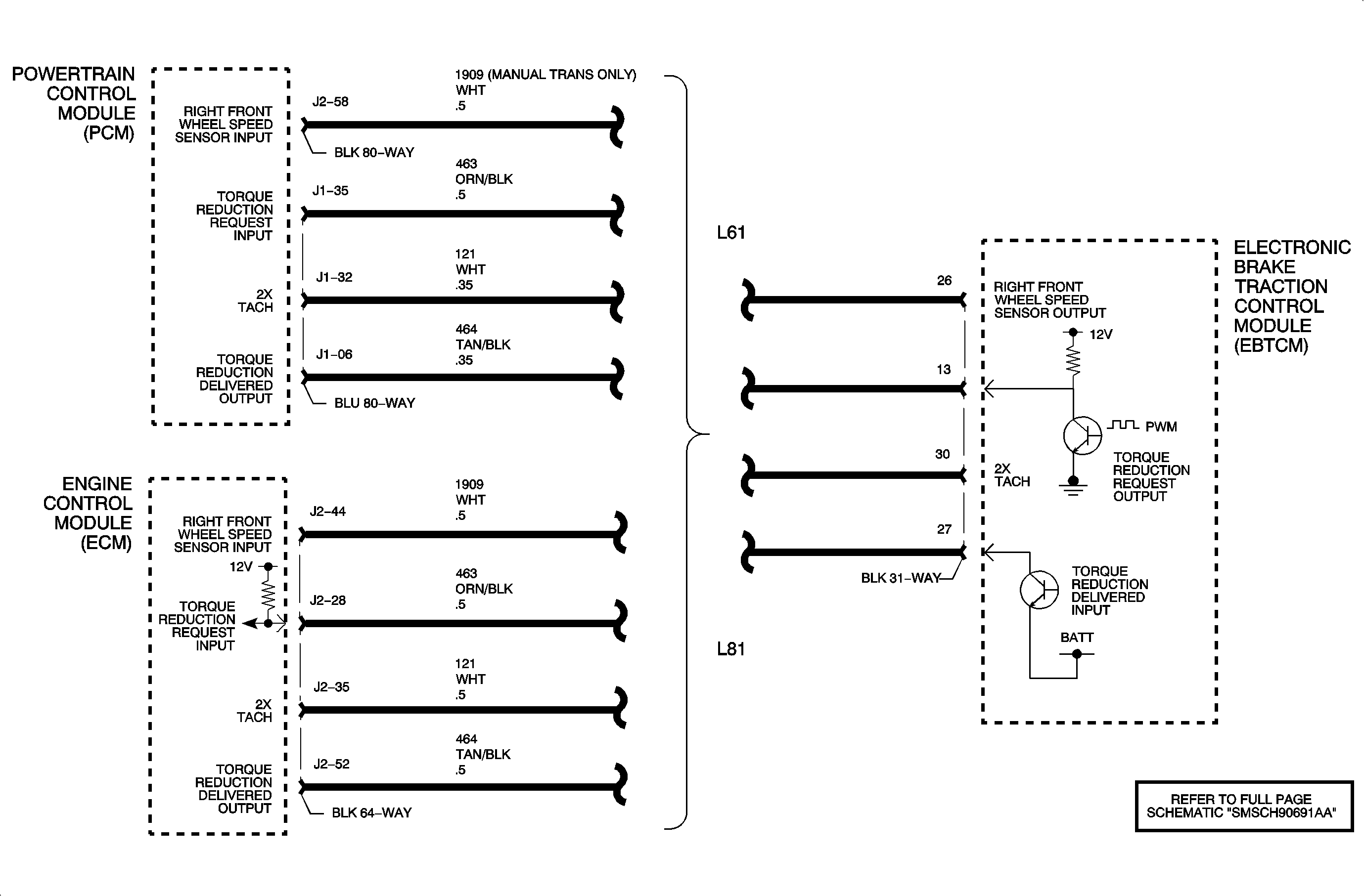
Circuit Description

The EBTCM and the PCM/ECM simultaneously control the traction control. The PCM/ECM reduces the amount of torque supplied to the drive wheels by retarding spark timing and selectively turning off the fuel injectors. The EBTCM actively applies the brakes to the front wheels in order to reduce torque.

The PCM/ECM sends a delivered torque message via pulse width modulated (PWM) signal to the EBTCM. The duty cycle of the signal is used to determine how much engine torque the PCM/ECM is delivering. Normal values are between 10-90 percent duty cycle. The signal should be at low values (around 10 percent) at idle and higher values under driving conditions. The EBTCM supplies a pull-up voltage of 12 volts that the PCM/ECM switches to ground to create the signal.

Conditions for Setting the DTC

DTC C0244 will set if the following conditions exist:

    • The EBTCM does not receive the delivered torque signal (open or shorted circuit).
    • An incorrect delivered torque signal is detected by the EBTCM.

When DTC C0244 sets:

    • Traction control will be disabled.
    • The TRACTION OFF indicator turns on.
    • The ABS remains functional.

Diagnostic Aids

Possible causes for DTC C0244 to set:

    • An open in the delivered torque circuit
    • A delivered torque circuit shorted to ground or voltage
    • A delivered torque circuit has a wiring problem, terminal corrosion, or poor connection
    • THE EBTCM not receiving a signal from the PCM/ECM

DTC C0244


Object Number: 890525  Size: FP