GM Service Manual Online
For 1990-2009 cars only

Object Number: 899005  Size: MF

Circuit Description

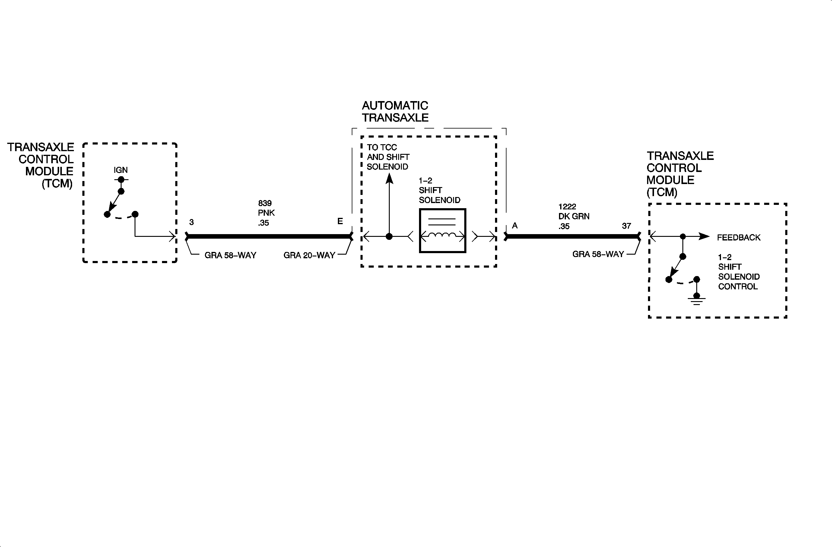
The 1-2 shift solenoid controls fluid flow acting on the 1-2 shift valve. The solenoid is a normally open valve that along with the 2-3 shift solenoid, allows four different shifting combinations. The 1-2 shift solenoid is attached to the valve body inside the transaxle. The transaxle control module (TCM) switches ignition voltage to power the solenoid and commands the solenoid ON and OFF by providing a ground path through circuit 1222.

When a TCM detects a continuous short to voltage in the 1-2 SS Valve, DTC P1843 sets.

DTC Parameters

DTC P1843 will set if there is a continuous short to voltage in the 1-2 shift solenoid valve circuit when:

    • Engine speed is:
       - MY 2002: 200-7,500 RPM for 5 seconds
       - MY 2003: 500-6,500 RPM for 5 seconds
    • MY 2002: Ignition 1 is 8-18 volts
    • Shift solenoid 1-2 is commanded on

DTC P1843 is a type A DTC.

Diagnostic Aids

    • Inspect all related wiring and circuit connecting points.
    • When diagnosing for an intermittent short or open condition, massage the wiring harness while watching the test equipment for a change.

Shift Solenoid State Table

Gear

1-2 Shift Solenoid Valve

2-3 Shift Solenoid Valve

1st

ON

OFF

2nd

OFF

OFF

3rd

OFF

ON

4th

ON

ON


Object Number: 891253  Size: FP