GM Service Manual Online
For 1990-2009 cars only

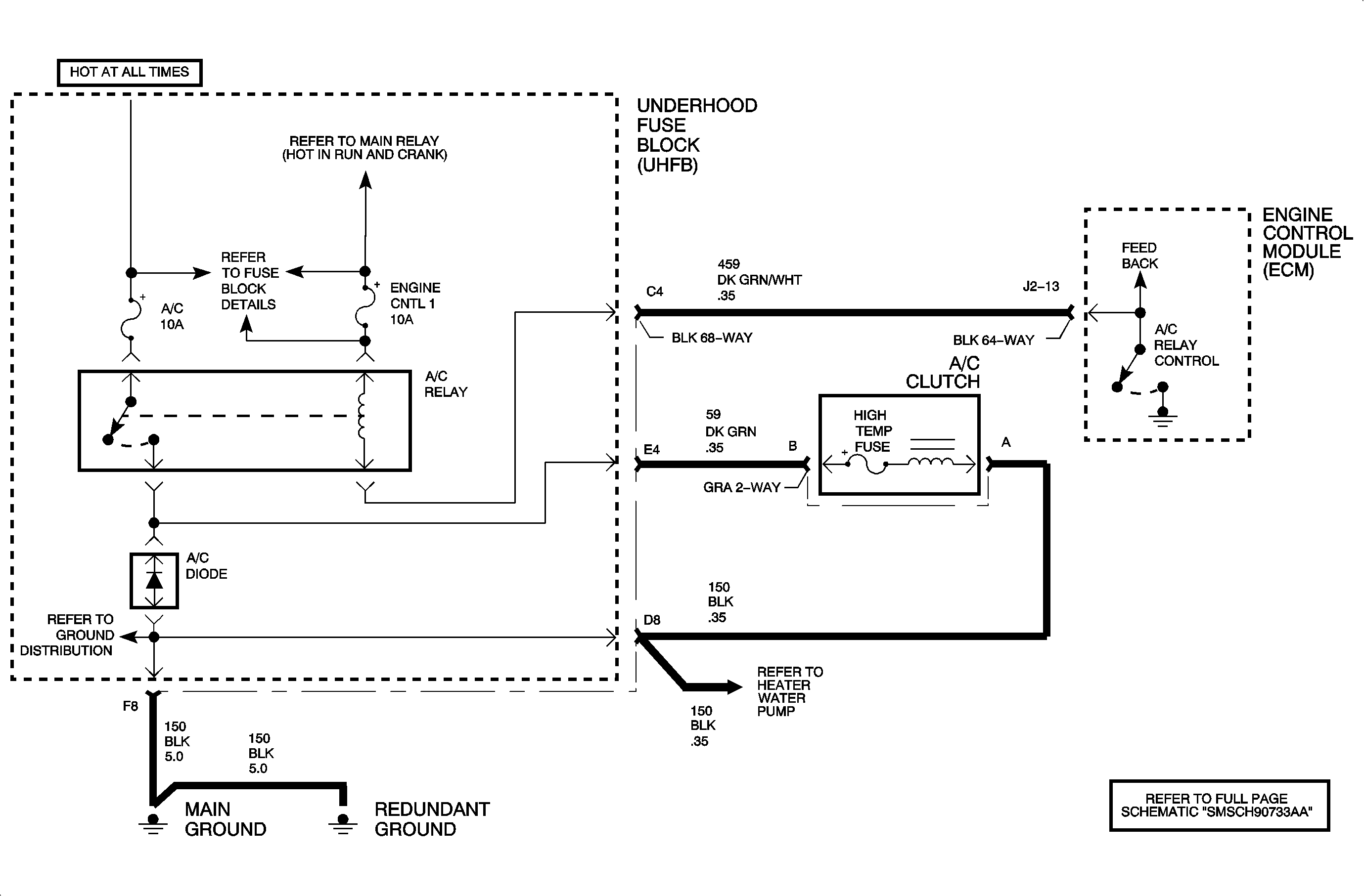
Object Number: 896255  Size: MF

Circuit Description

The A/C relay is located in the underhood fuse block (UHFB). The engine control module (ECM) controls the A/C compressor clutch by supplying a ground to the A/C relay coil whenever the ECM receives an A/C request over the controller area network (CAN) link from the body control module (BCM) with the A/C system pressure within operating range. When the A/C relay is commanded OFF, circuit not grounded, the voltage level at the ECM should be high, ignition voltage. When the A/C relay is commanded ON, circuit grounded, the voltage level at the ECM should be low. The ECM A/C relay feedback circuit uses a pull-up voltage, 2.6-4.6 volts, which allows the ECM to individually differentiate between an open, short to ground, or short to voltage. DTC P0645 will set if the ECM detects an open A/C relay control circuit when the A/C relay is commanded OFF with the engine cranking/running.

Conditions for Setting the DTC

DTC P0645 will set if the A/C relay feedback voltage is between 2.6-4.6 volts, ECM pull-up voltage indicating an open circuit when the A/C relay is commanded OFF when:

    • The condition exists for longer than 0.5 seconds.
    • The engine speed is greater than 40 RPM.
    • The battery voltage is between 7.5-15 volts.

DTC P0645 diagnostic runs continuously once the above conditions have been met.

DTC P0645 is a type D DTC.

Diagnostic Aids

Important: DTC P0645 LAST TEST on the scan tool will not update until a fault initially occurred in the ignition cycle.

To locate an intermittent problem, use the scan tool to monitor DTC P0645 LAST TEST with the engine running and the A/C button on the console OFF. Wiggling the wires while watching for a change from NOT RAN or PASSED to FAILED may locate the area where an open in the wiring may exist.

The A/C relay coil resistance is 70-115 ohms.


Object Number: 898275  Size: FP