GM Service Manual Online
For 1990-2009 cars only

DTC P1887 L61


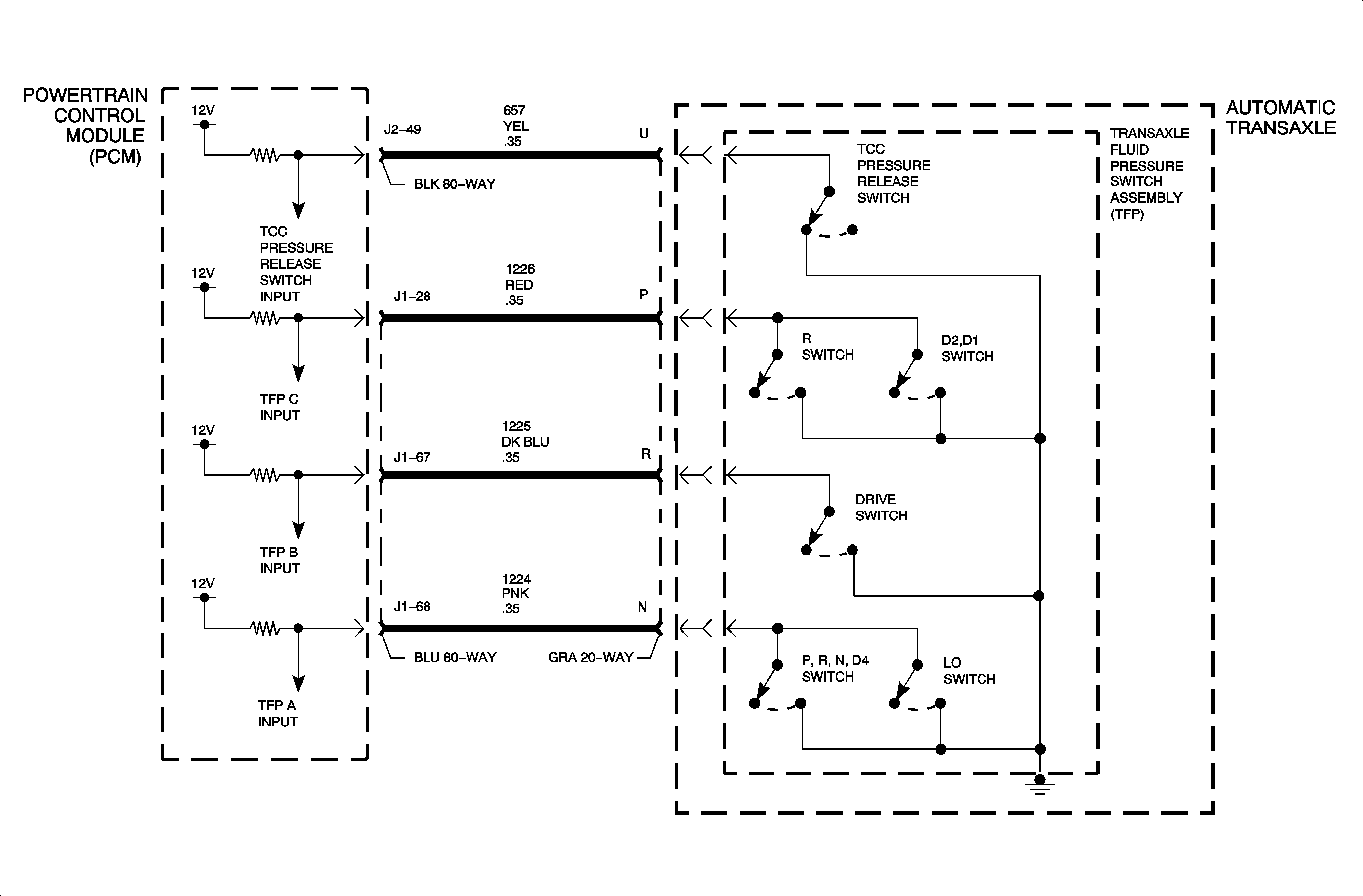
Object Number: 889663  Size: MF

Circuit Description

The torque converter clutch (TCC) pressure release switch is part of the transaxle fluid pressure (TFP) switch assembly. The FTP switch assembly is mounted to the transaxle valve body. The TCC pressure release switch is normally closed. The switch signals the PCM that the TCC is released. This is accomplished by torque converter release fluid pressure acting on the switch contact, thus opening the switch. When the voltage is high on the circuit, the PCM recognizes the TCC is no longer engaged. When the PCM determines the TCC release switch is open, indicating the TCC is not applied, and the TCC slip speed indicates the TCC is applied, then DTC P1887 sets.

DTC Parameters

DTC P1887 will set if the PCM detects an open in the TCC pressure release (TCC release fluid present) for 6 seconds twice in one ignition cycle when:

    • Engine is running
    • TFP range is Drive 4
    • TCC is commanded ON
    • TCC slip speed is -20 to +60 RPM
    • Engine torque is
       - MY 2002: 41-407 N·m (30-300 lb ft)
       - MY 2003: 41-237 N·m (30-175 lb ft)
    • DTC P0716, P0717, P0741, and P0742 have not set
    • MY 2003: DTC P1860 has not set

DTC P1887 diagnostic runs continuously.

DTC P1887 is a type B DTC.

Diagnostic Aids

Inspect the wiring at the PCM, transaxle connector, TFP valve position switch connector, and all other circuit connecting points for the following conditions:

    • A bent terminal
    • A backed out terminal
    • A damaged terminal
    • Poor terminal tension
    • A chafed wire
    • A broken wire inside the insulation
    • Moisture intrusion
    • Corrosion

When diagnosing for an intermittent short or open condition, massage the wiring harness while watching the test equipment for a change.


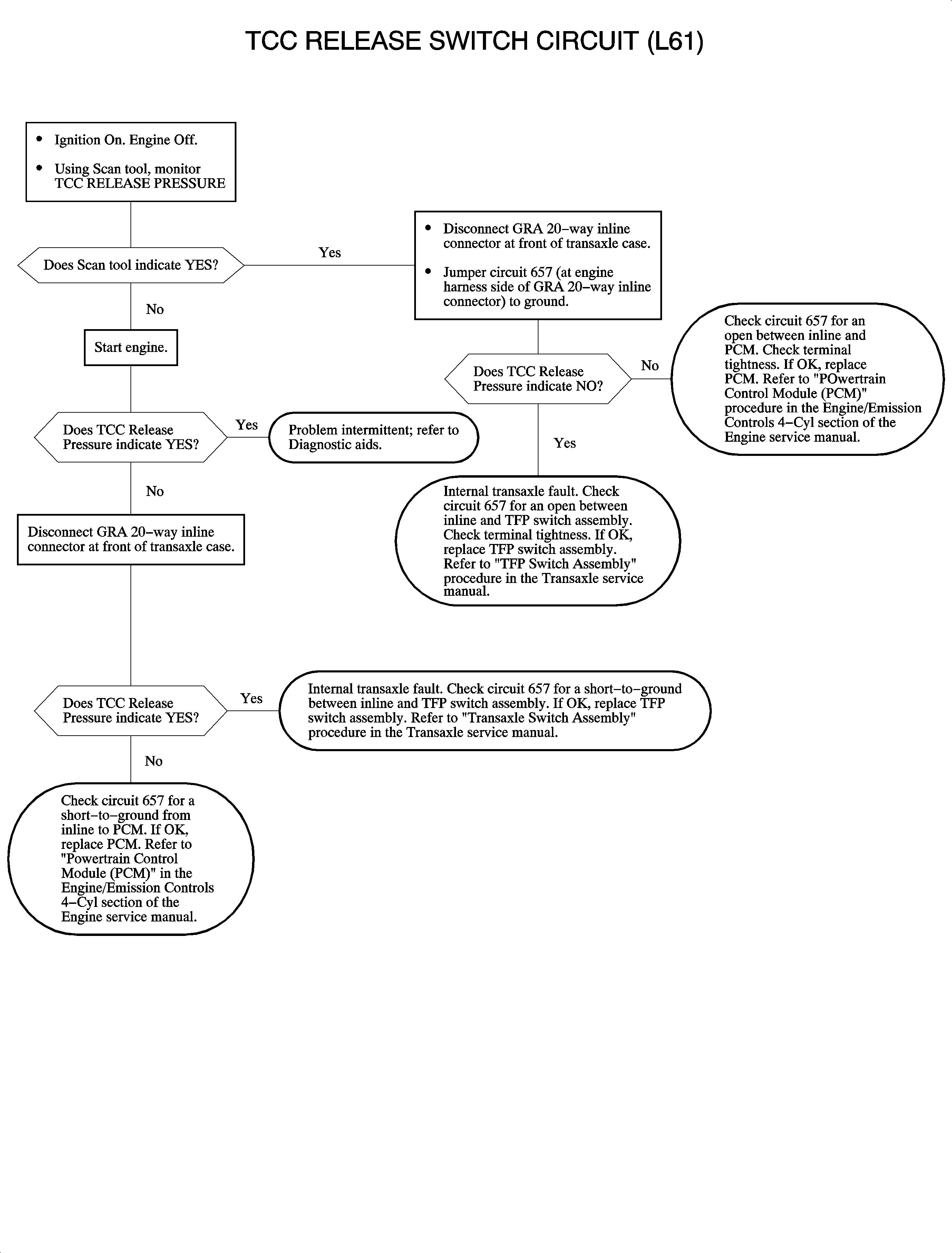
Object Number: 891358  Size: FP

DTC P1887 L81


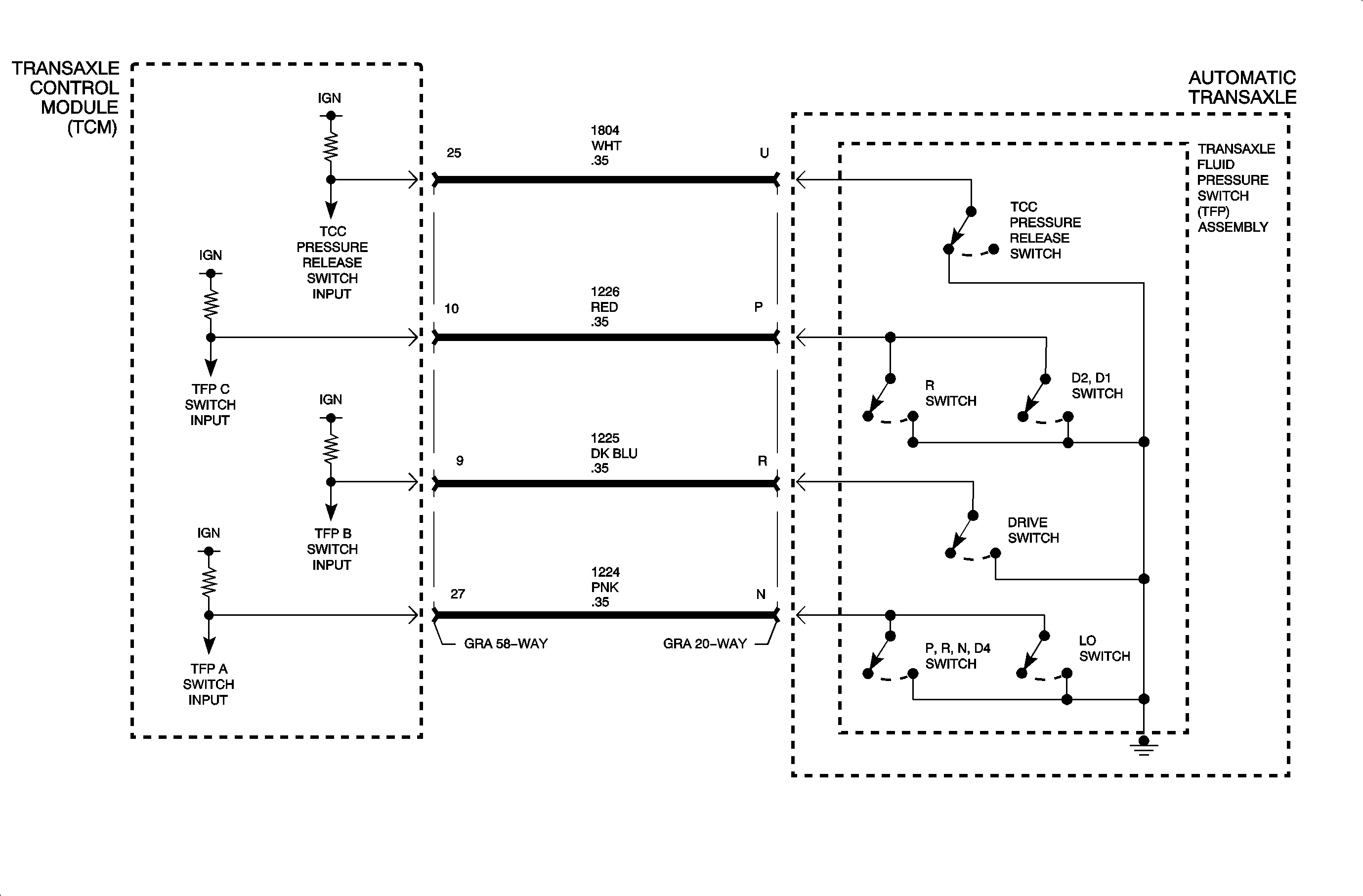
Object Number: 895646  Size: MF

Circuit Description

The torque converter clutch (TCC) pressure release switch is part of the transaxle fluid pressure (TFP) switch assembly. The TFP switch assembly is mounted to the transaxle control valve body. The TCC pressure release switch is normally closed. The switch signals the TCM that the TCC is released. This is accomplished by torque converter release fluid pressure acting on the switch contact, thus opening the switch. When the voltage is high on the circuit, the TCM recognizes the TCC is no longer engaged. When the TCM determines the TCC release switch is open (indicating the TCC is not applied) and the TCC slip speed indicates the TCC is applied, then DTC P1887 sets.

DTC Parameters

DTC P1887 will set if the TCM detects an open in the TCC pressure release (TCC release fluid present) for 6 seconds twice in one ignition cycle when:

    • Engine speed is:
       - MY 2002: 200-7,500 RPM for 5 seconds
       - MY 2003: 500-6,500 RPM for 5 seconds
    • TFP range is Drive 4
    • TCC is commanded ON
    • TCC slip speed is:
       - MY 2002: -20 to +40 RPM
       - MY 2003: -20 to +60 RPM
    • Transmission fluid temperature is 20-130°C (68-266°F)
    • Engine torque is:
       - MY 2002: 30-130 N·m (22-96 lb ft)
       - MY 2003: 40-130 N·m (30-96 lb ft)
    • MY 2002: Ignition 1 is 8-18 volts
    • DTC P0716, P0717, P0741, and P0742 have not set
    • MY 2003: DTC P1860 has not set

DTC P1887 diagnostic runs continuously.

DTC P1887 is a type B DTC.

Diagnostic Aids

Inspect the wiring at the TCM, transaxle connector, TFP valve position switch connector, and all other circuit connecting points for the following conditions:

    • A bent terminal
    • A backed out terminal
    • A damaged terminal
    • Poor terminal tension
    • A chafed wire
    • A broken wire inside the insulation
    • Moisture intrusion
    • Corrosion

When diagnosing for an intermittent short or open condition, massage the wiring harness while watching the test equipment for a change.


Object Number: 891363  Size: FP