GM Service Manual Online
For 1990-2009 cars only

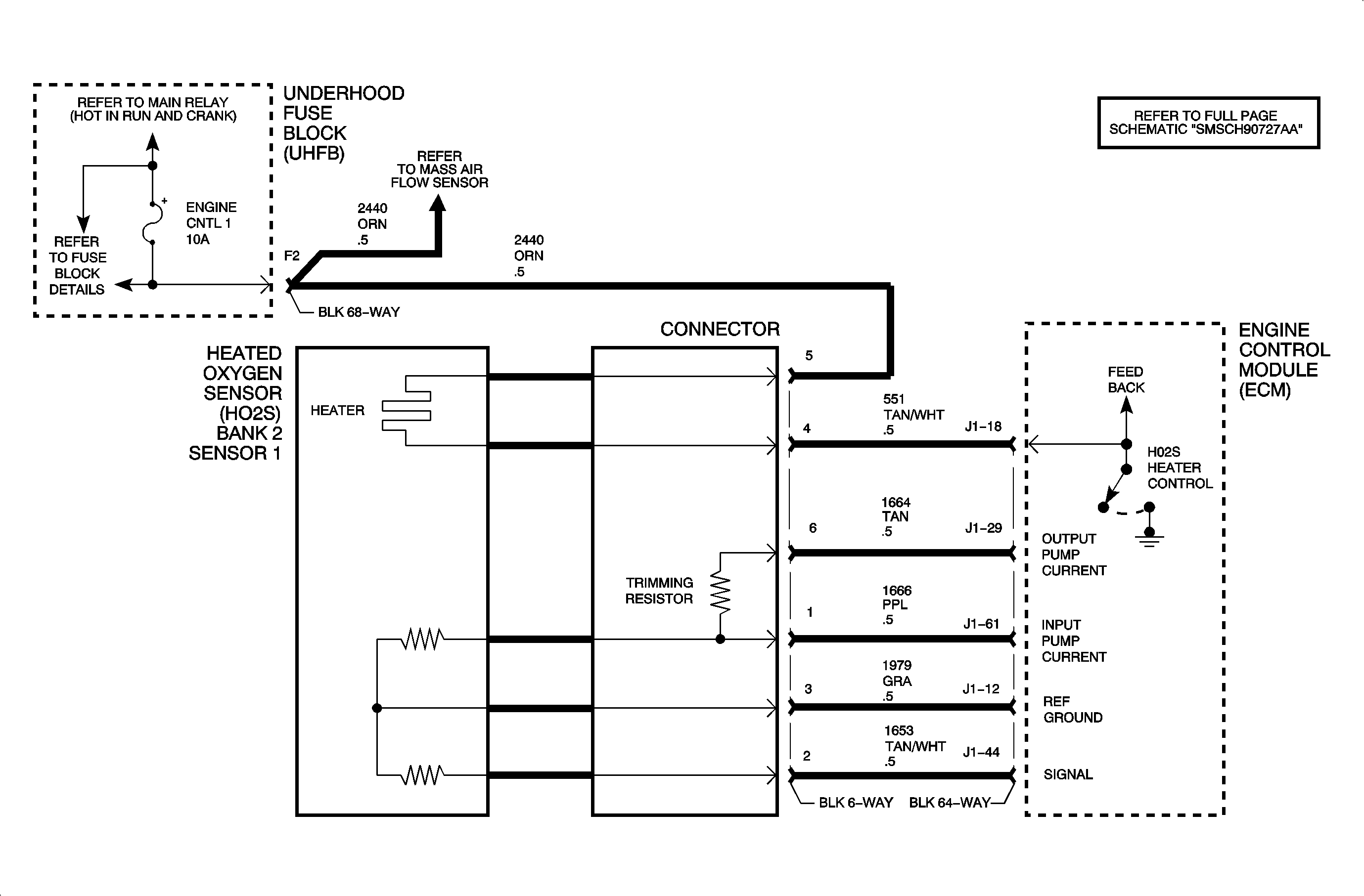
Object Number: 896228  Size: MF

The heated oxygen sensor (HO2S) bank 2 sensor 1 is threaded into the cylinder 2, 4, 6 exhaust manifold (cylinders 2, 4 and 6 are closest to the radiator). The sensor is equipped with a heater element to decrease the amount of time required to enter closed loop fuel control. The ECM controls the heater by pulsing circuit 551 to ground. When the heater is commanded Off (circuit not grounded), the voltage level at the ECM should be high (ignition voltage). When the heater is commanded On (circuit grounded), the voltage level at the ECM should be low. The ECM heater feedback circuit uses a pull-up voltage (1.6-3.6 volts), which allows the ECM to individually differentiate between an open, short to ground or short to voltage. DTC P0155 will set if the ECM detects that the HO2S bank 2 sensor 1 does not become active within a certain length of time of the exhaust temperature reaching a calibrated amount.

DTC Parameters

DTC P0155 will set if the HO2S bank 2 sensor 1 does not become active within 20 seconds when:

    • The calculated exhaust temperature reaches 550°C (1022°F).
    • The engine is running.
    • The battery voltage is between 11.0-15.0 volts.

DTC P0155 diagnostic runs continuously once the above conditions have been met.

P0155 is a type B DTC.

Diagnostic Aids

Important: If DTC P0050, P0051, P0052 or P0154 is also set, diagnose that DTC first. A heater or signal circuit fault may have caused DTC P0155 to set.

To locate an intermittent problem, use the scan tool to monitor the HO2S HEATER BN 2 SEN. 1 with the engine running. The voltage should fluctuate greater than 1 volt indicating the circuit is functioning correctly. Compare this parameter to HO2S HEATER BN 1 SEN. 1 parameter. Both parameters should closely match. The voltage will not change greater than 1 volt when a open circuit fault occurs.

Make sure no corrosion is present in the H02S bank 2 sensor 1 harness connector and that the terminals are contacting correctly. Replace the HO2S bank 2 sensor 1.

Heater element resistance: 2.4-9.2 ohms