GM Service Manual Online
For 1990-2009 cars only

Object Number: 895515  Size: MF

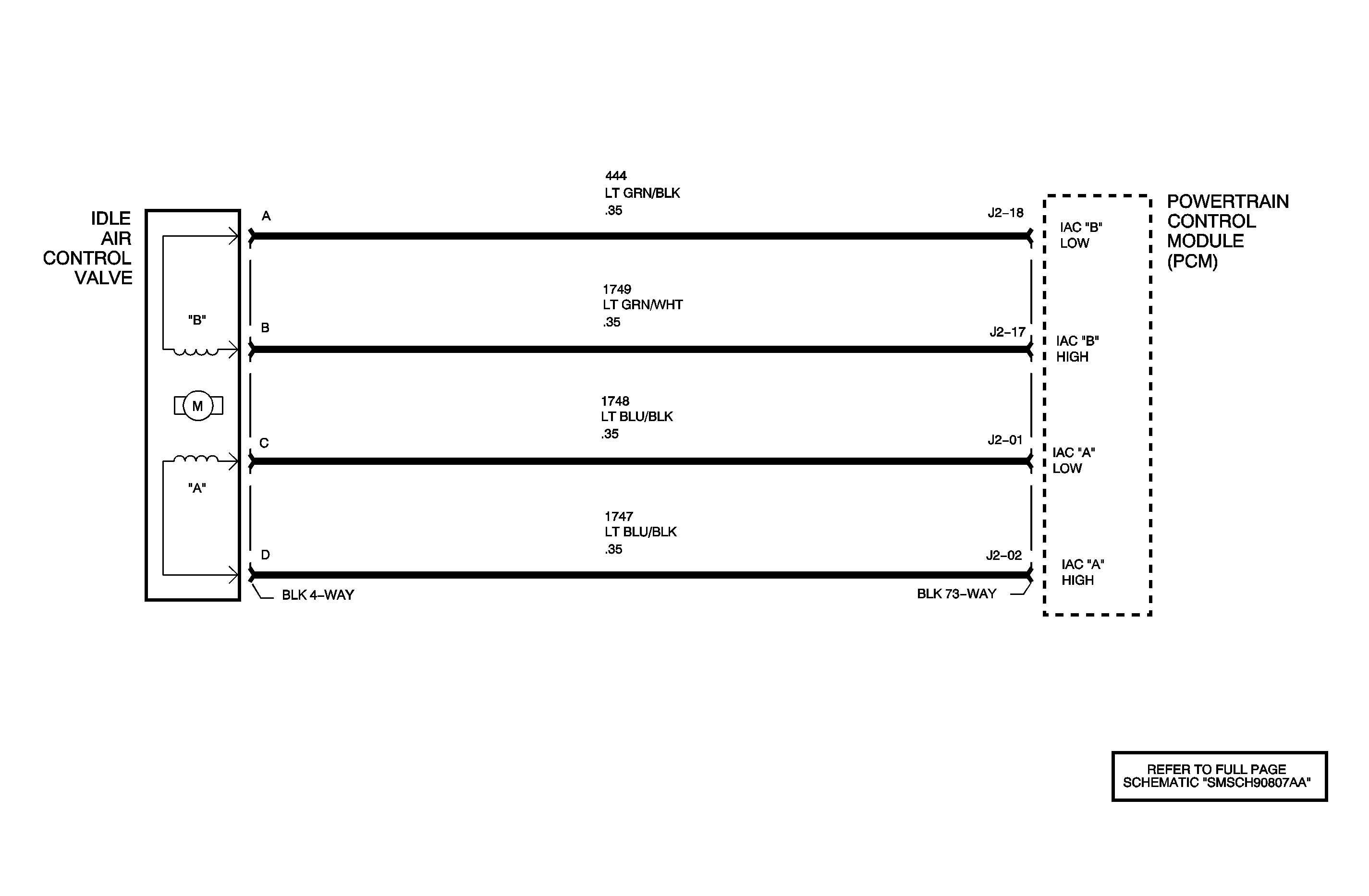
The idle speed is controlled by the PCM via an idle air control (IAC) valve. The IAC valve consists of a 2 coil stepper motor that moves a pintle valve in and out from the seat controlling the amount of by-pass air entering the intake manifold. The PCM controls the IAC valve by supplying ignition voltage or ground to any of the 4 circuits of coil "A" or coil "B". When 1 circuit of a coil is supplied ignition voltage, the other is supplied ground. Coil "A" and coil "B" are independent of each other, however both must be functional in order for the valve to move in and out correctly. The IAC position is measured in counts, which can be read on the scan tool. When the engine is turned OFF, the IAC valve is retracted as high as 145 counts allowing for maximum air during a restart. After the engine is started, the motor position command is based on ECT and TP sensor values. DTC P0506 sets when the actual engine speed is below the desired idle speed for a certain length of time.

DTC Parameters

DTC P0506 will set if actual engine speed is 100 RPM or more below the desired idle speed when:

    • The condition exists for longer than 19 seconds.
    • The IAC command is greater than 145 counts.
    • The engine run time is greater than 20 seconds.
    • The ECT is greater than 40°C (104°F).
    • The BARO is greater than 72 kPa.
    • The idle has stabilized for 5 seconds.
    • The ignition voltage is between 11.6-17 volts.
    • No CKP, ECT, EVAP, fan control 1, fuel injector, fuel tank pressure, fuel trim, IAT, MAP, misfire, HO2S-1, TP, or vehicle speed DTCs have been set.

DTC P0506 diagnostic runs continuously once the above conditions have been met.

DTC P0506 is a type B DTC.

Diagnostic Aids

To locate an intermittent problem, use the scan tool to command different idle speed RPMs (650-875). ENGINE SPEED should match the DESIRED IDLE SPEED within 100 RPM.

Inspect the throttle stop screw for signs of tampering and linkage for binding or wear.

Check for restricted intake or exhaust.

IAC terminal resistance:

    • A to B 30-60 ohms
    • C to D 30-60 ohms
    • All other combinations should be open.

Object Number: 898494  Size: FP