GM Service Manual Online
For 1990-2009 cars only

DTC P1640 Low Voltage

A/C Relay Control Circuit Low Voltage - Chart 1


Object Number: 895587  Size: MF

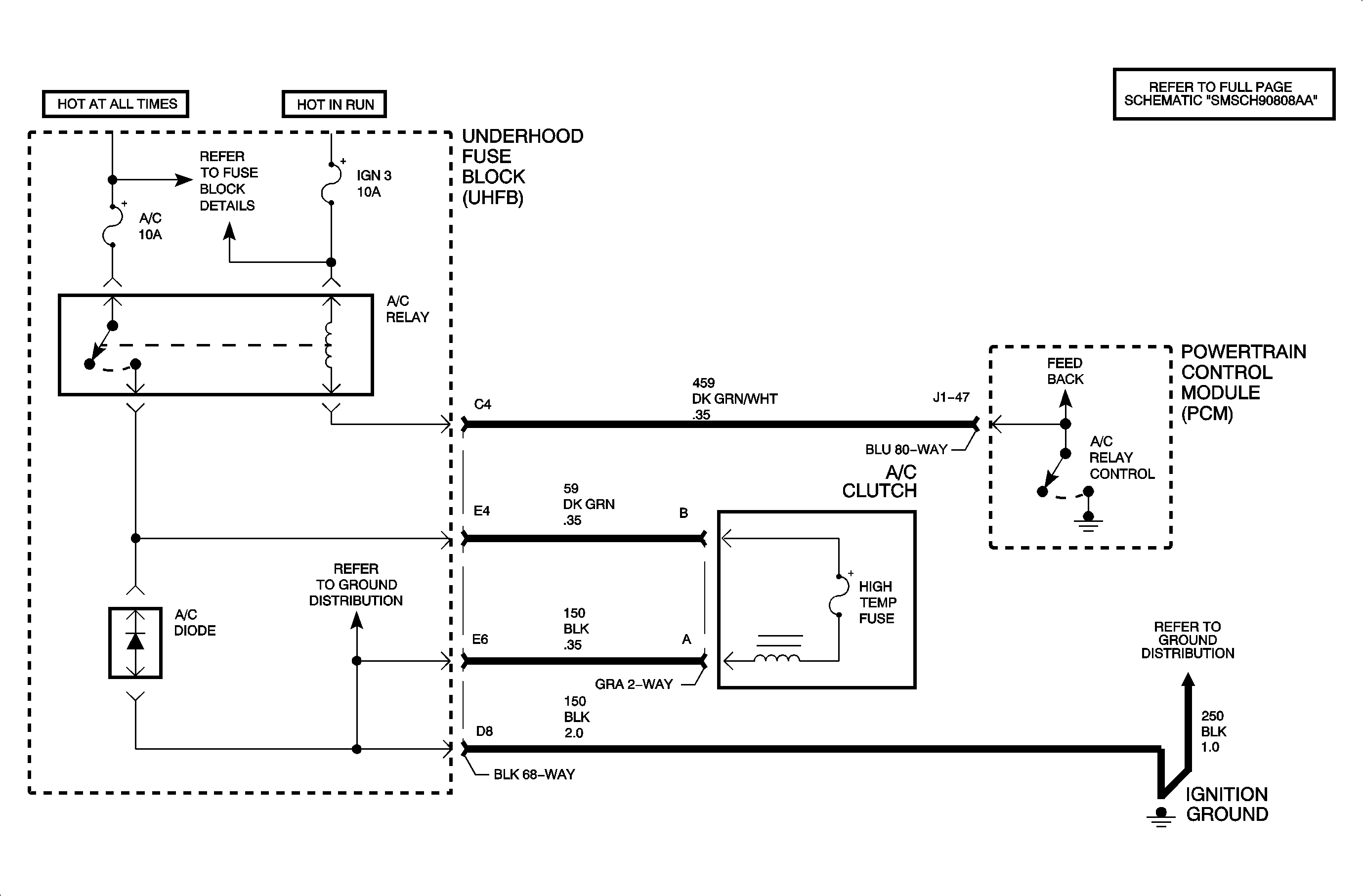
The PCM contains an output driver module (ODM) which controls the A/C relay coil circuit ground. The ODM monitors the feedback voltage level on circuit 459 at the PCM when the device is being commanded ON or OFF. When the device is commanded OFF (circuit not grounded), the voltage level at the PCM should be high (ignition voltage). When the device is commanded ON (circuit grounded), the voltage level at the PCM should be low. Chart 1 diagnoses a low circuit voltage fault in which the PCM detected lower than normal feedback voltage when the A/C relay was commanded OFF.

DTC Parameters

DTC P1640 will set if the A/C relay feedback voltage is less than 4 volts when the A/C relay is commanded OFF when:

    • The condition exists for longer than 6 seconds.
    • The engine is running.

DTC P1640 diagnostic runs continuously with the engine running.

DTC P1640 is a type C DTC.

Diagnostic Aids

To locate an intermittent problem, use the scan to monitor the A/C RELAY CKT OPEN SHORT TO GND with the ignition ON and the engine OFF. When a fault (open or short to ground) exists, the scan tool will display YES.

The A/C relay coil resistance is 70-115 ohms.


Object Number: 898527  Size: FP

DTC P1640 High Voltage

A/C Relay Control Circuit High Voltage - Chart 2


Object Number: 895587  Size: MF

The PCM contains an output driver module (ODM) which controls the A/C relay coil circuit ground. The ODM monitors the feedback voltage level on circuit 459 at the PCM when the device is being commanded ON or OFF. When the device is commanded OFF (circuit not grounded), the voltage level at the PCM should be high (ignition voltage). When the device is commanded ON (circuit grounded), the voltage level at the PCM should be low. Chart 2 diagnoses a high circuit voltage fault in which the PCM detected higher than normal feedback voltage when the A/C relay was commanded ON.

DTC Parameters

DTC P1640 will set if the A/C relay feedback voltage is greater than 3.5 volts when the A/C relay is commanded ON when:

    • The condition exists for longer than 6 seconds.
    • The engine is running.

DTC P1640 diagnostic runs continuously with engine running.

DTC P1640 is a type C DTC.

Diagnostic Aids

To locate an intermittent problem, use the scan to command the A/C RELAY ON while monitoring the A/C RELAY CKT SHORT TO VOLTS. When a fault (short to voltage or shorted solenoid) exists, the scan tool will display YES.

The A/C relay coil resistance is 70-115 ohms.


Object Number: 898415  Size: FP