GM Service Manual Online
For 1990-2009 cars only

Object Number: 899023  Size: MF

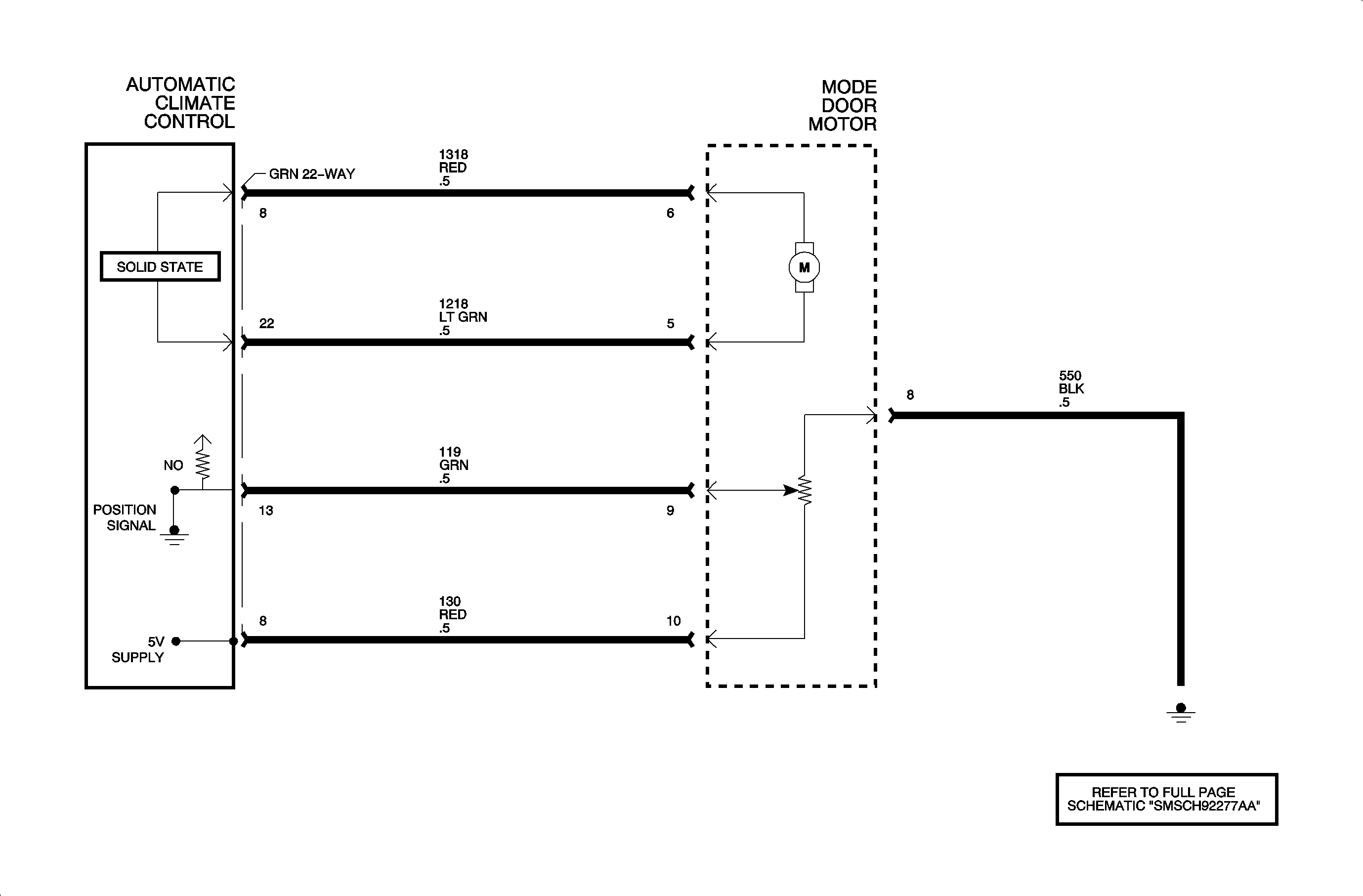
The mode actuator is an electronic device that incorporates a motor and feedback potentiometer. The HVAC control module controls the mode position by sending a control signal to the actuator. The signal value is dependent upon desired mode selected by the vehicle occupants. As the actuator moves, the potentiometer produces the actual door position signal that is sent to the HVAC control module. The HVAC control module continues to command the actuator to move until the desired and actual values are equal. The door directs airflow through the outlets as selected by the vehicle occupants.

DTC Parameters

    • The ignition is in the RUN position
    • RED 130 for short or open
    • GRN 119 for short or open
    • Open grounds BLK -- circuit 550

Diagnostic Aids

    • If a DTC is in history or there is an intermittent condition, perform the test shown by wiggling wiring and connectors. This will cause malfunction to appear.
    • Visually inspect actuator connector and harness for damage, corrosion or water intrusion.
    • Inspect connector halves for poor mating or terminal not fully seated in the connector body -- backed out.
    • Inspect for adequate terminal tension, mis-routed harness, rubbed-through wire insulation and broken wire inside the insulation.
    • Inspect for improperly formed or damaged terminals. All connector terminals in the related circuit should be carefully reformed or replaced to ensure proper contact tension.

DTC B0130


Object Number: 890668  Size: FP