GM Service Manual Online
For 1990-2009 cars only

Thread Repair Kit


Object Number: 896715  Size: SH

The Time Sert® thread repair process involves a solid bushing type insert. The insert is made of carbon and is self-locking. During the bushing installation process, the driver tool expands the bottom external threads of the insert into the base material. This action mechanically locks the insert in place. Also when installed to the proper depth, the flange of the insert will be seated against the counter-bore of the repaired hole.

Caution: Refer to Shop Practices Caution in the Preface section.

Important: The use of a cutting type fluid GM P/N 1052864, WD 40®, or equivalent is recommended when performing drilling, counter-boring, and tapping procedures.


Object Number: 896710  Size: SH

Driver oil must be used on installer driver tool.

The tool kits are designed for use with either a suitable tap wrench or drill motor.

  1. Drill out threads of damaged hole.
  2. • M6 inserts require a minimum drill depth of 15 mm (0.59 in).
    • M8 inserts require a minimum drill depth of 20 mm (0.79 in).
    • M10 inserts require a minimum drill depth of 23.5 mm (0.93 in).
  3. Using compressed air, clean out any chips.

  4. Object Number: 896620  Size: SH
  5. Counter-bore hole to full depth permitted by tool.
  6. Using compressed air, clean out any chips.

  7. Object Number: 896626  Size: SH
  8. Using a tap wrench, tap threads of drilled hole.
  9. • M6 inserts require a minimum tap depth of 15 mm (0.59 in).
    • M8 inserts require a minimum tap depth of 20 mm (0.79 in).
    • M10 inserts require a minimum tap depth of 23.5 mm (0.93 in).
  10. Using compressed air, clean out any chips.

  11. Spray cleaner GM P/N 12346139, P/N 12377981 or equivalent into holes.
  12. Using compressed air, clean any cutting oil and chips out of drilled hole.

  13. Object Number: 896716  Size: SH

    Important: Do not allow oil or other foreign material to contact outside diameter (OD) of insert.

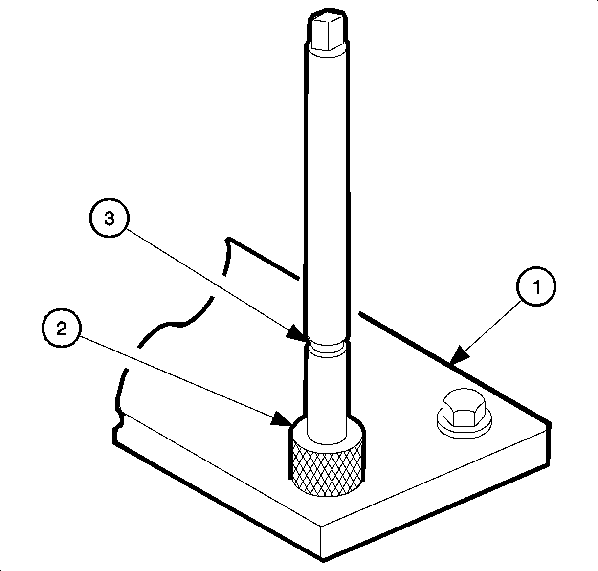
  14. Lubricate threads of installer tool with drive oil.

  15. Object Number: 896719  Size: SH
  16. Install insert onto installer tool.

  17. Object Number: 896717  Size: SH
  18. Apply High Strength Threadlock Red, J42385-109 or equivalent to insert OD threads.

  19. Object Number: 896714  Size: SH

    Important: Installer tool will tighten up before screwing completely through insert. This is acceptable. You are forming bottom threads of insert and mechanically locking insert to base material threads.

  20. Install insert into hole.
  21. 12.1. Install insert until flange of insert contacts counter-bored surface.
    12.2. Continue to rotate installer tool through insert.

    Object Number: 896715  Size: SH

    Important: A properly installed insert will be either flush or slightly below flush with surface of base material.

  22. Inspect insert for proper installation into hole.

Main Cap Bolt Hole Thread


    Object Number: 898720  Size: SH
  1. The main cap bolt thread repair kit consists of the following items:
  2. • Drill (1)
    • Tap (2)
    • Installer (3)
    • Fixture Plate (4)
    • Long Bolts (5)
    • Short Bolts (6)
    • Alignment Pin (7)
    • Bushing (8)

    Object Number: 898749  Size: SH
  3. Remove the alignment doll pins on holes 1-4 if necessary.

  4. Object Number: 898745  Size: SH
  5. Install fixture plate, bolt and bushing onto engine block.
  6. Position the fixture plate and bushing over the hole that is to be replaced.

  7. Position alignment pin in desired hole and tighten fixture retaining bolts.
  8. Drill out the damaged hole.
  9. Using compressed air, clean out any chips.

  10. Object Number: 898743  Size: SH
  11. Using a tap wrench, tap the threads of the drilled hole.
  12. In order to tap new threads to the proper depth, rotate the tap into the hole until the mark (3) on the tap aligns with the top of the bushing.

  13. Using compressed air, clean out any chips.
  14. Spray cleaner GM P/N 12346139 (or equivalent) into the hole.
  15. Using compressed air, clean any cutting oil and chips out of the hole.

  16. Object Number: 898727  Size: SH

    Important: Do not allow oil or other foreign material to contact the outside diameter (OD) of the insert.

  17. Lubricate the threads of the installer tool (2) with the driver oil (1).

  18. Object Number: 898737  Size: SH
  19. Install the insert (2) onto the driver tool (1).

  20. Object Number: 313572  Size: SH
  21. Apply High Strength Threadlocker® Red, J42385-109, (or equivalent) to the insert OD threads.

  22. Object Number: 898743  Size: SH

    Important: The fixture plate and bushing remains installed onto the engine block during the insert installation procedure.

  23. Install the insert and driver through the bushing (2), fixture plate (1) and into the hole.
  24. Rotate the driver tool until the mark on the tool (3) aligns with the top of the bushing (2).

    The installer tool will tighten up before screwing completely through the insert. This is acceptable. You are forming the bottom threads of the insert and mechanically locking the insert to the base material threads.

  25. Remove the driver, bushing (2), fixture plate (1) and bolts.

  26. Object Number: 898749  Size: SH
  27. Install the alignment doll pins in holes 1-4 if necessary.

Cylinder Head Bolt Hole


Object Number: 896627  Size: MH

The cylinder head bolt thread repair kit consists of the following items:

    • Drill (1)
    • Tap (2)
    • Installer (3)
    • Alignment Pin (4)
    • Bushing (5)
    • Bolts (6)
    • Fixture Plate (7)

Object Number: 896712  Size: SH

Caution: Refer to Shop Practices Caution in the Preface section.

Important: The use of a cutting type fluid GM P/N 1052864, WD 40® (or equivalent) is recommended when performing drilling, counter-boring, and tapping procedures.

Driver oil must be used on installer driver tool.

The tool kits are designed for use with either a suitable tap wrench or drill motor.

  1. Install fixture plate, bolts, and bushing onto engine block deck.
  2. Position fixture plate and bushing over hole that is to be repaired.

  3. Object Number: 896713  Size: SH
  4. Position alignment pin through bushing and into hole.
  5. With alignment pin in desired hole, tighten fixture retaining bolts.
  6. Remove alignment pin from hole.

  7. Object Number: 896631  Size: SH

    Important: During drilling process, it is necessary to repeatedly remove drill and clean chips from hole.

  8. Install drill sleeve onto the drill if required.
  9. Drill out threads of damaged hole.
  10. Using compressed air, clean out any chips.
  11. • M6 inserts require a minimum drill depth of 15 mm (0.59 in).
    • M8 inserts require a minimum drill depth of 20 mm (0.79 in).
    • M10 inserts require a minimum drill depth of 23.5 mm (0.93 in).

    Object Number: 896633  Size: SH
  12. Using tap wrench, tap threads of drilled hole.

  13. Object Number: 896624  Size: SH
  14. Tap new threads to proper depth by turning tap into hole until mark on tap aligns with top of drill bushing.
  15. Remove fixture plate, bushing, and bolts.
  16. Using compressed air, clean out any chips.
  17. Spray cleaner GM P/N 12346139, P/N 12377981 (or equivalent) into hole.
  18. Using compressed air, clean any cutting oil and chips out of hole.

  19. Object Number: 896716  Size: SH

    Important: Do not allow oil or other foreign material to contact outside diameter (OD) of insert.

  20. Lubricate threads of installer tool with driver oil.

  21. Object Number: 896719  Size: SH
  22. Install the insert (2) onto driver tool (1).

  23. Object Number: 896717  Size: SH
  24. Apply High Strength Threadlock Red, J42385-109 (or equivalent) to insert OD threads.

  25. Object Number: 896718  Size: SH
  26. Install insert and driver into hole.
  27. Important: Installer tool will tighten up before screwing completely through insert. This is acceptable. You are forming bottom threads of insert and mechanically locking insert to base material threads.

  28. Rotate driver tool until mark on tool aligns with deck surface of engine block.