GM Service Manual Online
For 1990-2009 cars only

Engine Oil

At the refinery, crude oil is separated by heating and distilling it into gases, light fuels, solvents, and lubricating-oil base stocks. After being further processed, the base stocks are selectively blended and fortified with additives to produce an engine oil with the desired properties.

Engine oil, then, is a sort of prescription. It contains different ingredients to do different things. Some of these things are done by the base oil, the rest by the additives.

What is Engine Oil Supposed to Do?

It Should Lubricate

That's its primary job, to provide a separating film between moving parts and thus control friction and wear.

It Should Cool

Engine oil is the principal coolant for the pistons, main bearings, rod bearings, and camshaft. As such, it removes up to 10 percent of the total heat load generated by the engine.

It Should Seal

The sealing function is to seal combustion pressures. Even though most pistons have 2 compression rings and an oil ring, high pressure gases, containing unburnt fuel combustion products and water, can still leak into the crankcase through ring gaps and microscopic valleys in the cylinder walls. This normal leakage is called "blowby". Oil is used to fill in the valleys and reduce that leakage.

However, oil can not be expected to seal the canyons in a badly worn engine. Nor can it effectively seal a brand new engine until the parts have seated themselves. That is why oil consumption is occasionally higher for the first few thousand miles during new vehicle operation.

It Should Keep the Engine Clean

Combustion contaminants and dirt in the oil are unavoidable, but such particles tend to clump. If clumping is allowed to take place, sludge and varnish may follow.

Good engine oils are designed to prevent the particles from clumping and hold them in suspension. When the oil is drained, the suspended particles come out with it.

It Should Make Starting Easier

This is strictly a cold weather requirement. When it's freezing outside, the oil should be thin enough to give the engine a fair chance of starting. Yet as the oil gets hot and thins out, it should not become so thin that it will not lubricate or seal properly. That is what multigrade oils are for. Some of them, and all those that Saturn recommends, are designed to work in almost any temperature range.

It Should Prevent Rust and Corrosion

Metal can actually rust or corrode in oil, if the oil contains water or acids from the combustion process. A well-formulated oil protects against rusting by putting a chemical film on the metal parts, shielding them from water. It protects against acid attack by neutralizing the acid.

Additives

Additives are chemicals that give fresh engine oil its custom-made properties. Although used in small amounts, they provide a tremendous boost to the performance abilities of the engine oil. They, in fact, represent the major difference between the oils of the early 1940's and the highly advanced prescription oils of today.

Most Commonly Used Additives

Anti-wear Agents

In highly loaded parts like camshafts and valve lifters, an oil film is usually squeezed so thin it breaks. This would mean damaging metal-to-metal contact. When the oil film breaks down, these agents react chemically with the metal surfaces and from a protective coating that reduces wear.

Detergent-Dispersants

Combustion contaminants and dirt particles in the oil tend to clump, which can lead to sludge and varnish deposits. Detergent-dispersants are the additives that not only keep the engine clean but also stop such particles from massing. They work by surrounding the particles, most of which are invisible, with a shell of molecules. This action causes the imprisoned particles to repel one another. It also makes them a part of the oil, like cream is part of homogenized milk. They can not settle out on engine parts or clog oil passages.

Oxidation Inhibitors

These are additives that allow oil to lubricate when it is hot.

Oxidation is a complex chemical reaction between oil molecules and oxygen. As the operating temperature of oil goes up, so does the oil's oxidation rate. And unless the oil is heavily enriched with additives to fight oxidation, all sorts of undesirable things could happen. The worst of these is that the oil gets thicker and thicker -- permanently.

Thus, a driver who waits too long between oil changes or uses low-quality oil and embarks on a cross-country trip during the summer may find the oil oxidized to a point so thick it will not drain out of the crankcase.

Rust and Corrosion Inhibitors

For every gallon of gasoline burned, about a gallon of water forms as steam. Most of the steam goes out the tailpipe. but some of it leaks as part of the blowby gases into the crankcase, where it becomes acidic. Water build-up in the oil increases with short-trip driving. If it were not for rust and corrosion inhibitors and regular oil changes, engines would wear because of that water.

V.I. Improvers

V.I. stands for viscosity index. Oils having a high viscosity index tend to thin out less when heated and thicken less when cooled. V.I. improvers are used to raise an oil's viscosity index for all-season operation. Without them there would not be multigrade oils.

Foam Inhibitors

Foam can result from air being whipped into the oil by moving engine parts, which could lead to oil loss, hydraulic valve lifter noise, and improper cooling and lubrication. Foam inhibitors weaken the surface tension of oil, which causes the air bubbles to break more readily.

Pour Point Depressants

The pour point of an oil is the lowest temperature at which the oil will flow. Below that temperature, wax crystals form, grow, and interconnect, then solidify or freeze the oil. Pour point depressants lower this freezing temperature by coating the wax crystals as they form, thereby checking crystal growth.

Friction Modifiers

These are the newest members of the family of additives in modern oils. They further reduce surface friction between moving parts. Friction modifiers, along with low viscosity, make "Energy Conserving" and similarly labeled oils possible. Such oils can increase a vehicle's fuel economy by several percent.

Oil Container Labels

The American Petroleum Institute (API) logo is a circle divided into 3 sections. The top half of the circle is the "API Service" section, which indicates the oil's degree of fuel efficiency. The center of the circle is the "Energy Conservation" section, which indicates the oil's degree of fuel efficiency. The center of the circle is the "Viscosity" section, which is used to indicate the viscosity of the oil. The oil container should have a "Starburst" label instead of the doughnut shaped symbol.


Object Number: 897499  Size: SH

Multi-Grade Oils

These oils make seasonal changing unnecessary. They contain viscosity-index improvers that enable each oil to exhibit suitable flow properties at both ends of the thermometer.

They have labels like SAE 5W-30, 10W-30, or 15W-40. Some may have labels like SAE 5W-10W-20W-30, in this case, just ignore the middle numbers and read the oil as SAE 5W-30.

Oil Can Save You Gas

Many factors are involved in determining the overall fuel economy obtained when driving a vehicle. One of the factors is the fuel efficiency of the engine oil being used.

In addition to being rated on the basis of their performance and viscosity, oils are rated on their ability to reduce the amount of fuel consumed during driving. Oils are rated against a reference oil in a standard engine test much like the ones described earlier in the Oil Performance Ratings section.

In this particular test, the fuel economy is measured and compared with that of a reference oil. If the tested oil provides at least 1.5 percent better economy than the reference oil, it is labeled "Energy Conserving II". These energy conserving designations are indicated on the lower half of the API logo to indicate fuel efficiency. Energy Conserving II oils should provide the best fuel efficiency, by the lease fuel efficient oils, ones that do not contain either designation.

Synthetic Oils

Compared with conventional motor oils, the synthetics involve different chemical processes and ingredient percentages. However, the base stock still comes from crude petroleum, and the additives are virtually the same as those commonly used.

From a performance standpoint, they work well, especially for engine start-up at very low temperatures. But, based on all the information, synthetic oils can not be left in an engine any longer than conventional oils. Extended use is the principal claim of synthetics. They can be used, but must have the right service category, viscosity grade, and fuel efficiency designation for the vehicle. The oil must be changed as specified in your owner's manual.

A second category, beginning with the letter C, also exists. These oils, CC, CD, CE, etc., are intended for diesels, like in trucks and bulldozers, and by themselves are not suitable for gasoline engines.

Viscosity

Viscosity is resistance to flow. Thick oils have a high resistance and, therefore, a high viscosity. Thin oils have a low resistance and, by the same token, a low viscosity.

A Society of Automotive Engineers (SAE) number that appears in the center of the API logo. The SAE number defines the viscosity grading of oils, both single-grade and multigrade.

Single-Grade Oils

"Single-grade" refers to oils whose labeled viscosity applies at one temperature only. In general, single-grade oils indicated their viscosity by a single number, for example SAE 10W or SAE30. The higher the number, the thicker the oil. The W, for winter, tells you that the labeled viscosity applies at a sub-freezing temperature. Other wise it applies at 100°C (212°F).

Most non-W oils thicken when the temperature drops, which makes cold-engine starting very difficult or downright impossible. Many W oils also thin out too much in warmer weather, which hurts their ability to lubricate and seal.

Oil Filter

The oil cap and filter screw directly to the oil filter housing which is casting the block. A bypass valve is installed in the cap under the oil filter and automatically opens when the filter has become too dirty. The oil then passes through the filter without the filter being crushed.

Lubrication System

The engine oil pump is located on the front of the engine and is driven by flats on the crankshaft. Oil is pulled from the oil pan into the gerotor pump. The pump forces oil under pressure to the oil filter. A regulator valve mounted in the front cover oil outlet regulates oil pressure and vents excess back to the inlet side of the oil pump.

Oil enters the filter and is routed through the main oil gallery in the engine cylinder block. The engine oil filter anti-drain back valve prevents oil from draining out of the engine's oil galleries when it is not running and the by-pass valve allows oil to by-pass or flow around the filter's paper element if it should become plugged.

Engine oil leaving the pump flows through the cylinder block main oil gallery and is pressure fed to the main and connecting rod bearings. Oil then flows to the cylinder head and lubricates the camshaft, hydraulic lifters, and rocker arms. Air is bled out when starting.

Mounted on the oil pump housing is the oil pressure sensor. When the oil pressure drops to low, the sensor grounds the electrical circuit for the warning lamp in the instrument cluster.

Oil Flow

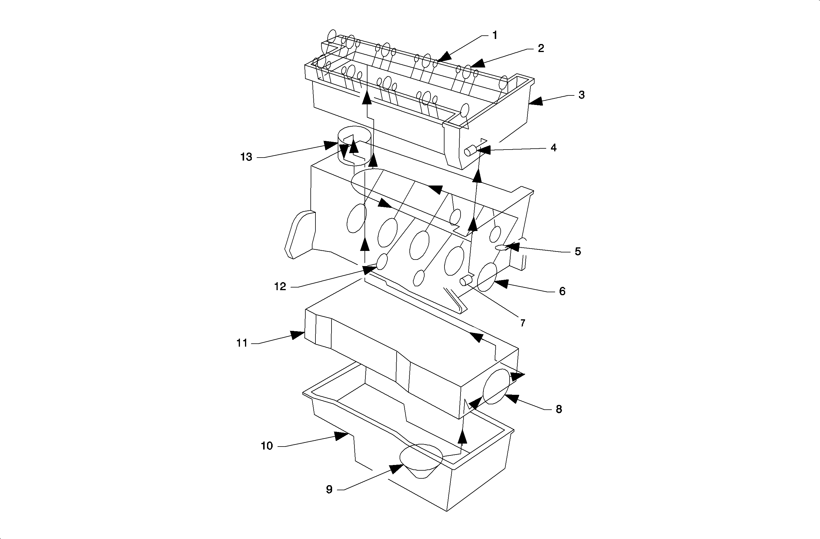
Lubrication System (Oil Flow)


Object Number: 895101  Size: MF
(1)Hydraulic Lifter
(2)Cam Bearing
(3)Cylinder Head
(4)Timing Chain Tensioner
(5)Cam Drive Chain Oil Nozzle
(6)Crankshaft Bearing
(7)Balance Shaft Chain Tensioner
(8)Oil Pump
(9)Oil Pick Up
(10)Oil Pan
(11)Bedplate
(12)Balance Shaft Bearings
(13)Oil Filter

Oil is applied under pressure to the crankshaft, connecting rods, balance shaft assembly, camshaft bearing surfaces, valve lifters, and timing chain hydraulic tensioner. All other moving parts are lubricated by gravity flow or splash. Oil enters the gerotor type oil pump through a fixed inlet screen. The oil pump is driven by the crankshaft. The oil pump body is within the engine front cover. The pressurized oil from the pump passes through the oil filter. The oil filter is located on the right front side of the engine block.

The oil filter is housed in a casting that is integrated with the engine block. The oil filter is a disposable cartridge type. A by-pass valve in the engine block allows continuous oil flow in case the oil filter should become restricted. Oil then enters the gallery when it is distributed to the balance shafts, crankshaft, and camshafts. The connecting rod bearings are oiled by constant oil flow passages through the crankshaft connecting the main journals to the rod journals. A groove around each main bearing furnishes oil to the drilled crankshaft passages.

An oil cooling hole, which indexes once each revolution with the connecting rod oil feed hole, is drilled in the connecting bearing surface. The pressurized oil passes through the oil flow check valve into the cylinder head and then into each camshaft feed gallery. Cast passages feed each hydraulic element adjuster and drilled passages feed each camshaft bearing surface. An engine oil pressure switch or sensor is installed at the end. Oil returns to the oil pan through passages cast into the cylinder head. The timing chain lubrication drains directly into the oil pan.