GM Service Manual Online
For 1990-2009 cars only

Tools Required

    • J 38122-A Crankshaft Pulley Holder
    • SA9805E Fuel Line Disconnect Set

Removal Procedure


    Object Number: 895191  Size: SH
  1. Disconnect the negative battery cable.
  2. Remove the intake manifold. Refer to Intake Manifold Replacement .

  3. Object Number: 892082  Size: SH
  4. Remove the exhaust manifold flange bolts.
  5. Remove the coolant reservoir cap.
  6. Raise the vehicle. Refer to Lifting and Jacking the Vehicle in General Information.
  7. Remove the exhaust manifold down pipe to catalytic convertor bolts.
  8. Disconnect the exhaust down pipe from the exhaust manifold flange studs and secure the exhaust pipe to the under-carriage.

  9. Object Number: 894529  Size: SH
  10. Drain the coolant at the radiator and at the water pump drain plug.
  11. Lower the vehicle.

  12. Object Number: 894302  Size: SH
  13. Relieve the fuel system pressure. Refer to Fuel Pressure Relief in Engine Controls-2.2L (L61).
  14. Remove the fuel line bracket bolts.
  15. Disconnect the fuel lines at the quick disconnects using the SA9805E .
  16. Secure the lines away from the engine.

  17. Object Number: 894180  Size: SH
  18. Disconnect the A/C pressure switch electrical connection.
  19. Remove the crankcase vent hose from the camshaft cover.
  20. Remove the coolant air bleed hose at the coolant reservoir and remove from the bracket.
  21. Disconnect the upper radiator hose at the cylinder head.

  22. Object Number: 895903  Size: SH
  23. Disconnect the electrical connections.
  24. 18.1. Ignition coil
    18.2. Knock sensor (connector only)
    18.3. Coolant temperature sensor
    18.4. Fuel injector harness
    18.5. Front O2 sensor
  25. Remove all of the engine harness bracket fasteners and secure the harness away from the engine.

  26. Object Number: 894939  Size: SH
  27. Remove the ignition coil.
  28. Remove the power steering pump and secure away from the engine. Do not remove the hydraulic lines.

  29. Object Number: 1013303  Size: SH
  30. Remove the camshaft cover ground strap.
  31. Remove the camshaft cover bolts and remove the cover.

  32. Object Number: 894944  Size: SH
  33. Remove the upper timing chain guide.

  34. Object Number: 894951  Size: SH

    Important: The timing chain tensioner must be removed to unload the chain tension before the timing chain is removed. If it is not, the timing chain may become misaligned and difficult to remove.

  35. Remove the upper timing chain tensioner.

  36. Object Number: 894965  Size: SH

    Important: Do not allow any load onto the timing chain upon loosening the camshaft sprocket bolts.

  37. Remove the camshaft sprocket bolts using a 24 mm open-end wrench to counter-hold the camshaft while loosening the bolts. Discard the bolts.
  38. Attach a medium size cable tie to the timing chain to prevent the chain from falling into the oil pan.
  39. Remove the camshaft sprockets.

  40. Object Number: 894968  Size: SH
  41. Remove the plug to gain access to the fixed timing chain guide bolt.

  42. Object Number: 894969  Size: SH
  43. Remove the fixed timing chain guide upper bolt only.

  44. Object Number: 895538  Size: SH
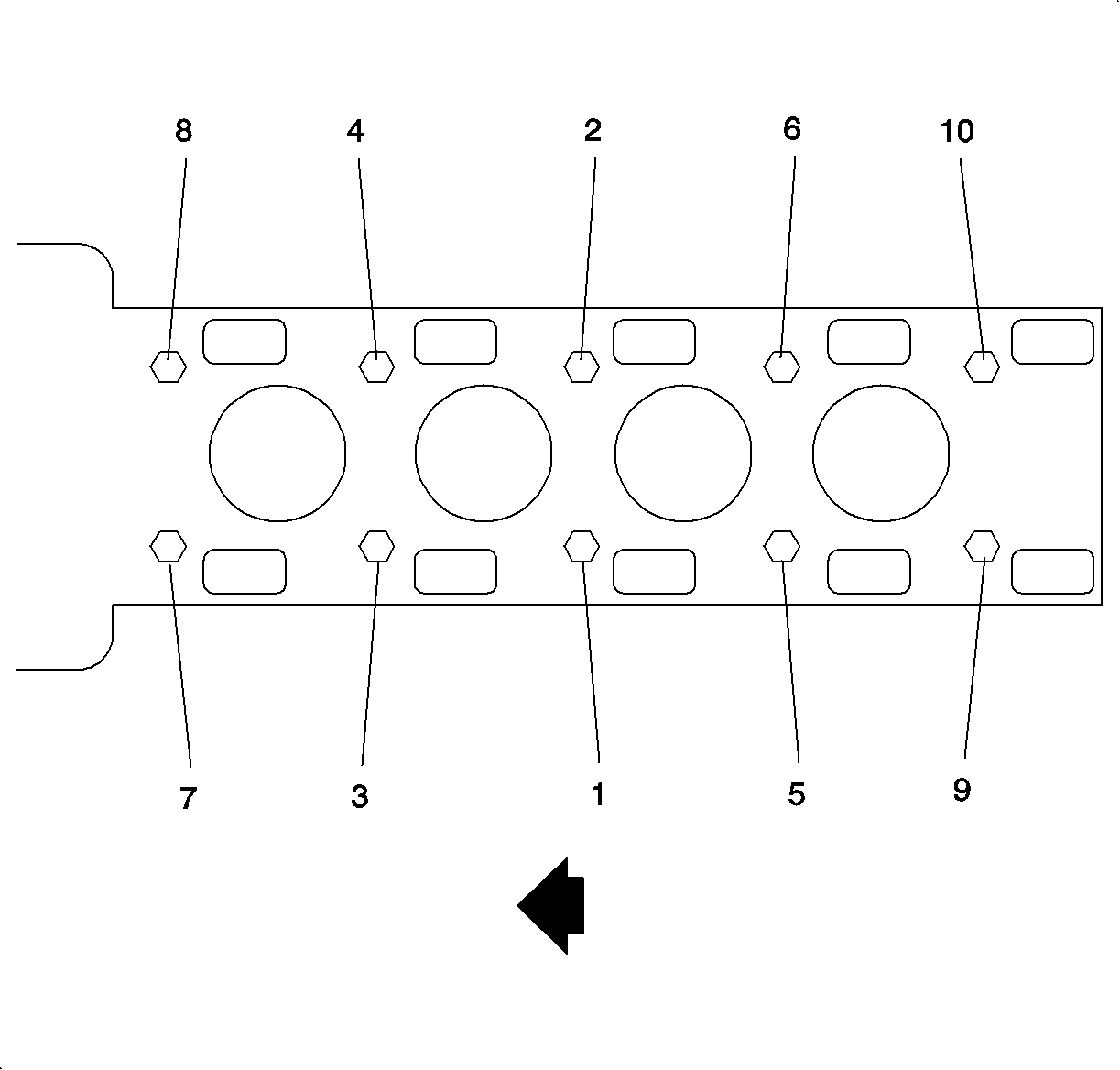
  45. Remove the cylinder head to block bolts using the loosening sequence.

  46. Object Number: 897477  Size: SH

    Notice: Be careful not to damage the aluminum the aluminum cylinder head and block gasket sealing surfaces when removing the cylinder head or during cleaning.

  47. Lift the cylinder head from the dowels on the engine block and place the cylinder head on wooden blocks or a bench. If the cylinder head is difficult to lift off, use a pry bar at the designated pry points.

  48. Object Number: 894225  Size: SH
  49. Raise the vehicle. Refer to Lifting and Jacking the Vehicle in General Information.
  50. Remove the right front wheel.
  51. Remove the lower splash shield.

  52. Object Number: 896375  Size: SH
  53. Remove the accessory drive belt.

  54. Object Number: 894941  Size: SH
  55. Remove the accessory drive belt tensioner.

  56. Object Number: 895194  Size: SH
  57. Remove the suction liquid A/C line retaining clips from underneath the right side frame rail and position the line away to allow clearance to the crankshaft pulley bolt.
  58. Position the crankshaft 60 degrees before top dead center (BTDC).
  59. Install the J 38122-A .

  60. Object Number: 895197  Size: SH

    Important: The crankshaft damper pulley bolt head and washer assembly prevents oil leakage at the center of the pulley. Do not damage the sealing surfaces. If the pulley cannot be removed by hand, use a three jaw puller.

    Important: Do not pry against the cover.

  61. Remove and discard the crankshaft damper pulley bolt.
  62. Remove the crankshaft pulley.

  63. Object Number: 895048  Size: SH
  64. Remove all front cover bolts except for the bolt that is blocked by the engine mount bracket.
  65. Loosen the water pump bolt. Do not remove at this time.
  66. Lower the vehicle.

  67. Object Number: 897479  Size: SH
  68. Support the engine weight with the floor jack under the oil pan.

  69. Object Number: 891691  Size: SH
  70. Remove the right-hand engine mount to bracket bolts.

  71. Object Number: 891719  Size: SH
  72. Remove the engine mount to body bolts.
  73. Remove the engine mount from the vehicle.

  74. Object Number: 891743  Size: SH
  75. Remove the engine mount bracket to engine bolts.
  76. Remove the bracket from the vehicle.

  77. Object Number: 895048  Size: SH
  78. Lower the engine.
  79. Remove the crankshaft damper pulley and discard the bolt.
  80. Remove the upper front cover bolt, behind the engine mount.
  81. Raise the engine just enough to remove the water pump bolt.
  82. Remove the front cover.

  83. Object Number: 894967  Size: SH
  84. Remove the adjustable timing chain guide.

  85. Object Number: 894969  Size: SH
  86. Remove the fixed timing chain guide, lower bolt.

Installation Procedure


    Object Number: 895036  Size: SH

    Notice: Set crankshaft to 60 degrees before top-dead center or after TDC to prevent valve to piston contact.

  1. Set the crankshaft to 60 degrees before or after top dead center (TDC).

  2. Object Number: 897477  Size: SH
  3. Install the head gasket placing OBEN facing the top.
  4. Important: Always use new cylinder head bolts.

  5. Install the cylinder head, aligning it on the dowels.
  6. Lightly apply clean engine oil to the threads and to the bottom side of the flange of the head bolts and allow the oil to drain before installing.

  7. Object Number: 895413  Size: SH
  8. Install and tighten the cylinder head bolts in sequence.
  9. Tighten
    Tighten the cylinder head bolts to 30 N·m (22 lb ft) plus 155 degrees.


    Object Number: 894993  Size: SH
  10. Coat the front cylinder head bolts with LOCTITE 242®.
  11. Install the front cylinder head bolts.
  12. Tighten
    Tighten the cylinder head front chain case bolts to 20 N·m (15 lb ft).


    Object Number: 897666  Size: SH
  13. Position the exhaust camshaft with the offset slot at the 2 o'clock position.
  14. Position the intake camshaft with the offset slot at the 11 o'clock position.

  15. Object Number: 895009  Size: SH
  16. Pull up the timing chain and install around the intake camshaft sprocket with the copper link lined up with the INT diamond timing mark.
  17. Install the sprocket onto the camshaft and align with the offset slot.
  18. Notice: The camshaft sprocket bolts are not reusable, it is a torque-to-yield (TTY) bolt, and must be discarded to prevent premature failure.

  19. Install the new camshaft sprocket bolt. Do not tighten.

  20. Object Number: 895036  Size: SH

    Important: There is a 2nd design adjustable guide with a contact pad for the 2nd design notched tensioner. A 2nd design guide should be used only with a 2nd design tensioner.

  21. Route the chain around the crankshaft sprockets and align the silver link to the timing mark.

  22. Object Number: 894967  Size: SH
  23. Install the adjustable timing chain guide through the opening on the top of the cylinder head and install the chain guide bolt.
  24. Tighten
    Tighten the timing chain adjustable guide bolt to 10 N·m (89 lb in).


    Object Number: 895039  Size: SH
  25. Route the timing chain around the exhaust camshaft sprocket with the silver link lined up with the offset slot.
  26. Install the sprocket onto the camshaft and align with the offset slot.
  27. Notice: The camshaft sprocket bolts are not reusable, it is a torque-to-yield (TTY) bolt, and must be discarded to prevent premature failure.

  28. Install the new camshaft sprocket bolt. Do not tighten.

  29. Object Number: 895042  Size: SH

    Notice: Use a 24 mm wrench to support the camshaft while applying torque to camshaft sprocket bolt. Do not torque camshaft bolts against timing chain, as it may damage the timing chain.

    Important: Ensure that all the timing marks and colored links are aligned properly before proceeding to the next step.

  30. Tighten the intake and exhaust camshaft sprocket bolts.
  31. Tighten
    Tighten the camshaft sprocket bolts to 85 N·m (63 lb ft) plus 30 degrees.


    Object Number: 894969  Size: SH
  32. Install the fixed guide and install the bolt.
  33. Tighten
    Tighten the timing chain fixed guide bolts to 10 N·m (89 lb in).


    Object Number: 894968  Size: SH
  34. Apply LOCTITE PST565 to plug the threads.
  35. Install the fixed timing chain guide bolt access hole plug.
  36. Tighten
    Tighten the timing chain guide bolt access hole plug to 40 N·m (30 lb ft).


    Object Number: 894951  Size: SH

    Important: There is a 2nd design tensioner with a notch at the plunger end of the tensioner. This tensioner should be used only with the 2nd design adjustable guide.

  37. Reset the timing chain tensioner by depressing the plunger.
  38. Install the sealing ring onto the tensioner and install.
  39. Tighten
    Tighten the timing chain tensioner bolts to 75 N·m (55 lb ft).

  40. Gently tap the top of the chain, between the camshaft sprockets, with your hand. This will engage the tensioner onto the adjustable chain guide.

  41. Object Number: 894944  Size: SH
  42. Install the upper timing chain guide and bolts.
  43. Tighten
    Tighten the timing chain upper guide bolts to 10 N·m (89 lb in).


    Object Number: 895054  Size: SH

    Important: Ensure that all of the timing marks and colored links are aligned properly before proceeding to the next step.

  44. Install the front cover gasket and the front cover.
  45. Install the front cover bolts.
  46. Tighten
    Tighten the front cover-to-block bolts to 25 N·m (18 lb ft).


    Object Number: 895048  Size: SH
  47. Install the water pump bolt.
  48. Tighten
    Tighten the water pump bolts to 25 N·m (18 lb ft).


    Object Number: 894941  Size: SH
  49. Install the drive belt tensioner and belt.
  50. Tighten
    Tighten the drive belt tensioner bolt to 45 N·m (33 lb ft).


    Object Number: 891743  Size: SH
  51. Install the engine mount bracket onto the engine and install the bolts.
  52. Tighten
    Tighten the engine mount bracket-to-engine bolts 90 N·m (66 lb ft).


    Object Number: 891719  Size: SH
  53. Install the engine mount assembly-to-side rail and install the fasteners.
  54. Tighten
    Tighten the engine mount-to-body bolts to 55 N·m (41 lb ft).


    Object Number: 891691  Size: SH
  55. Lower the engine and align the engine mount bolts.
  56. Install the engine mount bolts-to-bracket bolts.
  57. Tighten
    Tighten the engine mount-to-engine mount bracket bolts to 55 N·m (41 lb ft).

  58. Remove the floor jack.

  59. Object Number: 895197  Size: SH
  60. Raise the vehicle.
  61. Notice: Misalignment of the keyway may cause damage to the oil pump.

  62. Install the crankshaft damper.
  63. Lubricate the front oil seal and the seal surface of the crankshaft balancer with an engine oil supplement.
  64. Install the damper onto the crankshaft indexing keyway. Use care to properly align the keyway and flats on the damper with the oil pump drive.

  65. Object Number: 895194  Size: SH

    Important: It may be necessary to lower the engine slightly with a crow bar so that the bolt-head clears the frame rail.

  66. Install the new crankshaft damper pulley bolt.
  67. Tighten
    Tighten the crankshaft damper pulley bolt to 100 N·m (74 lb ft) plus 75 degrees.


    Object Number: 896375  Size: SH
  68. Install the drive belt.

  69. Object Number: 894225  Size: SH
  70. Install the A/C line clamps.
  71. Install the right wheel splash shield.

  72. Object Number: 891537  Size: SH
  73. Install the tire/wheel.
  74. 43.1. Hand tighten all 5 wheel bolts.
    43.2. Use a torque wrench to initial tighten wheel bolts using a crisscross pattern.

    Tighten
    Tighten the wheel bolts (initial torque) to 63 N·m (46 lb ft).

    43.3. Use a torque wrench to final tighten wheel bolts using a crisscross pattern.

    Tighten
    Tighten the wheel bolts (final torque) to 125 N·m (92 lb ft).

  75. Install the wheel cover.

  76. Object Number: 1013303  Size: SH
  77. Lower the vehicle.
  78. Install the camshaft cover. Ensure that the camshaft cover seals are properly seated in the cover.
  79. Install the cover bolts and ground strap nut.
  80. Tighten
    Tighten the camshaft cover bolts to 10 N·m (89 lb in).


    Object Number: 891795  Size: SH
  81. Install the power steering pump.
  82. Tighten
    Tighten the power steering pump bolts to 25 N·m (18 lb ft).


    Object Number: 895073  Size: SH
  83. Install the spark plugs.
  84. Tighten
    Tighten the spark plugs to 20 N·m (15 lb ft).


    Object Number: 894939  Size: SH
  85. Install the ignition coil and module assembly to the camshaft cover.
  86. Tighten
    Tighten the ignition coil-to-camshaft cover bolts to 8 N·m (71 lb in).


    Object Number: 895191  Size: SH
  87. Install the intake manifold onto the intake manifold. The gasket may be reused if not damaged.
  88. Install the intake manifold.
  89. Install the intake manifold bolts and nuts. Tighten by starting from the center bolt and working outward.
  90. Tighten

        • Tighten the intake manifold-to-cylinder head bolts to 10 N·m (89 lb in).
        • Tighten the manifold-to-cylinder head nuts to 10 N·m (89 lb in).

    Object Number: 894937  Size: SH
  91. Attach the wiring harness to the brackets located under the intake manifold.
  92. Install the oil indicator tube assembly.
  93. Tighten
    Tighten the oil level indicator tube-to-intake manifold bolt to 10 N·m (89 lb in).


    Object Number: 895188  Size: SH
  94. Install the throttle body. The gasket may be reused if not damaged.
  95. Install the throttle body mounting bolts and nuts. Install the throttle cable.
  96. Tighten

        • Tighten the throttle body bolts to 10 N·m (89 lb in).
        • Tighten the throttle body nuts to 10 N·m (89 lb in).
  97. Position the engine harness and install the fasteners.
  98. Tighten
    Tighten the engine harness bracket bolts to 10 N·m (89 lb in).

  99. Connect the electrical connections.
  100. Install the camshaft cover ground strap.
  101. Tighten
    Tighten the camshaft cover ground strap fastener to 10 N·m (89 lb in).


    Object Number: 893755  Size: SH
  102. Attach the cylinder head degas hose onto the coolant reservoir and attach to the harness retainers.
  103. Tighten
    Tighten the degas hose bracket bolts to 10 N·m (89 lb in).

  104. Attach the hoses.
  105. 62.1. Upper radiator hose
    62.2. Crankcase ventilation hose
    62.3. Fuel pressure regulator hose
    62.4. Brake booster hose
    62.5. EVAP purge hose

    Notice: Replace plastic fuel retainer whenever the fuel supply is disconnected at the fuel rail. Install the new retainer into the female cavity of the connection. Care must be taken to assure that the locking tab is centered in the window of the female cavity. Firmly press the female connection onto the male end until a click is heard, then pull back to confirm engagement. Pinched, kinked, or damaged fuel lines must be replaced.

  106. Install the fuel lines. Ensure that the lines are routed correctly.
  107. Clip the lines into place and install the fuel line bracket and bolt.
  108. Tighten
    Tighten the fuel line bolt to 10 N·m (89 lb in).


    Object Number: 892082  Size: SH
  109. Install the exhaust flange onto the exhaust flange.
  110. Raise the vehicle. Refer to Lifting and Jacking the Vehicle in General Information.
  111. Position the manifold down pipe onto the flange studs.
  112. Install the flange nuts.
  113. Tighten
    Tighten the exhaust manifold pipe-to-exhaust manifold nuts to 30 N·m (22 lb ft).


    Object Number: 892067  Size: SH
  114. Install the exhaust down pipe to the resonator bolts.
  115. Tighten
    Tighten the exhaust manifold pipe-to-resonator bolts to 20 N·m (15 lb ft).

  116. Drain the oil.
  117. Tighten
    Tighten the oil drain plug to 25 N·m (18 lb ft).


    Object Number: 895179  Size: SH
  118. Lower the vehicle.
  119. Install the exhaust manifold heat shield and install the bolts.
  120. Tighten
    Tighten the exhaust manifold heat shield bolts to 25 N·m (18 lb ft).


    Object Number: 896381  Size: SH
  121. Install the air cleaner and inlet tube assembly.

  122. Object Number: 895573  Size: SH
  123. Add engine oil.
  124. Check the level and install the oil cap.

  125. Object Number: 894527  Size: SH
  126. Fill the coolant tank.
  127. 76.1. Add 50/50 DEX-COOL® and water.

    Specifications

        • The auto trans volume equals 6.9 quarts.
        • The manual trans volume equals 7 quarts.
    76.2. Install the coolant surge cap.
  128. Connect the battery cable.
  129. Notice: After cylinder block, head, or lifter replacement, it will be necessary to allow the engine to idle for 3-5 minutes. If the lifters are noisy, warm the engine up at less than 200 RPM. After the coolant temperature has reached approximately 85°C (185°F), cycle the engine RPM from idle to 300 RPM for approximately 10 minutes or drive the vehicle 8 kilometers (5 miles) to purge the air. If the air cannot be purged, the faulty lifters will have to be replaced.

  130. Start the vehicle and inspect for leaks.