GM Service Manual Online
For 1990-2009 cars only

Fuel Supply System

All new Saturn vehicles are certified by the United States Environmental Protection Agency (EPA) as conforming to the requirements of the regulations for the control of air pollution from new motor vehicles. This certification is contingent on certain adjustments being set to factory standards. In most cases, these adjustment points have been either permanently sealed and/or made inaccessible to prevent indiscriminate or routine adjustments in the field. For this reason, the factory procedure for temporarily removing plugs, caps, etc., for purposes of servicing the product must be strictly followed and, wherever practical, returned to the original intent of this design.

The Saturn fuel system is made up of the components involved in the dispensing, storage, and delivery of gasoline to the engine. It is made up of the following components:

    • Fuel filler cap (1)
    • Fuel filler pipe (2)
    • Fuel tank (3)
    • Fuel pump module (4)
    • Fuel filter/pressure regulator (5)
    • Fuel lines (6)

Object Number: 876267  Size: FP

Fuel Cap

The fuel cap seals the inlet end of the fuel filler pipe and prevents the escape of fuel liquid and vapor. It is tethered to the fuel door on the vehicle body to prevent loss. The cap requires a 1/4 turn (plus an additional 1/4 turn to activate at least 3 clicks of the ratcheting top feature) to engage the filler pipe neck during installation.

The cap also incorporates a spring-loaded, free-spin feature (about 150 degrees) noted during removal.

The cap is vented to the atmosphere in both the positive and negative (vacuum) pressure modes to prevent build-up of excessive pressure in the system. The cap is designed to vent at a positive pressure of about 2 psi (60 in H2O) and negative pressure (vacuum) of about 1 psi (26 in H2O).

Fuel Filler Pipe


Object Number: 871640  Size: SH

The fuel filler pipe is of coaxial construction and consists of a central, fuel delivery tube inside of the molded, high density polyethylene outer pipe. The space between the outer pipe and inner tube is used to carry fuel vapors and control their entry back into the tank during the refueling process. Refer to "Theory of Operation - Fuel Filling and ORVR" in this section for discussion.

Fuel Tank

The fuel tank is blow-molded of high-density polyethylene. This material is multi-layer in construction to enhance its ability to minimize leakage of fuel vapors to the atmosphere (impermeability). It is generally 4-5 mm (0.16-0.2 in) thick and incorporates 2 valves which operate during the refueling process.

Both of these valves are not serviceable. One is molded into the fuel tank shell -- fill limit vent valve (FLW), and the other is part of the fuel pump module (grade vent valve).

    • FLVV -- Located on the top, rear surface of the fuel tank, next to the fuel pump module
        This is a buoyant float type valve which controls the flow of fuel vapor into the EVAP canister during refueling. The operation of the valve controls fuel tank capacity during the refueling process. Refer to "Theory of Operation - Fuel Filling and ORVR". The valve also prevents liquid fuel from escaping if the vehicle is involved in a roll-over accident.
    • Grade Vent Valve -- Located at the upper end of fuel pump module on the fuel line that routes fuel vapor
        This valve function is to provide a vent path for fuel vapors when the tank is full. It also prevents liquid fuel from escaping the fuel tank under one of the following conditions:
      • The vehicle is operated or parked on an incline.
      • The vehicle is involved in a roll-over accident.

Fuel Pump Module

The fuel pump module is sealed to the fuel tank with a retaining ring and O-ring seal. The module consists of the following components:

    • Housing and reservoir
    • Pump
    • Fuel level sender
    • Fuel and vapor lines

The fuel pump module components are explained below:

    • Housing and reservoir - The pump module housing provides the connections for the fuel lines (feed and return) and vapor line, electrical connector, and grade vent. Refer to Grade Vent Valve under Fuel Tank. The module housing contains the pump and provides a mount for the fuel level sender. This housing is a reservoir for fuel that prevents fuel starvation during aggressive maneuvers when the fuel level is low. It is constantly filled by the return flow of fuel. A valve just above the inlet filter directs fuel to the pump from either the reservoir or the tank, dependent on which has the higher fuel level.
        Fuel is filtered before entering the pump by the following:
       - A 2-stage mesh filter (sock) attached to the bottom of the housing at the pump inlet
       - A single-stage mesh filter for the return fuel located within the housing.
       - Neither of these filters is serviced. Problems with these filters (low pressure and/or low fuel flow) indicate a contaminated fuel tank; the tank should be thoroughly cleaned and the pump replaced.
       - The pump module and housing is spring-loaded to always extend to the bottom of the fuel tank. This insures that all the available fuel in the tank can be consumed.
    • The fuel pump is a single stage, turbine style, 12-volt unit controlled by the powertrain control module (PCM). The PCM supplies a 12-volt feed to a relay in the IPJB. This relay controls a 12-volt supply to the fuel pump.

The fuel pump will only operate with the ignition On and the engine running or cranking. With the ignition on, the pump relay is only energized for 2-3 seconds and will be disabled if the PCM does not see reference pulses from the crank position sensor. To re-initialize the pump, the ignition must be turned Off for at least 10 seconds

The pump is capable of delivering over 2 L (2.1 qt) of fuel per minute but is required to supply less than 1 L (1.1 qt) per minute to meet engine demands.

The pump incorporates 2 check valves to control system pressures. The outlet check valve maintains fuel system pressure after the ignition is turned OFF to insure quick starts. A pressure relief valve protects the fuel system from damage as a result of excessive pressure.

    • The fuel level sender is a variable resistor that is read by the PCM. The PCM reads the resistance and controls the fuel level gauge in response to the float movements of the sender.
        The level sender is mounted on the module housing and is a snap-lock attachment. The sender and the float are serviced as a unit.
    • The fuel and vapor lines from the pump module are multi-layer nylon construction. They are molded to shape to provide the desired routing and are not serviceable or repairable. If they are damaged, kinked, or crimped, the entire pump module must be replaced.

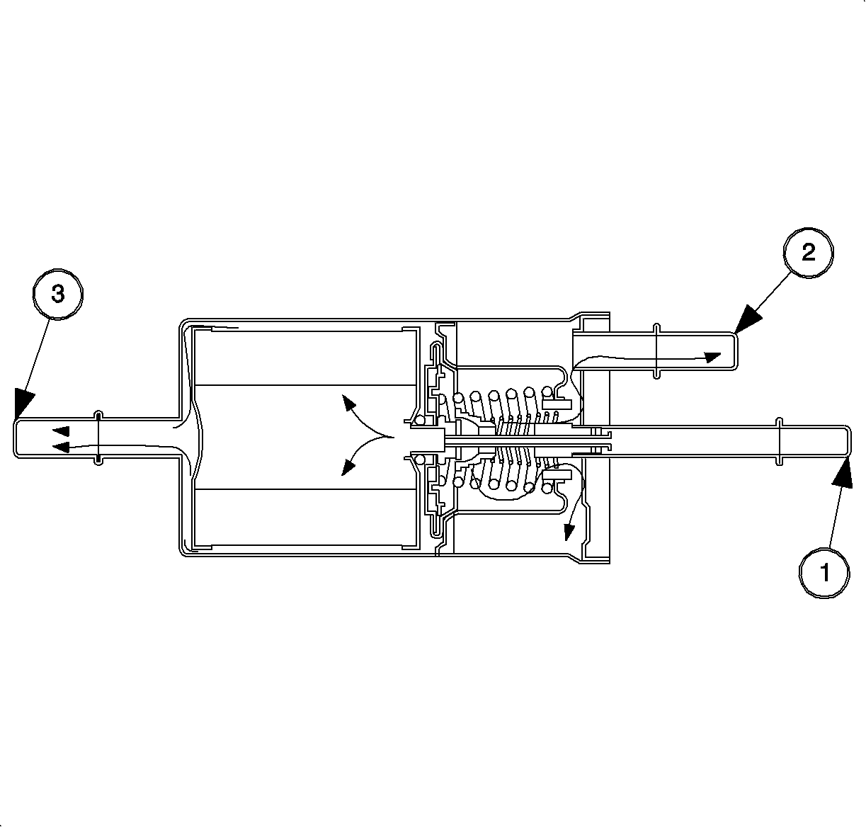
Fuel Filter/Pressure Regulator


Object Number: 871775  Size: SH

The fuel filter/pressure regulator performs the function of:

    • Controlling the fuel pressure delivered to the fuel rail and injectors and
    • Filtering all the fuel that the engine consumes

Fuel pressure is controlled by a pressure balance across the regulator. The fuel system pressure is constant and is no longer a function of engine load or a vacuum signal. This allows the system to be virtually returnless, with fuel returning only from the filter/regulator at the engine compartment.

Only fuel delivered to the engine is filtered by the element in the filter/regulator. The return fuel is filtered by the mesh filter on the pump module. Refer to the following:

    • Fuel Inlet (1)
    • Fuel Return (2)
    • Fuel Outlet (3)

Fuel Line


Object Number: 871771  Size: SH

The fuel line and the EVAP canister purge line, is a multi-layer nylon tube covered with a protective, extruded sheath and molded to the correct routing configuration. The lines are mounted to the underbody with polymer clips and secured by stamped nuts to studs.

All connectors are quick connect design and incorporate dual O-rings for an effective seal.

The fuel and EVAP line are not repairable, and neither are the connector bodies. They must be serviced as a unit if they leak or are damaged, kinked, or crimped.