GM Service Manual Online
For 1990-2009 cars only

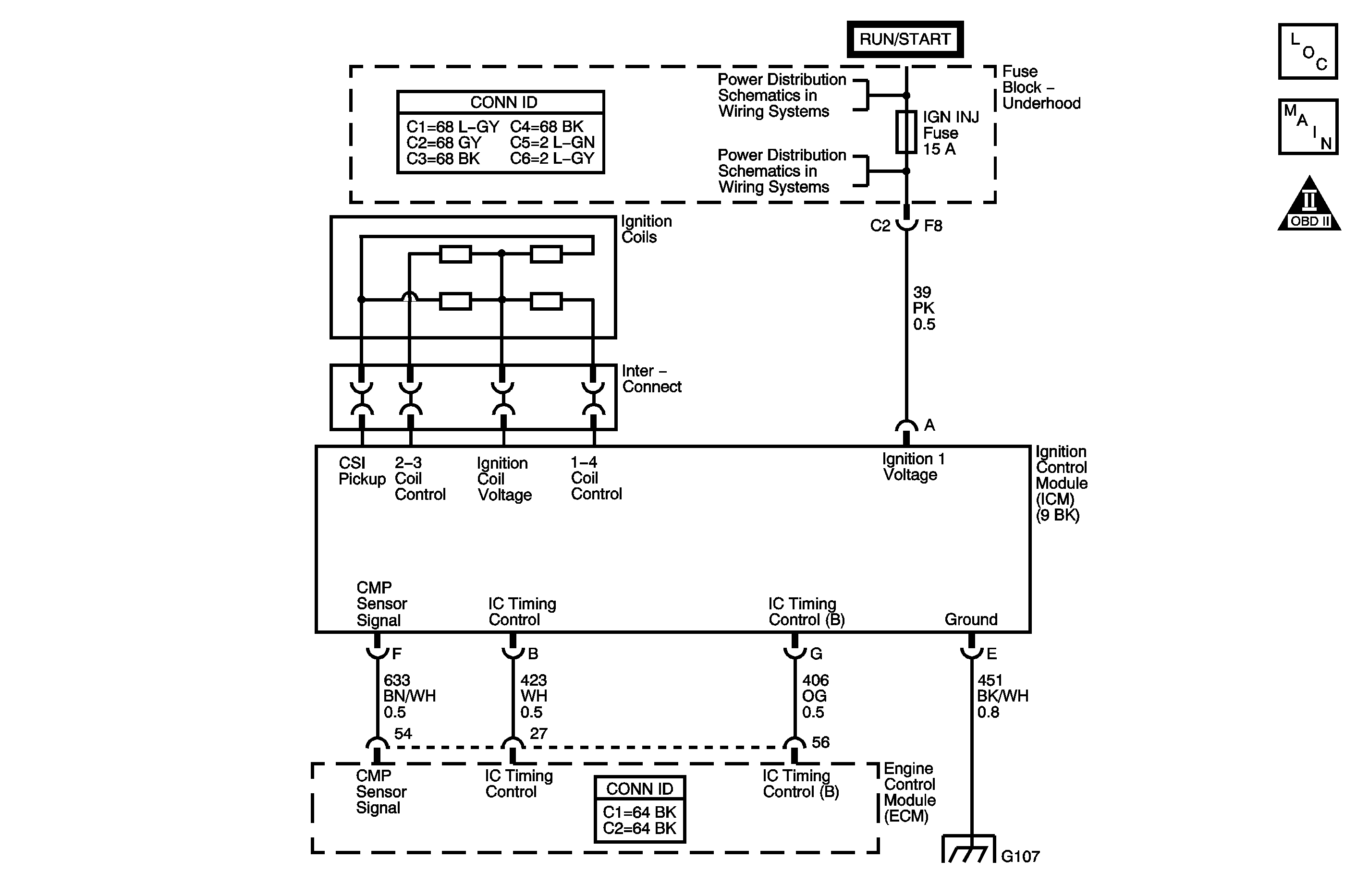
Object Number: 1247639  Size: MF
Engine Controls Component Views
Engine Controls Schematics

System Description

The powertrain control module (PCM) uses information from the crankshaft position (CKP) sensor and the ignition control module (ICM) in order to determine when an engine misfire is occurring. By monitoring variations in the crankshaft rotation speed for each cylinder, the PCM is able to detect individual misfire events. A misfire rate that is high enough can cause the 3-way catalytic converter (TWC) to overheat under certain driving conditions. The malfunction indicator lamp (MIL) will flash ON and OFF when the conditions for TWC overheating are present. If the PCM detects a misfire rate for a specific cylinder sufficient to cause emission levels to exceed mandated standards, DTC P0301, P0302, P0303, or P0304 will set.

Conditions for Running the DTC

    • DTC P0105, P0107, P0108, P0112, P0113, P0116, P0117, P0118, P0122, P0123, P0125, P0128, P0130, P0131, P0132, P0133, P0134, P0171, P0172, P0335, P0341, P0502, P0503, P0506, P0507, P0601, P0742, P1133, P1336, P1621 are not set.
    • The engine speed is between 469-6,400 RPM.
    • The ignition voltage is between 9-17 volts.
    • The engine coolant temperature (ECT) is between -7 and +130°C (20-254°F).
    • The engine has been running more than 5 seconds.
    • The fuel level is more than 10 percent.

Conditions for Setting the DTC

The PCM is detecting a crankshaft rotation speed variation indicating a misfire sufficient to cause emission levels to exceed mandated standards.

Action Taken When the DTC Sets

    • The control module illuminates the malfunction indicator lamp (MIL) on the second consecutive ignition cycle that the diagnostic runs and fails.
    • The control module records the operating conditions at the time the diagnostic fails. The first time the diagnostic fails, the control module stores this information in the Failure Records. If the diagnostic reports a failure on the second consecutive ignition cycle, the control module records the operating conditions at the time of the failure. The control module writes the operating conditions to the Freeze Frame and updates the Failure Records.

Conditions for Clearing the MIL/DTC

    • The control module turns OFF the malfunction indicator lamp (MIL) after 3 consecutive ignition cycles that the diagnostic runs and does not fail.
    • A current DTC, Last Test Failed, clears when the diagnostic runs and passes.
    • A history DTC clears after 40 consecutive warm-up cycles, if no failures are reported by this or any other emission related diagnostic.
    • Clear the MIL and the DTC with a scan tool.

Step

Action

Values

Yes

No

1

Did you perform the Diagnostic System Check-Engine Controls?

--

Go to Step 2

Go to Diagnostic System Check - Engine Controls

2

  1. Start the engine.
  2. Allow the engine to idle or operate within the conditions listed in the Freeze Frame/Failure Records.
  3. Monitor all of the misfire counters with the scan tool.

Are any of the misfire current counters incrementing?

--

Go to Step 3

Go to Intermittent Conditions

3

Are any DTCs other than DTC P0300 set?

--

Go to Diagnostic Trouble Code (DTC) List

Go to Step 4

4

Can any abnormal engine noise be heard?

--

Go to Symptoms - Engine Mechanical in Engine Mechanical

Go to Step 5

5

  1. Turn OFF the ignition.
  2. Remove the fuel pump relay. Refer to Relay Replacement in Wiring Systems.
  3. Important: DO NOT remove the ignition control (IC) module and connector from the ignition coil housing.

  4. Remove the ignition coil housing assembly. Refer to Ignition Coil Housing Replacement .
  5. Important: Not grounding the ignition coil housing may cause erratic spark.

  6. Connect a jumper wire between the IC module and a good ground.
  7. Install the J 36012-A Ignition System Diagnostic Harness.
  8. Install a J 26792 Spark Tester on the affected cylinder spark plug jumper wire.
  9. Ground the companion to the affected cylinder spark plug jumper wire.
  10. Crank the engine with the remaining spark plug jumper wires connected.

Does the spark tester spark?

--

Go to Step 7

Go to Step 6

6

Inspect the affected cylinder spark plug boot for a missing or damaged ignition coil spring.

Did you find and correct the condition?

--

Go to Step 16

Go to Step 15

7

  1. Remove the spark plug from the cylinder that indicated a misfire.
  2. Inspect the spark plug. Refer to Spark Plug Inspection .

Does the spark plug appear to be OK?

--

Go to Step 8

Go to Step 9

8

  1. Exchange the suspected spark plug with another cylinder that is operating properly. Refer to Spark Plug Replacement .
  2. Operate the vehicle under the same conditions that the misfire occurred.

Did the misfire move with the spark plug?

--

Go to Step 14

Go to Step 12

9

Is the spark plug oil or coolant fouled?

--

Go to Symptoms - Engine Mechanical in Engine Mechanical

Go to Step 10

10

Is the spark plug gas fouled?

--

Go to Step 12

Go to Step 11

11

Does the spark plug show any signs of being cracked, worn, or improperly gapped?

--

Go to Step 13

Go to Step 12

12

Perform the fuel injector coil test. Refer to Fuel Injector Solenoid Coil Test .

Did you find and correct the condition?

--

Go to Step 16

Go to Symptoms - Engine Mechanical in Engine Mechanical

13

Replace or gap the spark plug. Refer to Spark Plug Replacement . If an improper gap is found, be sure to gap the spark plugs using a wire type gage.

Did you complete the action?

--

Go to Step 16

--

14

Replace the faulty spark plug. Refer to Spark Plug Replacement .

Did you complete the replacement?

--

Go to Step 16

--

15

Replace the ignition coil housing. Refer to Ignition Coil Housing Replacement .

Did you complete the replacement?

--

Go to Step 16

--

16

Was the customer concern the MIL flashing?

--

Go to Step 17

Go to Step 18

17

  1. Operate the vehicle at the specified value for 4 minutes.
  2. Operate the vehicle within the Conditions for Running the DTC P0420 as specified in the supporting text. Refer to DTC P0420 .

Does the DTC run and pass?

2,500 RPM

Go to Step 18

Go to DTC P0420

18

  1. Clear the DTCs with a scan tool.
  2. Turn OFF the ignition for 30 seconds.
  3. Start the engine.
  4. Operate the vehicle within the Conditions for Running the DTC. You may also operate the vehicle within the conditions that you observed from the Freeze Frame/Failure Records.

Did the DTC fail this ignition?

--

Go to Step 2

Go to Step 19

19

Observe the Capture Info with a scan tool.

Are there any DTCs that have not been diagnosed?

--

Go to Diagnostic Trouble Code (DTC) List

System OK