GM Service Manual Online
For 1990-2009 cars only

Tools Required

SA9155S Strut Spring Compressor

Removal Procedure

  1. Mount the SA9155S in the holding fixture.

  2. Object Number: 864793  Size: SH
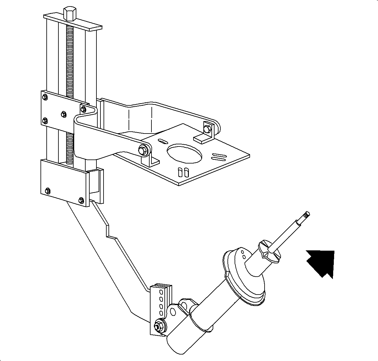
  3. Place the strut assembly in the SA9155S . Use a strut to knuckle bolt and nut through the lower hole.
  4. Use the SA9155S in order to compress the spring to unload the upper strut mount.

  5. Object Number: 864798  Size: SH
  6. Remove the strut shaft nut while holding the strut shaft with a TORX™ socket.

  7. Object Number: 898138  Size: SH
  8. Release the spring compressor spring and tilt the strut assembly outward.
  9. Remove the upper strut mount assembly. Inspect the upper mount for deterioration, cracking and for smooth bearing operation. Replace if necessary.
  10. Remove the strut coil spring from the strut. Inspect for damage and replace as necessary.
  11. Remove the hollow bumper from the strut. Inspect for deterioration or cracking and replace as necessary.
  12. Remove the strut from the SA9155S . Inspect the strut shaft for smooth resistance.

Installation Procedure


    Object Number: 864808  Size: SH
  1. Place the strut in the SA9155S . Use a strut to knuckle bolt and nut through the lower hole.
  2. Extend the strut shaft to its upper limit.

  3. Object Number: 898138  Size: SH
  4. Install the hollow bumper assembly on the strut.
  5. Important:  The spring must be correctly positioned in the seat and isolator.

  6. Install the strut coil spring.
  7. Install the upper spring seat and strut mount.
  8. Important: When compressing the spring, the upper seat must be properly positioned. The half round notch must point to the front when the strut is mounted in the SA9155S .

  9. Using the SA9155S , compress the spring while guiding the strut shaft through the upper strut mount assembly. The spring is fully compress when the upper washer and shaft nut can be installed.

  10. Object Number: 877474  Size: SH
  11. Tighten the shaft nut with a wrench while holding the shaft with a TORX™ socket.
  12. Tighten
    Tighten the nut to 55 N·m (40 lb ft).

  13. Release the spring tension.
  14. Remove the strut assembly from the SA9155S .