GM Service Manual Online
For 1990-2009 cars only

    Object Number: 895298  Size: SH

    Important: When disassembling the shift linkage mechanism, all of the shift shafts must be in their neutral positions.

  1. Mount the shift linkage assembly in a vice with soft jaws.
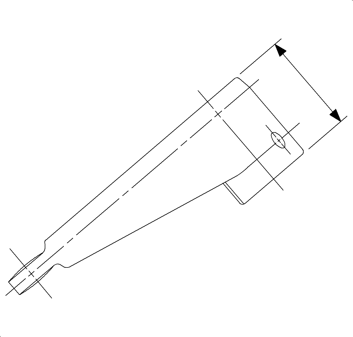
  2. Drive out the shift control leer shaft pin.
  3. Drive out the shift control lever shaft, and remove the shift control lever assembly.

  4. Object Number: 895298  Size: SH

    Caution: The synchronizer detent inserts may be forced out by spring pressure and could injure someone. To help avoid injury, always cover the synchronizer hub detent openings during disassembly.

  5. Cover the reverse shift shaft detent ball opening in the shift lever bracket with your thumb and remove the reverse shift shaft.

  6. Object Number: 895302  Size: SH

    Important: There are shift shaft interlock balls and pins between the shift shafts that prevent the transaxle from being shifted into 2 different gears at the same time.

  7. Remove the remaining shift shafts in the same manner. Start with the 5th gear shift shaft, then the 3rd/4th, and finally the 1st/2nd. Keep all detent balls, springs, and shift shaft inter lock pins for reassembly.
  8. Inspect all components for signs of excessive wear. Replace any parts which are worn or damaged.

  9. Object Number: 895600  Size: SH

    Important: When a manual transaxle with a serial number before T02075 is repaired for a 3rd/4th gear shift fork concern, it must be determined whether the component is a 1st deign or a 2nd design.

    Important: All transaxles built prior to the T02075 serial number will be of the 1st design unless they have been previously repaired for this condition. All service parts are of the 2nd design.

  10. Measure the thickness of the 3rd/4th shift fork's sleeve as shown.
  11. 1st design: 33.5 mm (1.3 in)

    2nd design: 37 mm (1.5 in)

    If the 3rd/4th shift components are a 1st design and need to be replaced, then both blocking rings, the sleeve, and the shift fork must be replaced with the 2nd design parts as a unit. If the blocking rinds, sleeve, and shift fork have already been replaced with the 2nd design components, then only replace the parts as needed.


    Object Number: 895303  Size: SH
  12. If the shift forks, shift shafts, or shift shaft blocks need to be replaced, remove the appropriate retaining pins to the component needing replacement. Always discard the used retaining pins and install new pins when reassembling.

  13. Object Number: 895308  Size: SH
  14. Remove the spring seat retainers from the shift control lever.
  15. Remove the spring seats and springs from the shift control lever.