GM Service Manual Online
For 1990-2009 cars only

Object Number: 888513  Size: MF

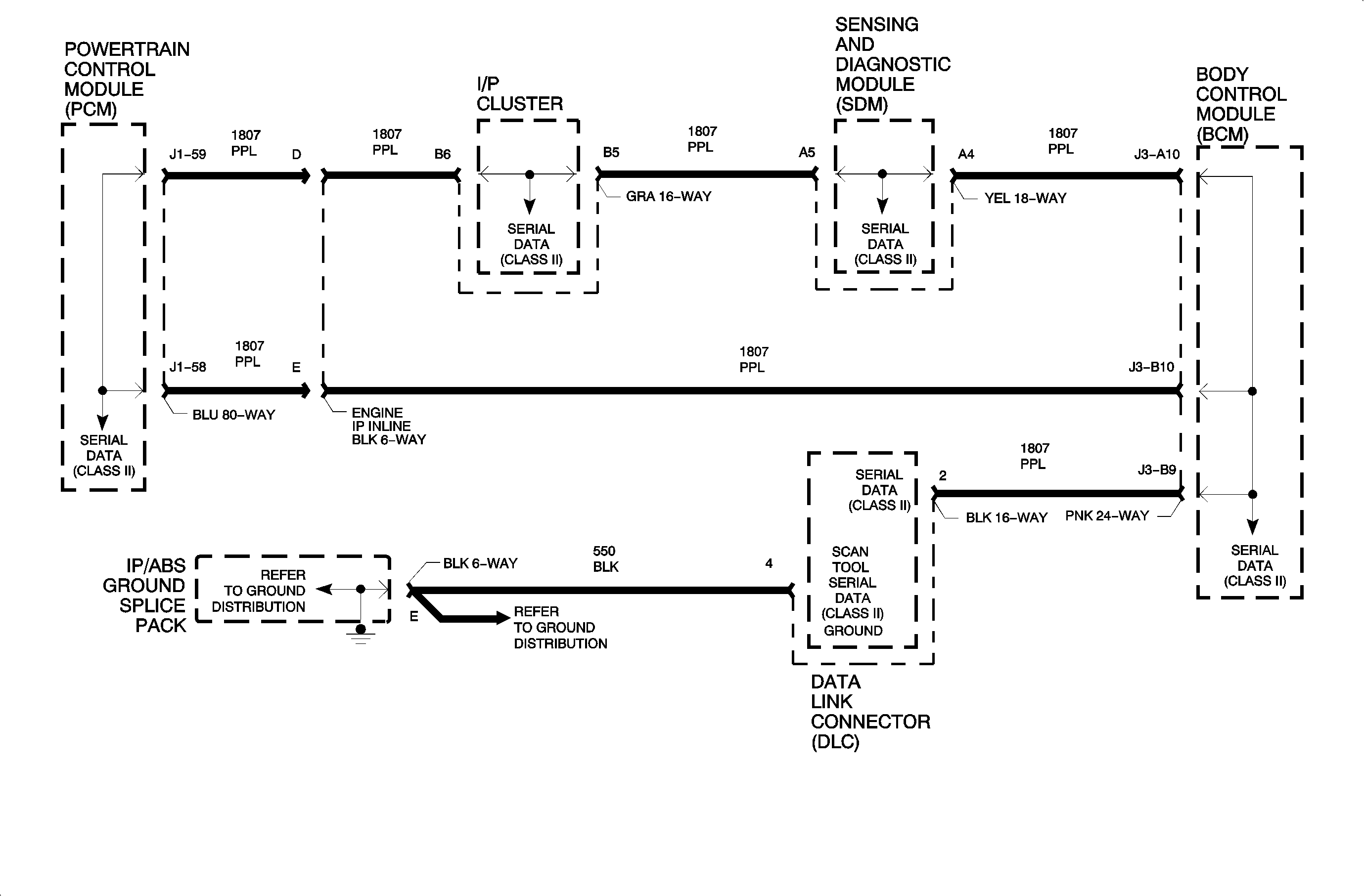
If communications cannot be established with either the body control module (BCM) or the sensing and diagnostic module (SDM), the fault is related to the Class II link. Types of faults that will affect communications could be a short to ground, short to voltage, and open circuit between the data link connector (DLC) and the BCM or open in ground CKT 550. Internal controller faults may also cause communication errors on the data link. Since the Class II link is wired in a ring configuration, an open circuit, except between the DLC and BCM, will not affect communications with the BCM.

This chart is used to diagnose faults associated with the Class II data link. When following this chart, it will be necessary to refer to the facing page schematic because the Class II link configuration depends on whether the vehicle is equipped with a 4 cylinder (L61) engine or the V-6 (L81) engine.


Object Number: 887339  Size: FP