GM Service Manual Online
For 1990-2009 cars only

Object Number: 891642  Size: MF

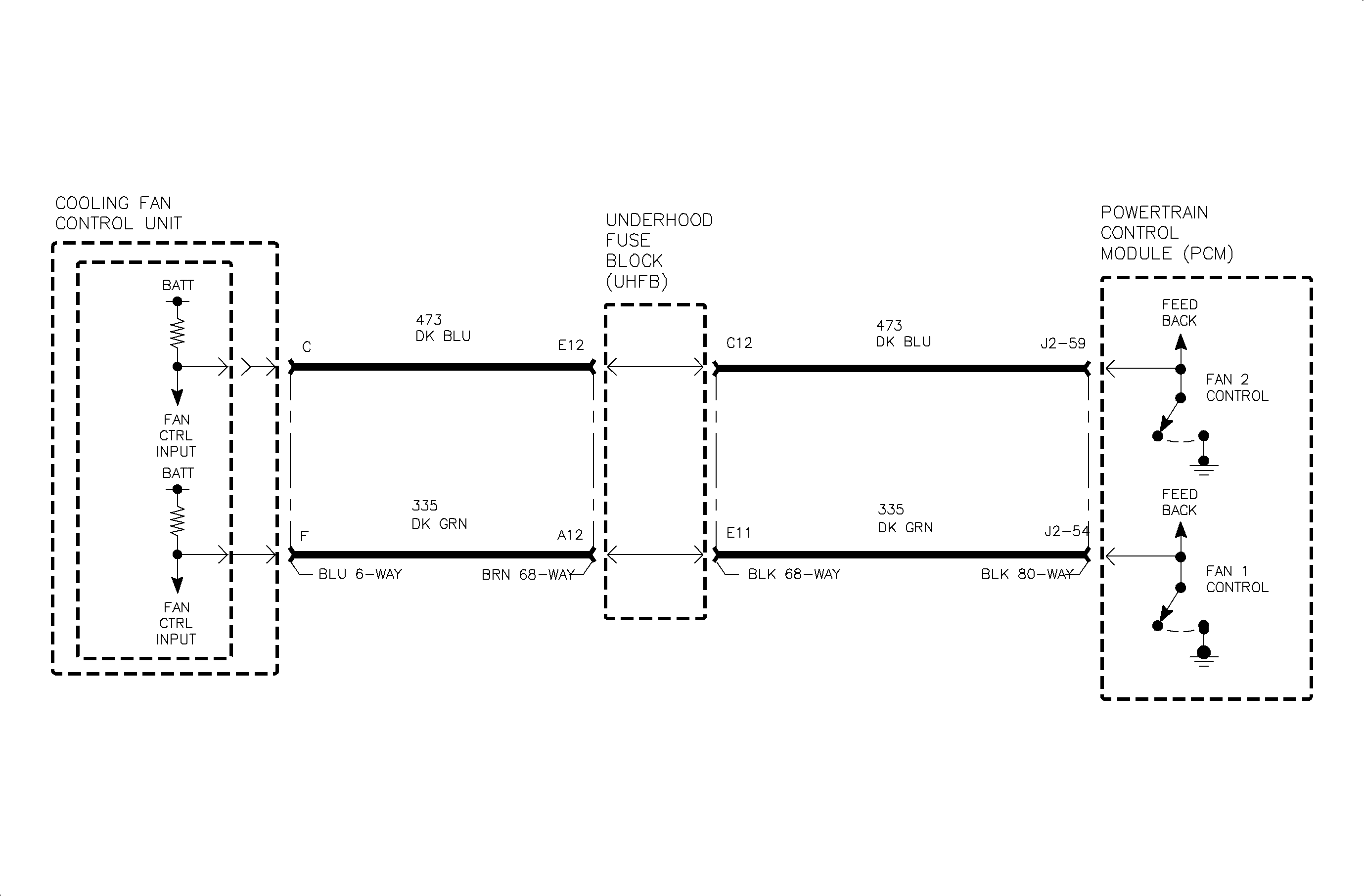
The PCM controls both cooling fan motors by controlling 2 drivers, which pull the fan control circuits to ground. The combination of high/low inputs to the cooling fan control module allow OFF, low, medium, and high cooling fan speeds. When the PCM fan control driver is OFF, the cooling fan control module input is high (battery voltage). When the PCM fan control driver is ON, the cooling fan control module input is low (0 volts). Both cooling fan motors will begin to run whenever the ECT is above 99°C (210°F), the A/C is commanded ON with the high side pressure above 1199 kPa (174 psi) or a low/high fault exists in the ECT sensor circuit. DTC P0480 sets when fan control 2 is being commanded OFF and the feedback voltage at the PCM is low, or when fan control 2 is being commanded ON and the feedback voltage at the PCM is high.

Conditions for Setting the DTC

DTC P0481 will set if fan control 2 feedback voltage is less than 4 volts when fan control 2 is commanded OFF when:

    • The condition exists for longer than 6 seconds.
    • The battery voltage is greater than 9.5 volts.
    • The engine is running.

OR

DTC P0481 will set if fan control 2 feedback voltage is greater than 3.5 volts when fan control 2 is commanded ON when:

    • The condition exists for longer than 6 seconds.
    • The battery voltage is greater than 9.5 volts.
    • The engine is running.

DTC P0481 diagnostic runs continuously with the engine running.

DTC P0481 is a type B DTC.

Diagnostic Aids

To locate an intermittent problem, use the scan tool to monitor FC RELAY 2 CKT OPEN SHORT TO GND while commanding FAN CONTROL 2 OFF. When a fault, open or short to ground, exists, the scan tool will display YES. Then use the scan tool to monitor FC RELAY 2 CKT SHORT TO VOLTS while commanding FAN CONTROL 2 ON. When a fault, short to voltage or open PCM driver, exists, the scan tool will display YES.

Circuit

Fan Speed

335

473

High

High

Off

High

Low

Low

Low

High

Medium

Low

Low

High

High = Not Grounded (12 volts)

Low = Grounded (zero volts)


Object Number: 890091  Size: FP