GM Service Manual Online
For 1990-2009 cars only

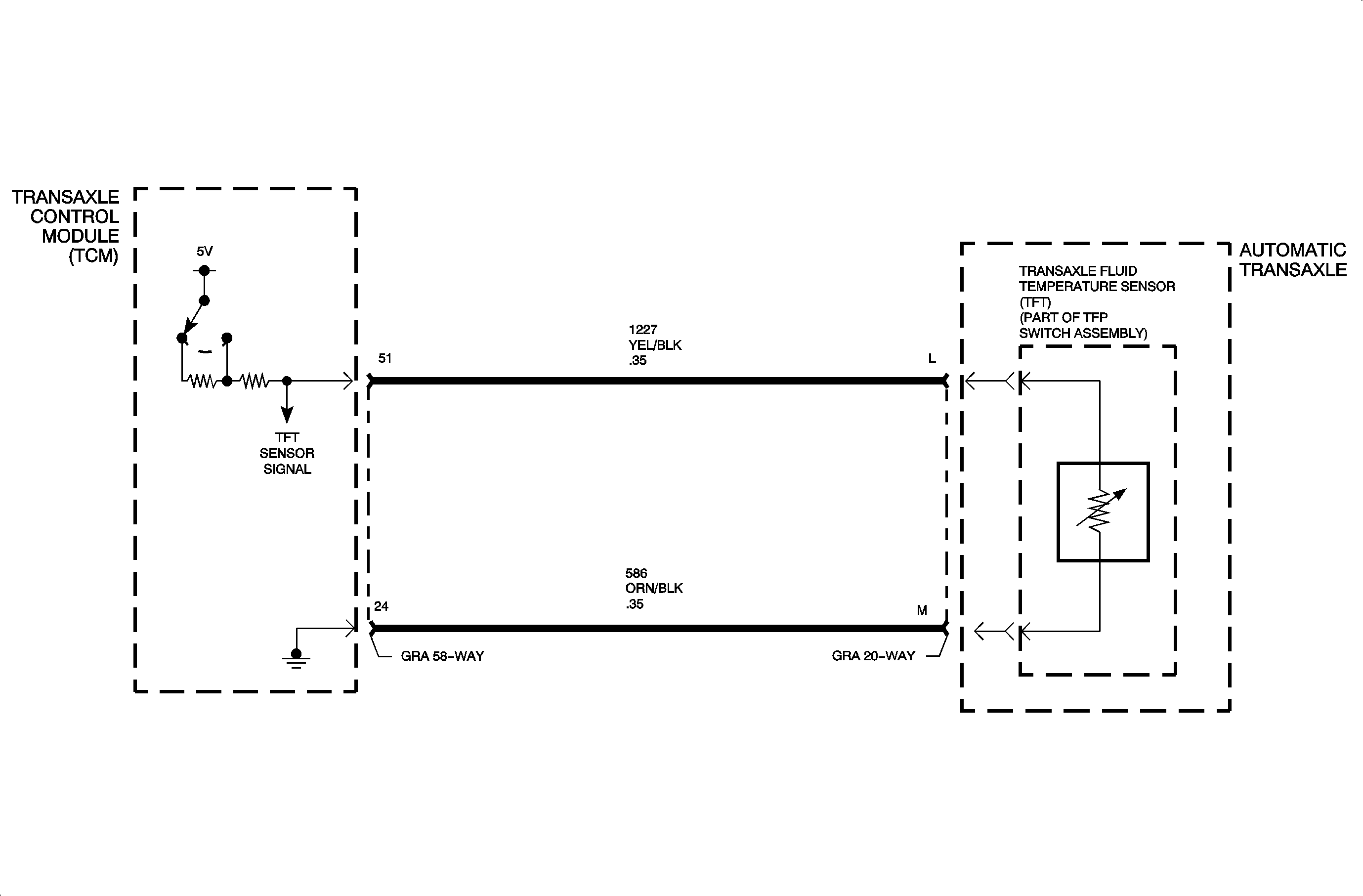
DTC P0711 L61


Object Number: 889664  Size: MF

Circuit Description

The transaxle fluid temperature (TFT) sensor is a negative coefficient thermistor. When the transaxle fluid is cold, the sensor resistance is high. As the transaxle fluid warms, the sensor resistance decreases. This diagnostic monitors the TFT circuit. The circuit may be functional, but not in the normal operating range. This diagnostic indicates stuck, erratic, intermittent, or skewed values, indicating faulty system performance. The TFT range is -40°to +151°C (-40°to +305°F). When the PCM detects an intermittent voltage or no voltage change in the TFT sensor circuit, then DTC P0711 sets.

Conditions for Setting the DTC

DTC P0711 is set when either:

    • Change in TFT is less than 1.5°C (2°F) since start-up for 20 seconds
    • Within seven seconds, the TFT changes by more than 20°C (36°F) 14 times
    • Vehicle speed is greater than 8 km/h (5 mph) for six minutes, 49 seconds cumulatively
    • TCC slip speed is greater than 300 rpm for six minutes, 49 seconds cumulatively
    • TFT was between -40°C (-40°F) and 21°C (70°F) at startup
    • ECT is greater than 70°C (158°F) and has changed by more than 50°C (90°F) since startup

P0711 is a type C DTC.

Diagnostic Aids

Important: The PCM uses two internal circuits to identify transaxle temperature. If either circuit has failed, the DTC will set. However, the temperature may look normal in the other range.

Test low scale with engine at room temperature and high scale with engine at normal operating temperature (above 70°C [158°F]).

Monitor transaxle fluid temperature while wiggling wiring to find intermittent. Inspect transaxle internal wiring harness for damage.

TFT SENSOR - Temperature to Resistance (approximate)

°C

°F

RESISTANCE (OHMS)

0

32

7987-10859

10

50

4934-6407

20

68

3106-3923

30

86

1991-2483

40

104

1307-1611

50

122

878-1067

60

140

605-728

70

158

425-507

80

176

304-359

90

194

221-259

100

212

163-190

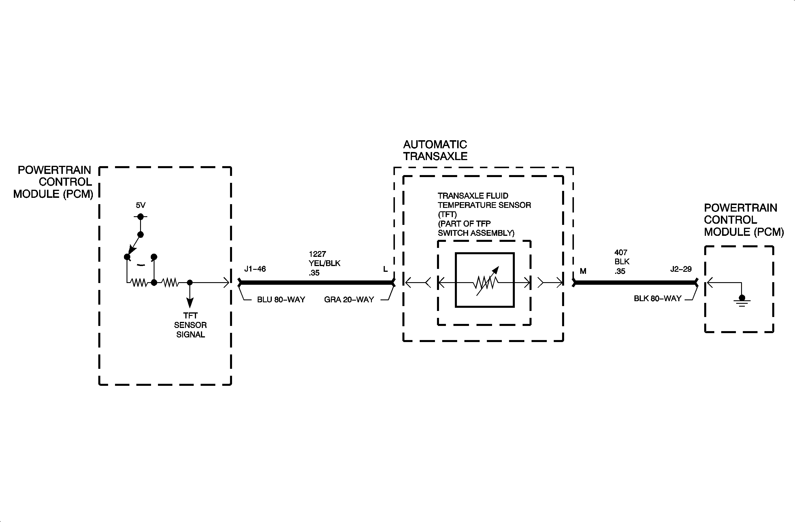
DTC P0711 L81


Object Number: 889772  Size: MF

Circuit Description

The transaxle fluid temperature (TFT) sensor is a negative coefficient thermistor. When the transaxle fluid is cold, the sensor resistance is high. As the transaxle fluid warms, the sensor resistance decreases. This diagnostic monitors the TFT circuit. The circuit may be functional, but not in the normal operating range. This diagnostic indicates stuck, erratic, intermittent, or skewed values, indicating faulty system performance. The TFT range is -40°to +151°C (-40°to +305°F). When the TCM detects an intermittent voltage or no voltage change in the TFT sensor circuit, then DTC P0711 sets.

Conditions for Setting the DTC

DTC P0711 is set when either:

    • Change in TFT is less than 1.5°C (2°F) since start-up for 20 seconds
    • Within seven seconds the TFT changes by more than 20°C (36°F) 14 times
    • Vehicle speed is greater than 8 km/h (5 mph) for 6 minutes, 49 seconds cumulatively
    • TCC slip speed is greater than 300 rpm for 6 minutes, 49 seconds cumulatively
    • TFT was between -40°C (-40°F) and 21°C (70°F) at startup.
    • ECT is greater than 70°C (158°F) and has changed by more than 50°C (90°F) since startup

P0711 is a type C DTC.

Diagnostic Aids

Important: The PCM uses two internal circuits to identify transaxle temperature. If either circuit has failed, the DTC will set. However, the temperature may look normal in the other range.

Test low scale with engine at room temperature and high scale with engine at normal operating temperature (above 70°C [158°F]).

Monitor transaxle fluid temperature while wiggling wiring to find intermittent. Inspect transaxle internal wiring harness for damage.

TFT SENSOR - Temperature to Resistance (approximate)

°C

°F

RESISTANCE (OHMS)

0

32

7987-10859

10

50

4934-6407

20

68

3106-3923

30

86

1991-2483

40

104

1307-1611

50

122

878-1067

60

140

605-728

70

158

425-507

80

176

304-359

90

194

221-259

100

212

163-190