GM Service Manual Online
For 1990-2009 cars only

Object Number: 891226  Size: MF

Circuit Description

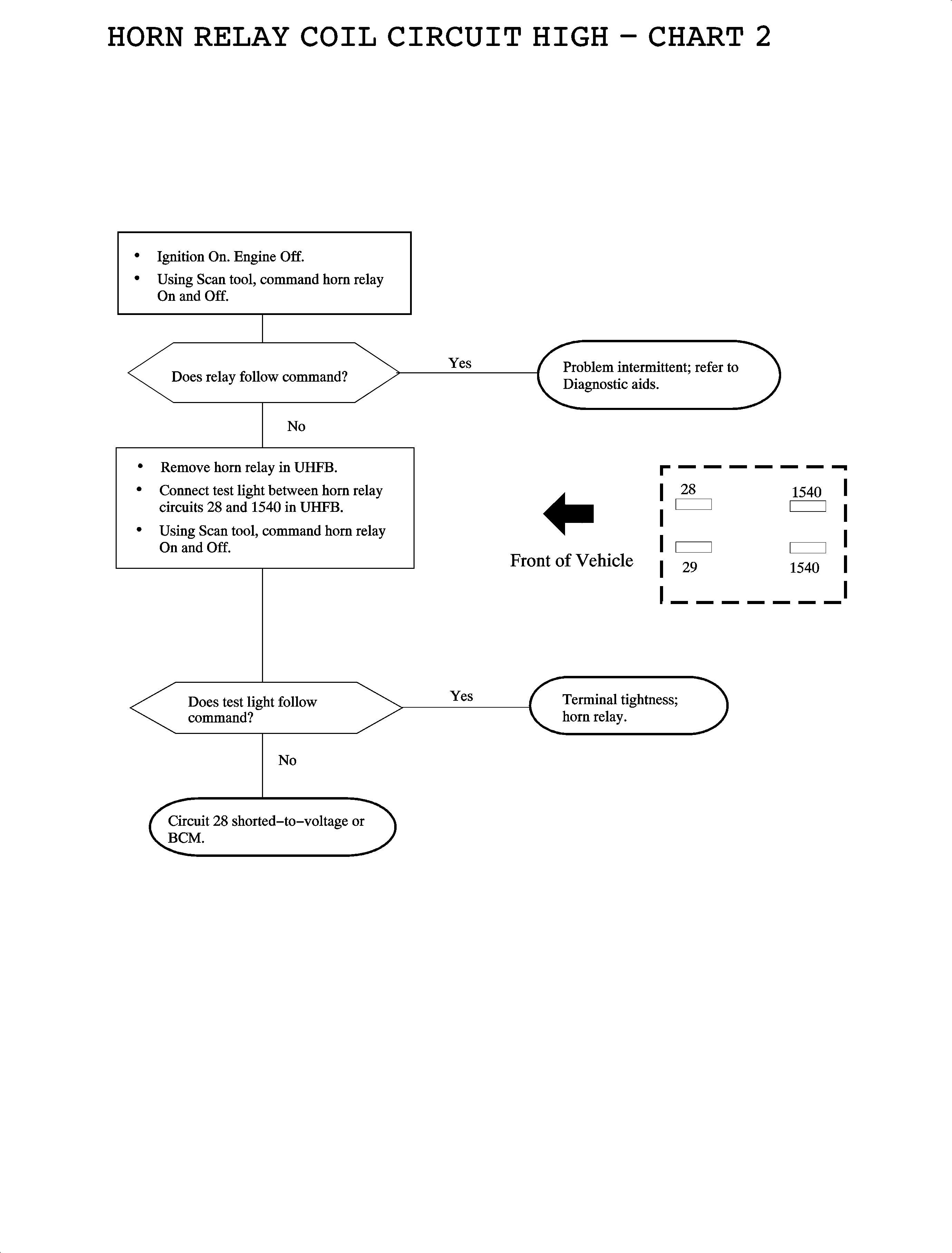
The body control module (BCM) controls the operation of the horns for the security system and remote keyless entry (RKE) functions. Circuit 28 is grounded by the BCM when horn operation is desired for RKE or security function. Normal operation of the horn is performed by the horn switch grounding the horn relay and is not controlled by the BCM.

Conditions for Setting the DTC

    • Horn operation is requested by the BCM.
    • Circuit 28 is shorted-to-battery voltage.

Diagnostic Aids

    • When a shorted-to-battery voltage condition exists in CKT 28 and the BCM requests operation of the horns, the BCM will attempt to switch CKT 28 to ground. High current flow will result and the BCM output will go into a protective state. The BCM output will not allow itself to be activated for as much as 3 minutes. The BCM is protected. Damage will not result.
    • Inspect wiring harness for damage. Check for broken or chafed insulation.
    • Check for poor connection at the rear defrost switch.
    • If fault is suspected to be intermittent, wiggling harness wiring may help in locating fault.

Object Number: 887261  Size: FP