GM Service Manual Online
For 1990-2009 cars only

Object Number: 891250  Size: MF

Circuit Description

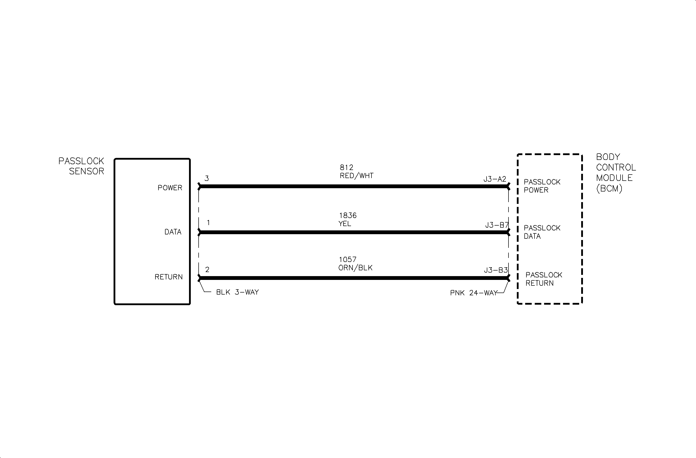
The passlock sensor is powered by CKT 812. The passlock sensor is grounded by CKT 1057. Passlock sensor data is supplied to the body control module (BCM) by CKT 1836.

The passlock sensor data supplied to the BCM is in the form of V-codes or voltage codes. When the proper ignition key is turned in the ignition switch, the correct V-code is supplied to the BCM. The BCM responds by sending a serial data password to the engine controller allowing the engine to run.

Conditions for Setting the DTC

    • Ignition is in RUN, START or ACC.
    • CKT 812 is shorted-to-ground.

Diagnostic Aids

    • Check for poor connection at the BCM. Inspect harness connectors for backed out terminals, improper terminal mating, broken connector locks, improperly formed or damaged terminals and poor terminal-to-wire connection -- terminal crimped over wire insulation and not conductors.
    • Inspect wiring harness for damage. Check for broken or chaffed insulation.
    • Check for poor connection at the passlock sensor.
    • If fault is suspected to be intermittent, wiggling harness wiring may help in locating fault.

Object Number: 887222  Size: FP