GM Service Manual Online
For 1990-2009 cars only

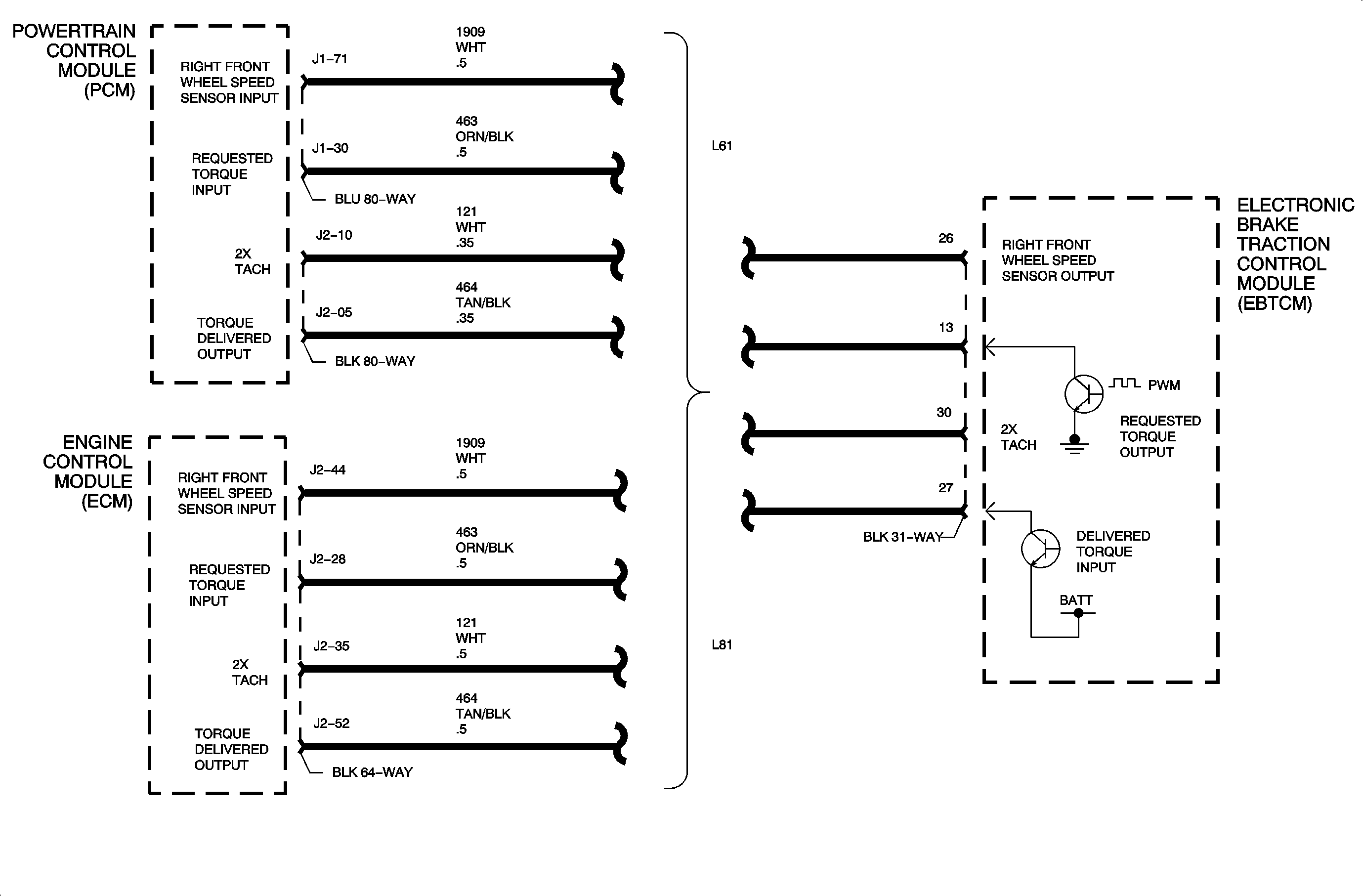
Object Number: 889323  Size: MF

Circuit Description

The ECM/PCM provides the ABS control module with engine RPM data so that it can determine traction control system (TCS) operation.

DTC Parameters

DTC C0236 will set if the following conditions exist:

    • The engine RPM circuit is open or shorted.
    • The electronic brake and traction control module (EBTCM) does not receive an RPM input signal one second after engine has been started

When this trouble code sets the EBTCM will disable traction control.

Diagnostic Aids

Inspect wiring, connectors, and components for the following:

    • Proper connection
    • Backed-out terminals
    • Broken connector locks
    • Corrosion in connectors/terminals
    • Burned, chafed, or pinched wiring
    • A broken wire inside the insulation
    • Loose components

Possible causes for DTC C0236 to set:

    • Open in the delivered RPM circuit
    • The delivered RPM circuit shorted to ground or voltage
    • Communication frequency problem
    • Communication duty cycle problem
    • The delivered RPM circuit has a wiring problem, terminal corrosion, or poor connections
    • EBTCM not receiving information from PCM/ECM
    • A broken wire inside the insulation