GM Service Manual Online
For 1990-2009 cars only

Object Number: 891229  Size: MF

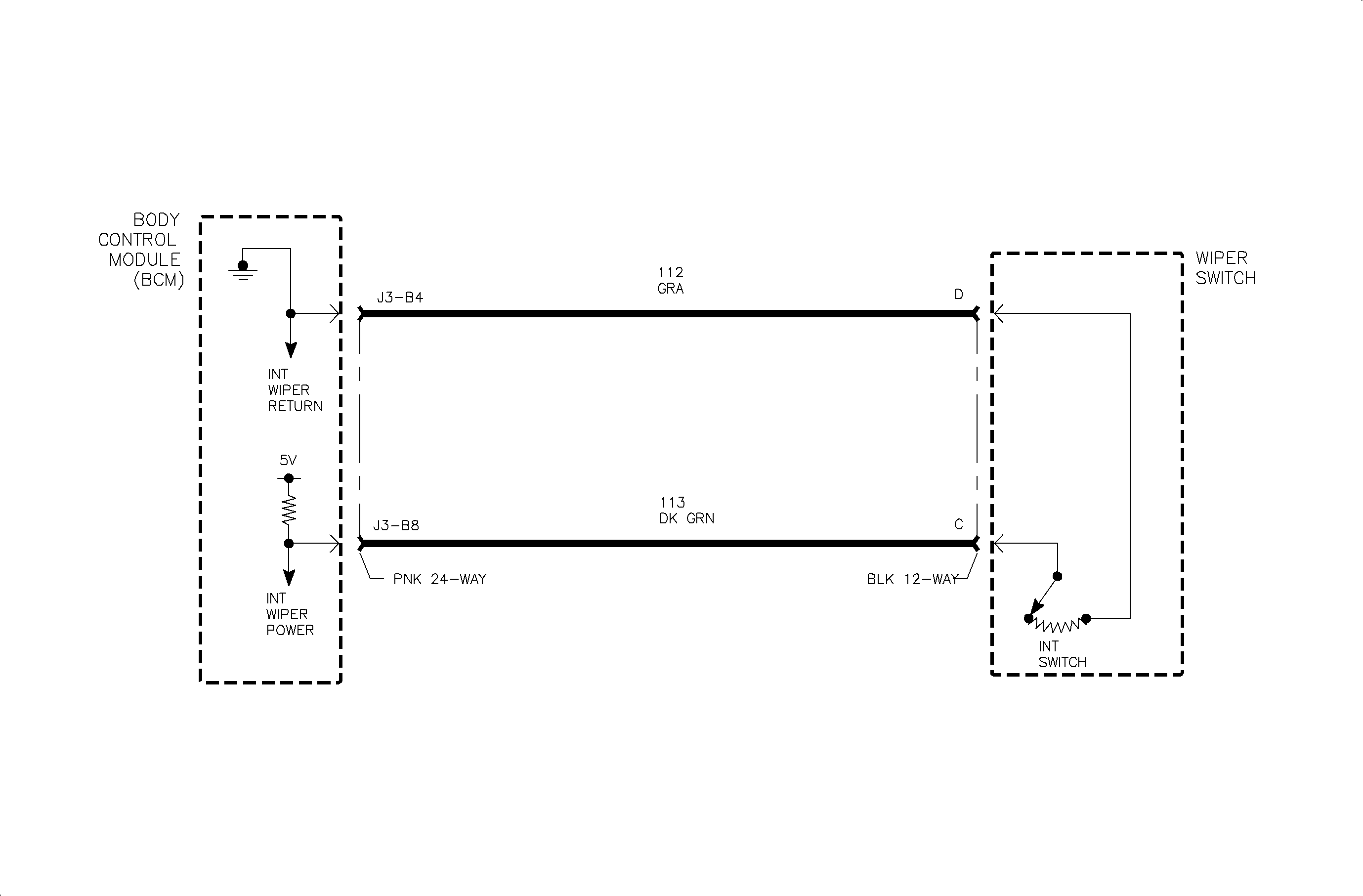
Circuit Description

The intermittent wiper delay switch is a voltage divider connected across body control module (BCM) inputs circuit 113 and circuit 96. The wiper relay is energized by the BCM switching circuit 1445 to ground depending on the delay switch position.

The intermittent wiper delay switch has 3 switch positions.

    • Delay 1 - 2000 ohms resistance, 1 swipe every 12 seconds
    • Delay 2 - 1000 ohms resistance, 1 swipe every 7 seconds
    • Delay 3 - 500 ohms resistance, 1 swipe every 2 seconds

DTC Parameters

    • The ignition is in the RUN or ACC position.
    • Circuit 113 is shorted-to-ground.

Diagnostic Aids

    • Inspect the wiring harness for damage. Check for broken or chaffed insulation.
    • If a fault is suspected to be intermittent, wiggling the harness wiring may help in locating the fault.

Object Number: 887301  Size: FP