GM Service Manual Online
For 1990-2009 cars only

Object Number: 891247  Size: MF

Circuit Description

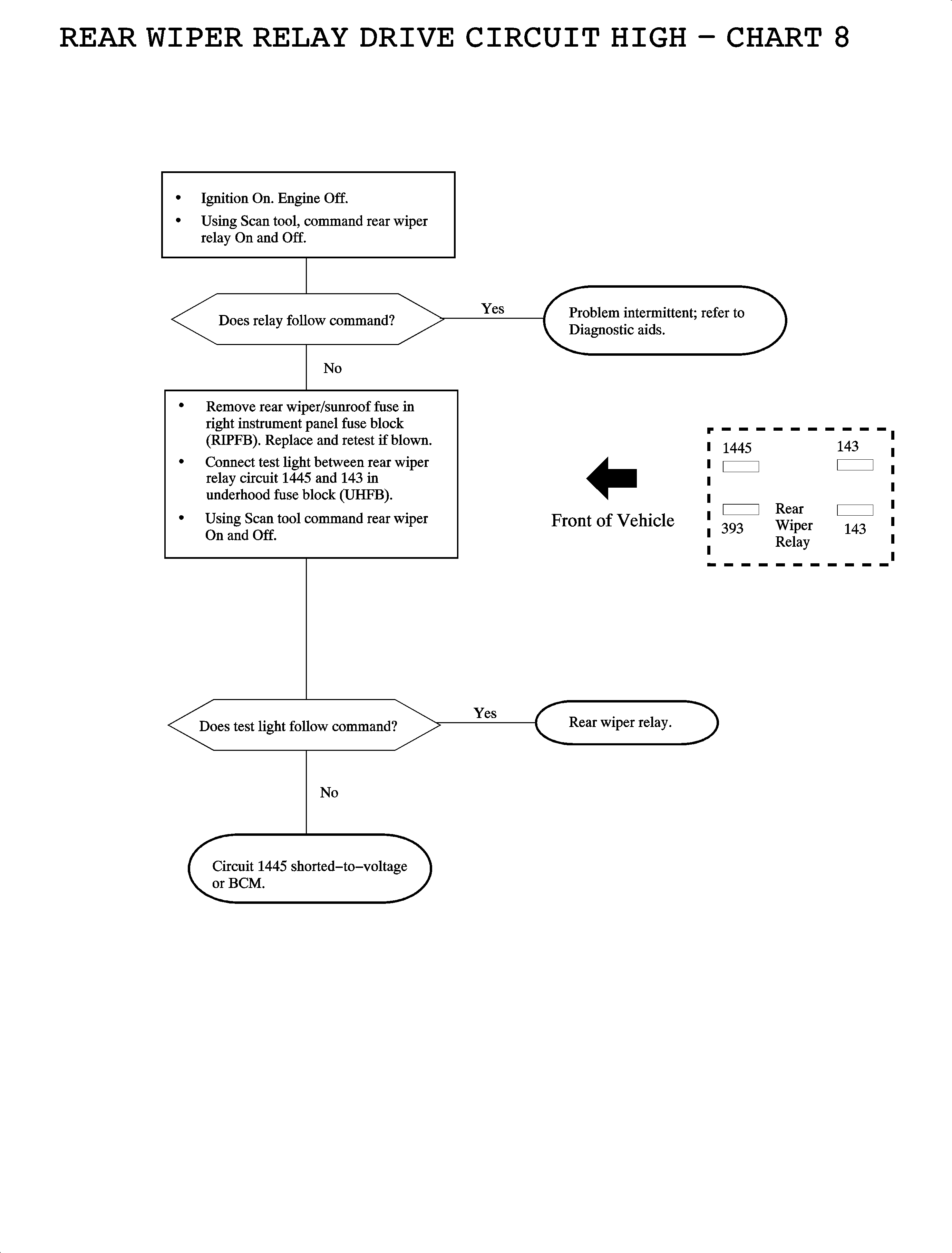
When operation of the rear wiper is selected, battery voltage from the rear wiper switch is applied to the rear wiper input of the body control module (BCM) circuit 94. The BCM responds by switching circuit 1445 to ground. This action energizes the rear wiper relay, providing power to the rear wiper motor.

DTC Parameters

    • The ignition is in the RUN or ACC position.
    • Circuit 1445 is shorted-to-battery voltage.

Diagnostic Aids

    • When a shorted-to-battery voltage condition exists in circuit 1445 and the BCM has been requested to activate the front wiper relay, the BCM will attempt to switch circuit 1445 to ground. High current flow will result and the BCM output will go into a protective state. The BCM output will not allow itself to be activated for as much as 3 minutes.
    • Check for a poor connection at the BCM. Inspect the harness connectors for backed out terminals, improper terminal mating, broken connector locks, improperly formed or damaged terminals, and poor terminal-to-wire connection (terminal crimped over wire insulation and not conductors).
    • Inspect the wiring harness for damage. Check for broken or chaffed insulation.
    • Review all fail information as this may assist in determining the conditions when the fault occurs.
    • If a fault is suspected to be intermittent, wiggling the harness wiring may help in locating the fault.

Object Number: 887320  Size: FP