GM Service Manual Online
For 1990-2009 cars only

Tools Required

J 42096 Valve Guide Reamer


    Object Number: 894163  Size: SH
  1. Clean the valve guide thoroughly.
  2. Important: Apply light hand pressure while turning the reamer until the reamer is all the way through the valve guide.

  3. Insert the J 42096 into the valve guide from the top of the cylinder head.
  4. Remove the J 42096 .
  5. Clean the valve guide of all metal shavings.
  6. Clean the cylinder combustion chamber of all metal shavings.

Object Number: 894169  Size: SH

The seating of the valves must be performed for the engine assembly to deliver optimum power and to deliver optimum performance. Another important factor is the cooling of the valve heads. Good contact between each valve and its seat in the cylinder head is necessary to insure that heat in the valve head will be properly carried away.

Several different types of equipment are available for reconditioning the valve seats. Carefully follow the equipment manufacturer's recommendations to attain the proper results. Regardless of what type of equipment is used, it is essential that the valve guide bores be free from carbon and/or free from dirt to ensure the proper centering of the pilot in the guide.

Valves that are slightly pitted can be refaced to the proper angle, ensuring the correct relation between the head and the stem in a valve refacing mechanism. Replace valve stems that show excessive ware. Replace valves that are warped excessively. Replace the valve if the edge of the valve head is less than 1.6 mm (0.0625 in) thick after grinding.

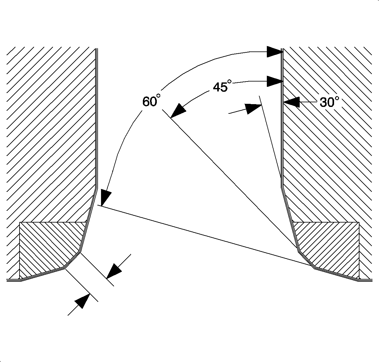
Use a 30 degree and a 60 degree stone to control the valve seat width.


Object Number: 894172  Size: SH

Grind the valves at a 90 degree 40 feet angle. Grind the valve seat at a 90 degree angle. The 40 feet difference in angles provides a better sealing. The valve seat width should be:

    • The intake valve seat width should be 1-1.4 mm (0.039-0.055 in).
    • The exhaust valve seat width should be 1.4-1.8 mm (0.055-0.07 in).

Object Number: 894175  Size: SH