GM Service Manual Online
For 1990-2009 cars only

Object Number: 889382  Size: MF

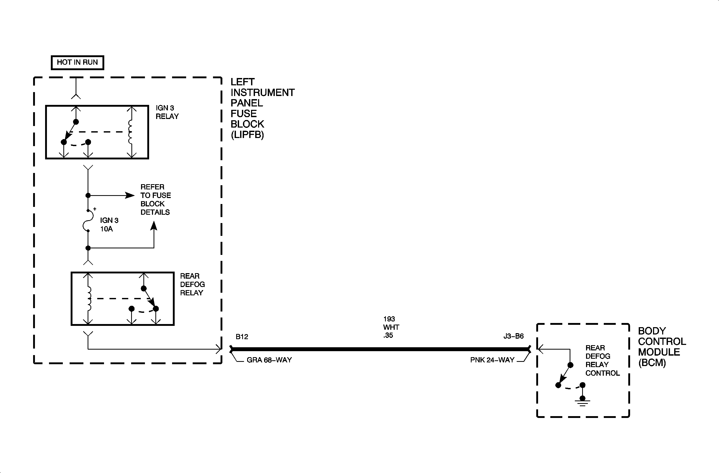
When the rear defog input circuit 292 to the body control module (BCM) is momentarily switched to ground (as when the rear defog switch is pressed), the BCM will respond by grounding circuit 193, the coil of the rear defog relay.

This action energizes the rear defrost relay providing power to circuit 293 (rear defrost heater elements), circuit 683 (heated mirror relay coil) and circuit 683 (rear defrost LED telltale). Momentarily switching circuit 292 to ground again will result in the BCM turning the rear defrost relay OFF.

The first time in an ignition cycle that the rear defrost is activated, rear defrost is activated, rear defrost will remain ON for 15 minutes or until the ignition switch is turned OFF. If rear defrost is activated again during the same ignition cycle, rear defrost will remain ON for 7 1/2 minutes or until the ignition switch is turned OFF.

DTC Parameters

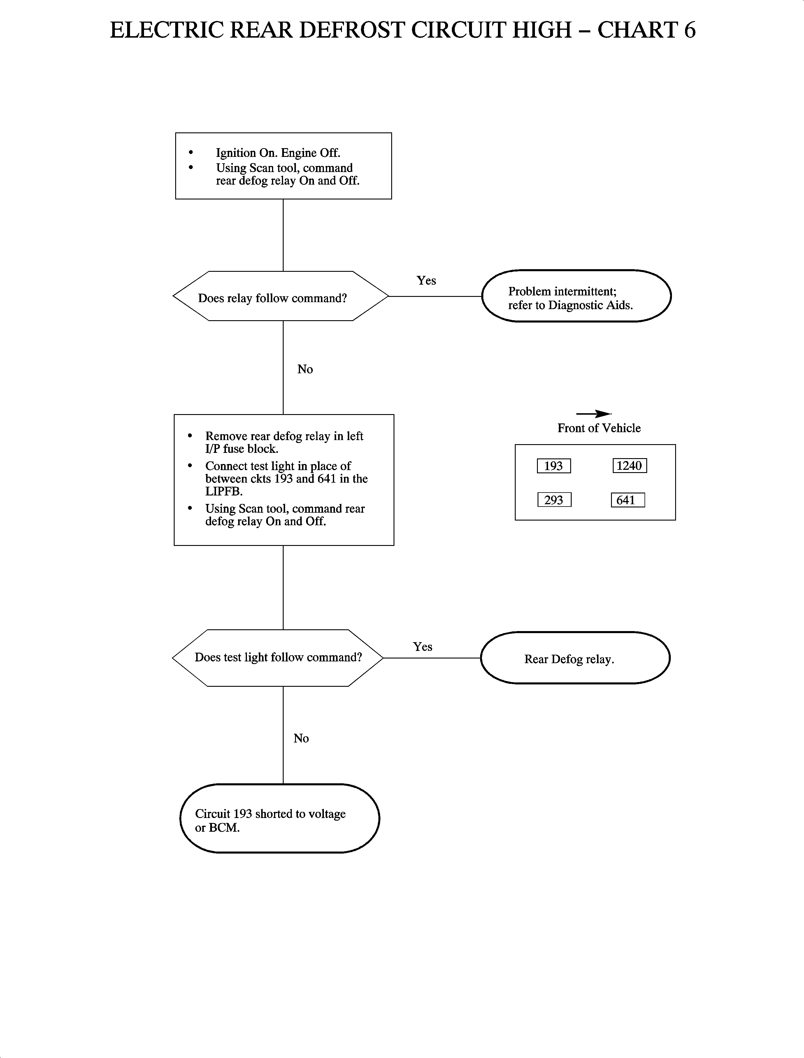
    • Ignition in RUN
    • Circuit 193 is shorted to battery voltage.
    • The BCM is commanding the rear defog system to the ON state.

Diagnostic Aids

    • When a shorted to battery voltage condition exists in circuit 193 and the BCM has been requested to activate the rear defrost system, the BCM will attempt to switch the circuit 193 to ground. High current flow will result and the BCM output will go into a protective state. The BCM output will not allow itself to be activated for as much as 3 minutes.
    • Inspect the wiring harness for damage. Check for broken or chaffed insulation.
    • If fault is suspected to be intermittent, wiggling the harness wiring may help in locating the fault.

Object Number: 887383  Size: FP