| |||||||
|---|---|---|---|---|---|---|---|
Connector Part Information |
| ||||||
Pin | Wire Color | Circuit Number | Function | ||||
A | DK GRN/WHT | 368 | Body to Headliner Inline | ||||
B | -- | -- | Not Used | ||||
C | BLK/WHT | 372 | Body to Headliner Inline | ||||
D | BRN/WHT | 367 | Body to Headliner Inline | ||||
E | DK BLU | 601 | Body to Headliner Inline | ||||
F | BLK | 650 | Body to Headliner Inline | ||||
G | ORN | 1340 | Body to Headliner Inline | ||||
H | PPL | 1807 | Body to Headliner Inline | ||||
| |||||||
|---|---|---|---|---|---|---|---|
Connector Part Information |
| ||||||
Pin | Wire Color | Circuit Number | Function | ||||
A | DK GRN/WHT | 368 | Radio | ||||
B | -- | 514 | Shield | ||||
C | BLK/WHT | 372 | Radio | ||||
D | BRN/WHT | 367 | Radio | ||||
E | DK BLU | 601 | Radio | ||||
F | BLK | 650 | Onstar Ground | ||||
G | ORN | 1340 | I/P to Onstar Jumper Inline | ||||
H | PPL | 1807 | I/P to Onstar Jumper Inline | ||||
| |||||||
|---|---|---|---|---|---|---|---|
Connector Part Information |
| ||||||
Pin | Wire Color | Circuit Number | Function | ||||
1 | -- | -- | Not Used | ||||
2 | BLK | 450 | Headliner Ground Splice Pack | ||||
3-6 | -- | -- | Not Used | ||||
7 | ORN | 1732 | Body to Headliner Inline | ||||
Insert Graphic SMCNF15324960 | |||||||
|---|---|---|---|---|---|---|---|
Connector Part Information |
| ||||||
Pin | Wire Color | Circuit Number | Function | ||||
1-5 | -- | -- | Not Used | ||||
6 | ORN | 1732 | Body to Headliner Inline | ||||
7 | -- | -- | Not Used | ||||
8 | BLK | 450 | Headliner Ground Splice Pack | ||||
9-10 | -- | -- | Not Used | ||||
11 | DK GRN/WHT | 2514 | Onstar Module | ||||
12 | -- | 2515 | Onstar Module | ||||
13 | -- | -- | Not Used | ||||
14 | YEL/BLK | 2516 | Onstar Module | ||||
15 | BRN/WHT | 2577 | Onstar Module | ||||
16 | -- | -- | Not Used | ||||
| |||||||
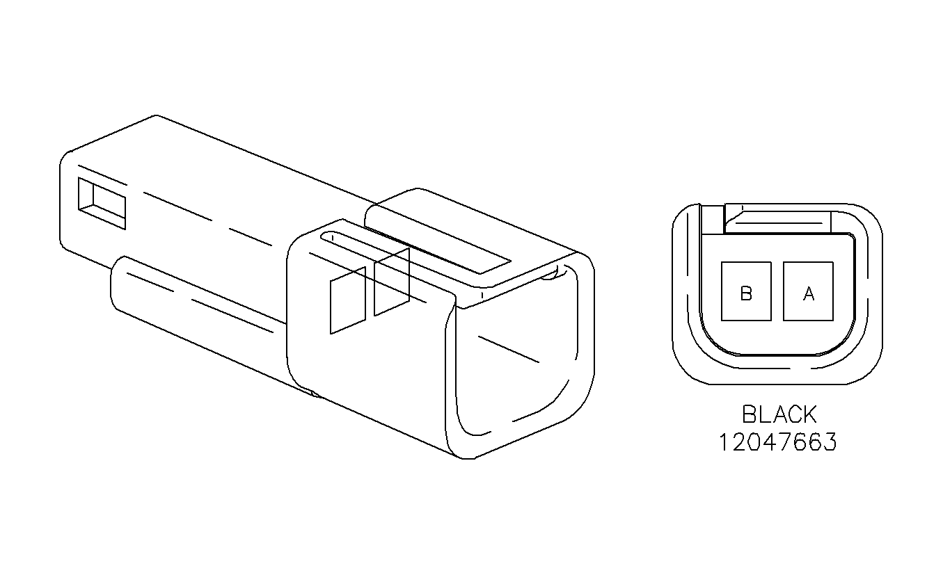
|---|---|---|---|---|---|---|---|
Connector Part Information |
| ||||||
Pin | Wire Color | Circuit Number | Function | ||||
A | DK GRN | 654 | Onstar Module | ||||
B | GRY | 653 | Onstar Module | ||||
| |||||||
|---|---|---|---|---|---|---|---|
Connector Part Information |
| ||||||
Pin | Wire Color | Circuit Number | Function | ||||
1 | -- | -- | Not Used | ||||
2 | BLK/WHT | 2517 | Inside Rearview Mirror | ||||
3 | -- | 2516 | Inside Rearview Mirror | ||||
4-5 | -- | -- | Not Used | ||||
6 | LT GRN/BLK | 2515 | Inside Rearview Mirror | ||||
7 | BLK | 650 | Body to Headliner Inline with Onstar | ||||
8 | LT BLU | 650 | Body to Headliner Inline with Onstar | ||||
9-10 | -- | -- | Not Used | ||||
11 | DK GRN/WHT | 2514 | Inside Rearview Mirror | ||||
12-14 | -- | -- | Not Used | ||||
15 | ORN | 1340 | Body to Headliner Inline with Onstar | ||||
16 | ORN | 1340 | Body to Headliner Inline with Onstar | ||||
| |||||||
|---|---|---|---|---|---|---|---|
Connector Part Information |
| ||||||
Pin | Wire Color | Circuit Number | Function | ||||
1 | BRN/WHT | 367 | Body to Headliner with Onstar | ||||
2 | BLK/WHT | 372 | Body to Headliner with Onstar | ||||
3-5 | -- | -- | Not Used | ||||
6 | PPL | 1807 | Body to Headliner Inline with Onstar | ||||
7 | DK GRN/WHT | 368 | Body to Headliner Inline with Onstar | ||||
8 | LT BLU | 814 | Body to Headliner Inline with Onstar | ||||
9 | GRY | 655 | Onstar Microphone | ||||
10 | DK GRN | 654 | Onstar Microphone | ||||
11 | -- | -- | Not Used | ||||
12 | YEL/BLK | 693 | Body to Headliner Inline with Onstar | ||||