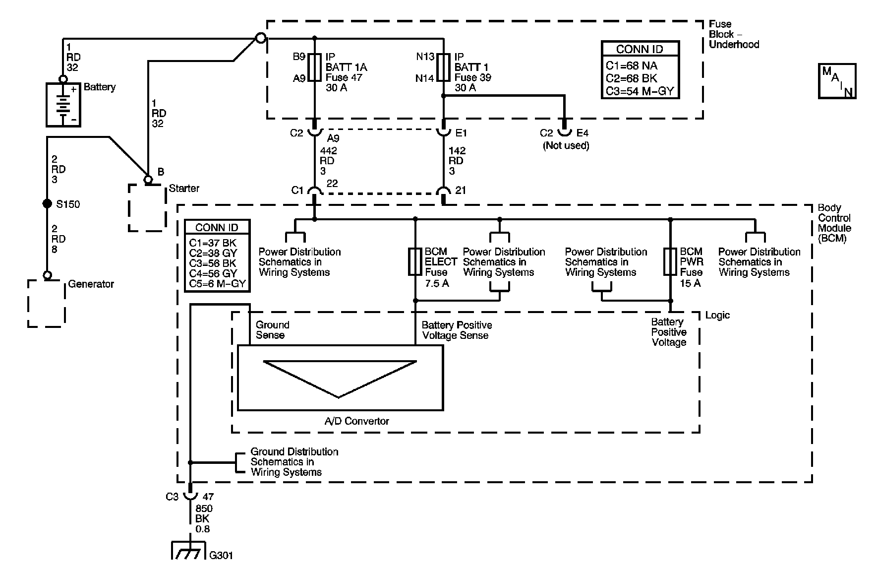
The body control module (BCM) has an internal voltage sensor with a dedicated circuit that checks the battery positive voltage and battery negative circuit voltage to determine if it is above 8.7 volts.
This DTC shall run only if the BCM has power, ground and the ignition is not in START mode. This DTC shall execute regardless of the battery voltage.
| • | This DTC shall be set as current when the voltage falls below 8.7 volts for 1,200 milliseconds. |
| • | When the vehicle exits START the BCM shall delay checking the voltage for 2 seconds. |
| • | The ECM will not illuminate the charge indicator. |
| • | A message shall be sent out on the class 2 lines to notify all other modules of low battery voltage. |
In order to clear the DTC from a current status the ignition must be cycled and the voltage shall be greater than 9.0 volts.
The number below refers to the step number on the diagnostic table.
Step | Action | Value(s) | Yes | No |
|---|---|---|---|---|
Connector End View Reference: Inline Harness Connector End Views in Wiring Systems or Body Control System Connector End Views in Body Control System | ||||
1 | Did you perform the Engine Electrical Diagnostic System Check? | -- | Go to Step 2 | |
2 |
Does the scan tool indicate the battery voltage is greater than the specified value? | 8.8 V | Go to Step 5 | Go to Step 3 |
Are the voltages within the specified value? | 1.0 V | Go to Battery Inspection/Test | Go to Step 5 | |
4 | Test the battery voltage and ground circuits of the BCM for a high resistance. Refer to Circuit Testing and Wiring Repairs in Wiring Systems. Did you find and correct the condition? | -- | Go to Step 7 | Go to Step 5 |
5 | Inspect for poor connections at the harness connector of the BCM. Refer to Testing for Intermittent Conditions and Poor Connections and Connector Repairs in Wiring Systems. Did you find and correct the condition? | -- | Go to Step 7 | Go to Step 6 |
6 |
Important: Perform the setup procedure for the BCM. Replace the BCM. Refer to Body Control Module Replacement in Body Control Systems. Did you complete the replacement? | -- | Go to Step 7 | -- |
7 |
Does the DTC reset? | -- | Go to Step 2 | System OK |