GM Service Manual Online
For 1990-2009 cars only
Makes
🢒
Saturn
🢒
2003
🢒
L300/LW300
🢒
Engine
🢒
Engine Controls - 2.2L (L61)
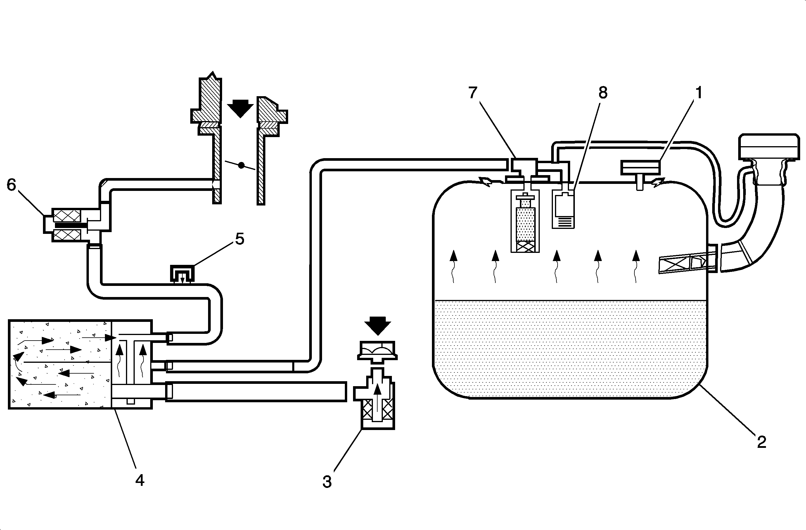
🢒 Evaporative Emissions Hose Routing Diagram
(1)
Fuel Tank Pressure (FTP) Sensor
(2)
Fuel Tank
(3)
Evaporative Emission (EVAP) Vent Solenoid
(4)
EVAP Canister
(5)
EVAP Service Port
(6)
EVAP Purge Solenoid
(7)
Fill Limit Vent Valve (FLVV)
(8)
Grade Vent Valve