GM Service Manual Online
For 1990-2009 cars only

Tools Required

J 35268-A Camshaft Main Seal Installer


    Object Number: 894277  Size: SH
  1. Lubricate the camshaft bearing surfaces with clean engine oil.
  2. Important: 

       • The intake is marked with the letter A.
       • The exhaust is marked with the letter E.

  3. Install the lifters.
  4. Install the camshafts.

  5. Object Number: 895689  Size: SH
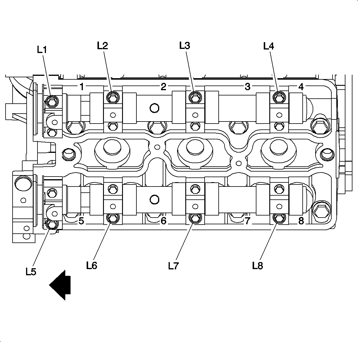
  6. The bearing caps for the rear, cylinder 1, 3, 5, side cylinder head are marked L1-L8.


    Object Number: 894278  Size: SH
  7. The bearing caps for the front, cylinder 2, 4, 6, side cylinder head are marked R1-R8.

  8. Object Number: 894324  Size: SH
  9. Apply a small amount of LOCTITE® 573, or equivalent, on the forward edge of the front bearing caps to ensure an adequate seal between the bearing cap and the cylinder head.
  10. Install the camshaft bearing caps to their appropriate position.
  11. Install the camshaft bearing cap bolts.
  12. Notice: Refer to Fastener Notice in the Preface section.

    Important: DO NOT allow the sealer to get into the oil journal of the cap.

  13. Tighten the camshaft bearing cap bolts gradually, starting from the center cap.
  14. Tighten
    Tighten the camshaft bearing cap bolt to 8 N·m (71 lb in).


    Object Number: 894897  Size: SH
  15. Use the J 35268-A to install the camshaft seals.