GM Service Manual Online
For 1990-2009 cars only
Figure 1:

Front of Engine Components


Object Number: 797509  Size: LF
(1)Timing Belt Front Cover Bolt
(2)Timing Belt Front Cover Seal
(3)Timing Belt
(4)Timing Belt Tensioner Bracket Bolt
(5)Timing Belt Tensioner Bracket, Includes 1-2 Idler Pulley and Tensioner
(6)Water Pump
(7)Timing Belt Rear Cover
(8)Camshaft Sprocket Bolt
(9)Camshaft Sprocket Washer
(10)Camshaft Sprocket
(11)3-4 Timing Belt Idler
(12)3-4 Timing Belt Idler Bolt
(13)Oil Pump Collar
(14)Timing Belt Rear Cover Bolt
(15)Water Pump Bolt
(16)Crankshaft Pulley
(17)Crankshaft Pulley Bolt
(18)Crankshaft Balancer
(19)Crankshaft Balancer Bolt
(20)Timing Belt Front Cover
(21)Water Pump Pulley
(22)Water Pump Pulley Bolts
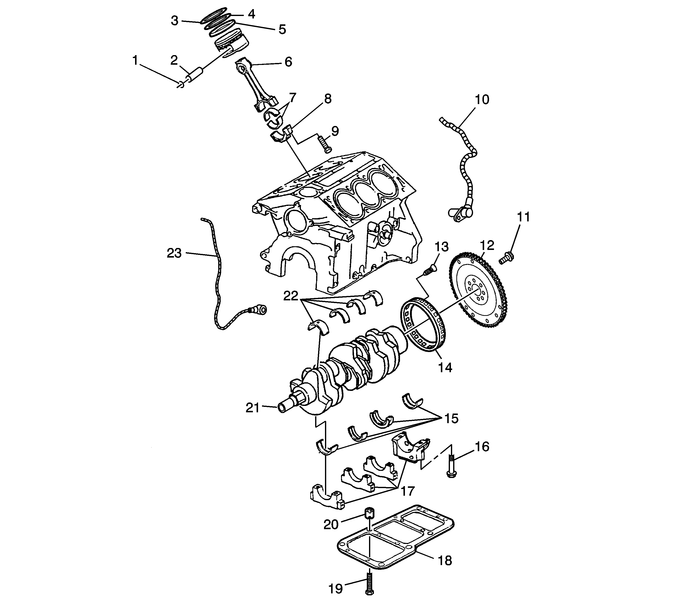
Figure 2:

Crankshaft/Pistons Components


Object Number: 797511  Size: LF
(1)Piston Pin Retaining Clip
(2)Piston Pin
(3)Upper Compression Ring
(4)Lower Compression Ring
(5)Oil Control Rings
(6)Connecting Rod
(7)Connecting Rod Bearing
(8)Connecting Rod Cap
(9)Connecting Rod Bolt
(10)Crankshaft Sensor
(11)Flywheel Bolt
(12)Flywheel
(13)Crankshaft Sensor Reluctor Ring Bolt
(14)Crankshaft Sensor Reluctor Ring
(15)Crankshaft Lower Main Bearings
(16)Crankshaft Main Bearing Cap Bolt
(17)Crankshaft Main Bearing Caps
(18)Crankshaft Bearing Bridge
(19)Crankshaft Bearing Bridge Bolt
(20)Crankshaft Bearing Bridge Adjusting Sleeve
(21)Crankshaft
(22)Crankshaft Upper Main Bearings
(23)Left Knock Sensor
Figure 3:

Manifold and Related Components


Object Number: 797512  Size: LF
(1)Fuel Injection Rail
(2)Fuel Injection Fuel Feed and Return Bolt
(3)Fuel Injector Fuel Feed and Return
(4)Intake Plenum Bolt Cap
(5)PCV Vent Tube Adapter Bolt
(6)PCV Vent Tube Adapter
(7)Intake Manifold Tuning Valve
(8)Intake Manifold Tuning Valve Actuator
(9)Intake Manifold Tuning Valve Bolt
(10)Intake Manifold Tuning Valve Solenoid Valve Hose
(11)Intake Manifold Tuning Valve O-ring
(12)Intake Manifold Plenum Bolt
(13)PCV Vent Tube Adapter O-ring
(14)Idle Air Valve
(15)Intake Plenum
(16)Intake Manifold
(17)Intake Manifold Gasket
(18)Intake Manifold Flange
(19)Intake Manifold Flange Gasket
(20)Intake Manifold Flange Bolt
(21)Intake Manifold Bolt
(22)Intake Plenum O-ring
(23)Throttle Body Bolt
(24)Throttle Body
(25)Throttle Body O-ring
(26)Ignition Coil Cassette
(27)Left Exhaust Manifold
Figure 4:

Cylinder Head and Components


Object Number: 797513  Size: LF
(1)Camshaft Bearing Cap
(2)Camshaft Bearing Cap Bolt
(3)Exhaust Camshaft
(4)Intake Camshaft
(5)Camshaft Cover Bolt
(6)Camshaft Cover
(7)Oil Fill Tube
(8)Oil Fill Cap O-ring
(9)Oil Fill Cap
(10)Camshaft Cover Gasket
(11)Camshaft Cover O-ring
(12)Left Cylinder Head
(13)Left Cylinder Head Gasket
(14)Valve
(15)Valve Spring Seat
(16)Valve Seal
(17)Valve Spring
(18)Valve Spring Cap
(19)Valve Spring Retaining Keys
(20)Valve Lifter
(21)Right Cylinder Head Gasket
(22)Camshaft Seal
(23)Right Cylinder Head
(24)Cylinder Head Bolt
Figure 5:

Oil Pan and Delivery Components


Object Number: 804902  Size: LF
(1)Oil Cooler Inlet/Outlet Nuts
(2)Oil Cooler Pipe Seals
(3)Oil Cooler Line Banjo Fittings
(4)Oil Cooler Inlet Pipe
(5)Oil Cooler Outlet Pipe
(6)Oil Filter Adapter
(7)Oil Filter Bypass Valve
(8)Oil Filter Bypass Check Ball
(9)Oil Filter Bypass Spring
(10)Oil Pan Baffle
(11)Oil Pan
(12)Oil Pump Gasket
(13)Oil Pump Pipe Plug
(14)Oil Intake Pipe O-ring
(15)Oil Intake Pipe
(16)Oil Intake Pipe Bolt
(17)Oil Pump Inlet Screen
(18)Oil Intake Pipe Bolt
(19)Oil Pump Collar
(20)Oil Pump
(21)Oil Pressure Relief Valve
(22)Oil Pressure Relief Valve Spring
(23)Oil Pressure Relief Valve Seal
(24)Oil Pressure Relief Valve Plug
(25)Oil Pressure Regulator Valve Spring
(26)Oil Pressure Regulator Valve
(27)Oil Pressure Regulator Valve Seal
(28)Oil Pressure Regulator Valve Plug
(29)Oil Cooler
(30)Oil Cooler Inlet/Outlet Seals
(31)Oil Cooler Cover
(32)Oil Cooler Cover Bolt