GM Service Manual Online
For 1990-2009 cars only

Tools Required

    • J 35268-A Camshaft/Front Main Seal Installer
    • J 42069 Timing Belt Alignment Kit
    • SA9140E Torque Angle Gage

Removal Procedure


    Object Number: 894706  Size: SH
  1. Disconnect the negative battery cable. Refer to Battery Negative Cable Disconnection and Connection in Engine Electrical.
  2. Remove the intake plenum. Refer to Intake Plenum Replacement .
  3. Remove the air cleaner assembly.

  4. Object Number: 894853  Size: SH
  5. Remove the front camshaft cover. Refer to Camshaft Cover Replacement .

  6. Object Number: 894187  Size: SH
  7. Remove the front timing belt cover. Refer to Timing Belt Front Cover Replacement .
  8. Remove the timing belt. Refer to Timing Belt Replacement .

  9. Object Number: 894190  Size: SH

    Important: As a precaution, rotate the crankshaft counterclockwise to 60 degrees before top dead center (BTDC) position to prevent valve/piston contact.

  10. Insert the J 42069-2 Camshaft Gear Locking Tool into the camshaft gears to hold them in place while loosening the camshaft gear bolt.

  11. Object Number: 894899  Size: SH
  12. Remove the J 42069-2.
  13. Remove the camshaft gear bolt and discard.
  14. Remove the camshaft gear.

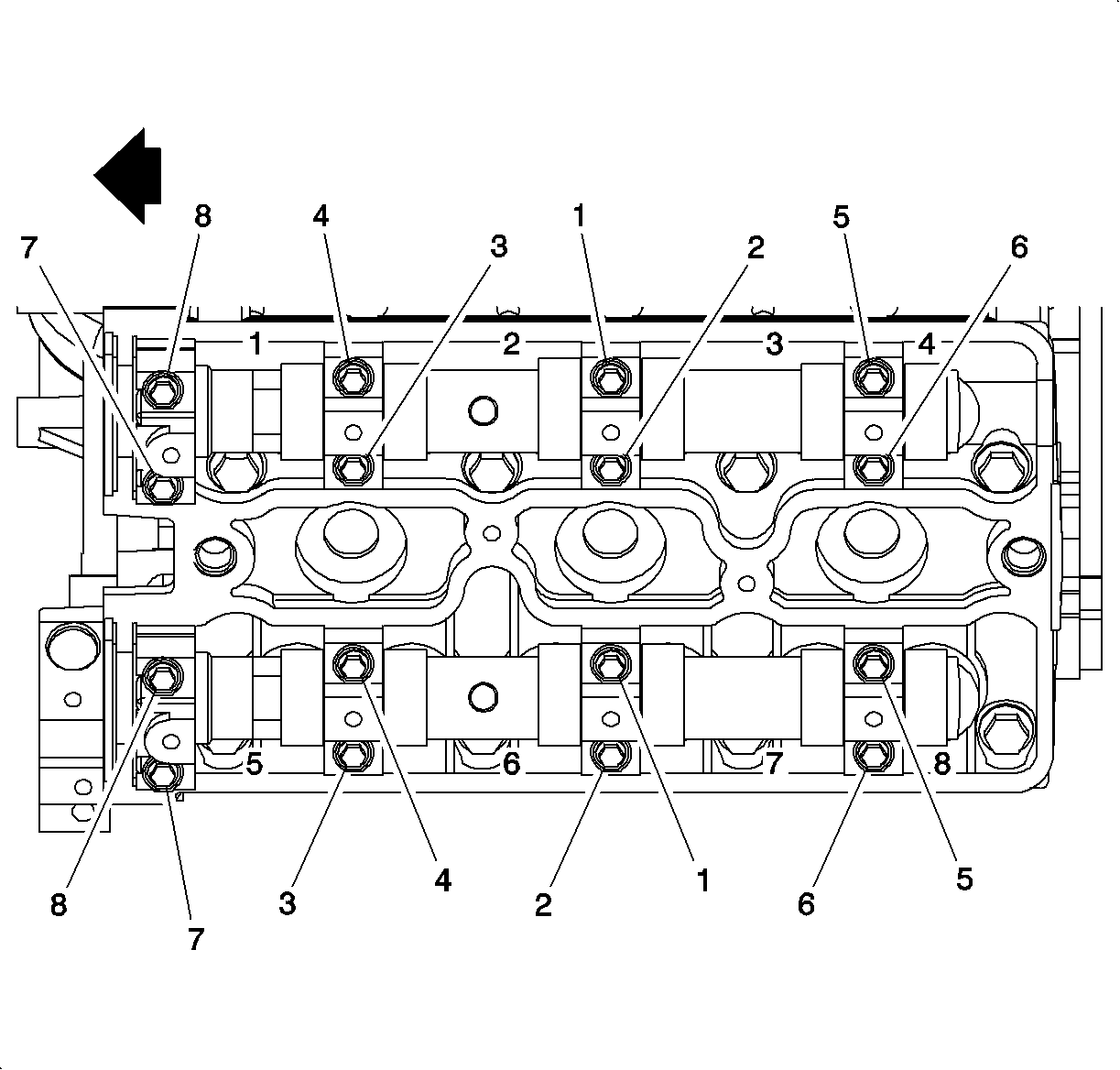
  15. Object Number: 895681  Size: SH
  16. Loosen the camshaft bearing cap bolts, sequentially, starting from the center and moving outwards in a spiral direction.
  17. Important: Ensure that the camshaft is not under load from the lifters and that the camshaft comes out of the bearing seat evenly.

  18. Remove the camshaft bearing cap bolts.
  19. Remove the camshaft bearing caps. Note the marks on the bearing caps.
  20. The bearing caps for the front side cylinder head are marked with an R followed by a number.
  21. Remove the camshaft with a seal attached.
  22. Remove the camshaft seal.
  23. Clean all of the bearing surfaces.
  24. Clean all of the sealing surfaces.

Installation Procedure


    Object Number: 894324  Size: SH
  1. Lubricate the camshaft bearing surfaces with clean engine oil.
  2. Important: The intake camshaft is marked with the letter A and the exhaust camshaft is marked with the letter E.

  3. Install the camshaft to the cylinder head.

  4. Object Number: 894757  Size: SH

    Important: Ensure the pin on the exhaust camshaft is approximately in the 12 o'clock position and/or that the pin on the intake camshaft is approximately in the 7 o'clock position to allow for minimal load on the camshaft when installing the bearing caps.

  5. Apply a small amount of LOCTITE® 518, or equivalent, on the forward edge of the front bearing caps to ensure an adequate seal between the bearing cap and the cylinder head.

  6. Object Number: 894278  Size: SH
  7. The bearing caps for the front (CYL 2, 4, 6) cylinder head are marked R1-R8 (cylinders 2, 4, 6).
  8. Install the camshaft bearing caps in their appropriate position.
  9. Notice: Refer to Fastener Notice in the Preface section.


    Object Number: 895686  Size: SH

    Important: Do not allow the sealer to get into the oil journal of the cap.

    Important: Tighten the camshaft bearing cap bolts starting from the center cap gradually.

  10. Install the camshaft bearing cap bolts.
  11. Tighten
    Tighten the camshaft bearing cap bolt to 8 N·m (71 lb in).


    Object Number: 894897  Size: SH
  12. Coat the lip of the seal with a small amount of clean engine oil to aid in installation.
  13. Use the J 35268-A to install the camshaft seal.
  14. Ensure that the camshaft seal is fully and evenly seated.

  15. Object Number: 894899  Size: SH

    Important: Use a new camshaft gear bolt. The required tightening method will stretch the bolt to its yield point. Therefore, the bolt is not reusable.

  16. Install the new camshaft gear bolt using the SA9140E .
  17. Use the J 42069-2 to hold the camshaft gear and the camshaft in place while tightening the camshaft gear bolt.
  18. Tighten
    Tighten the camshaft gear bolt to 50 N·m (37 lb ft) plus 60 degrees plus 15 degrees.

  19. Install the timing belt. Refer to Timing Belt Replacement .
  20. Adjust the timing belt. Refer to Timing Belt Replacement .
  21. Install the timing belt cover. Refer to Timing Belt Front Cover Replacement .
  22. Install the front camshaft cover. Refer to Camshaft Cover Replacement .
  23. Install the intake plenum. Refer to Intake Plenum Replacement .
  24. Install the air cleaner assembly.
  25. Connect the negative battery cable.
  26. Tighten
    Tighten the battery terminal bolts to 17 N·m (13 lb ft).