GM Service Manual Online
For 1990-2009 cars only
Makes
🢒
Saturn
🢒
2003
🢒
L300/LW300
🢒
Driveline/Axle
🢒
Wheel Drive Shafts
🢒 Wheel Drive Shafts Disassembled Views
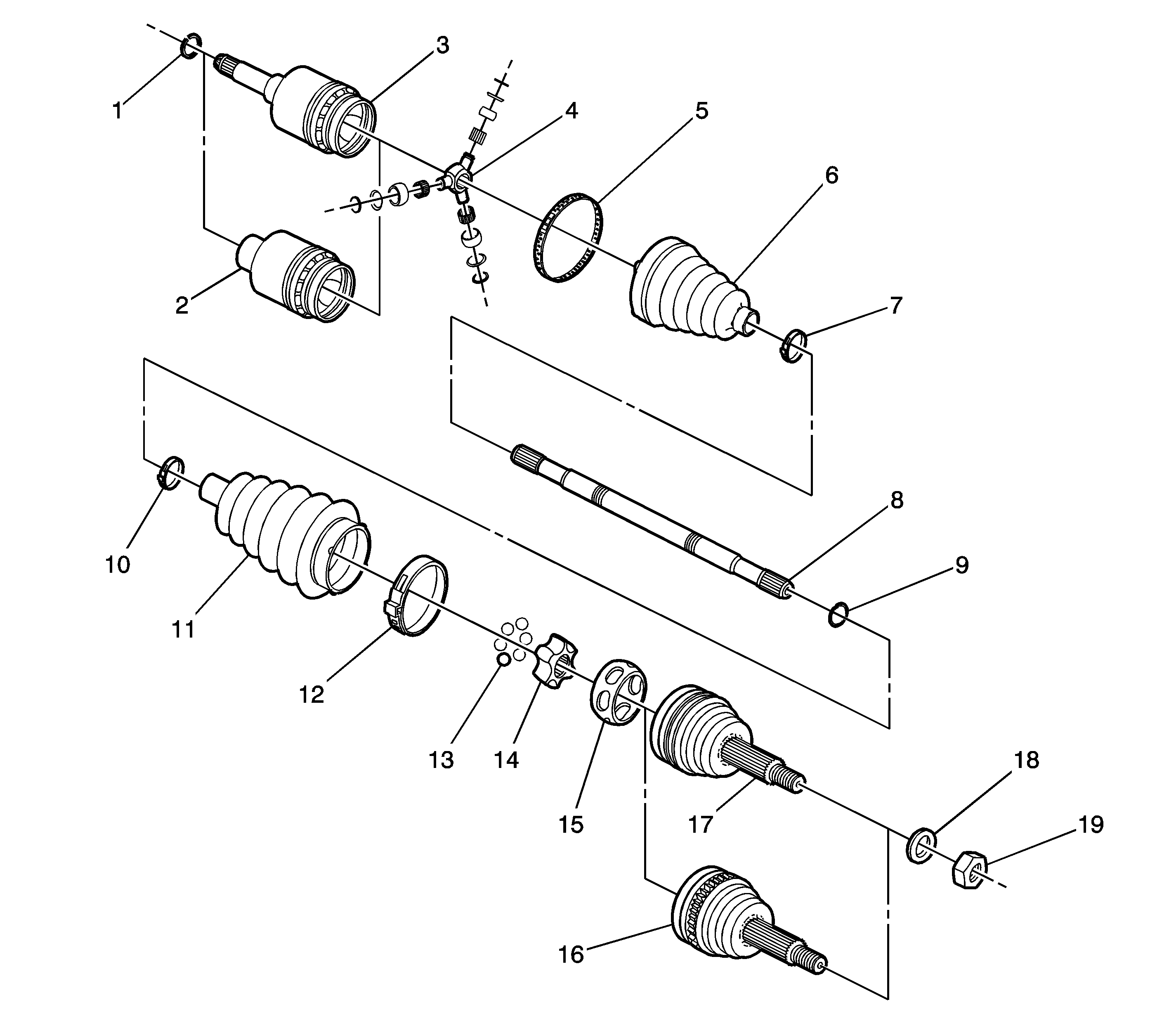
Wheel Drive Shafts Disassemble Views
(1)
Retaining Ring
(2)
Retainer and Housing Assembly
(3)
Housing Assembly
(4)
Tripot Joint Spider Assembly
(5)
Boot Retaining Clamp
(6)
Tripot Joint Boot
(7)
Swage Ring
(8)
Halfshaft Bar
(9)
Retaining Ring
(10)
Swage Ring
(11)
CV Joint Boot
(12)
Boot Retaining Clamp
(13)
Chrome Alloy Ball
(14)
CV Joint Inner Race
(15)
CV Joint Cage
(16)
CV Joint Outer Race (ABS)
(17)
CV Joint Outer Race (NON ABS)
(18)
Washer
(19)
Nut