GM Service Manual Online
For 1990-2009 cars only

Removal Procedure

  1. Gently pull on the left and the right side console extensions to remove the extensions.
  2. Disconnect the electrical connector from the power window switch.
  3. Remove the power window switch from the front floor console trim plate. To avoid damage to the front floor console trim plate, use a small flat bladed tool on the back side of the power window switch to release the retaining cups.
  4. Using a small flat blade screwdriver, gently pry upward on the front portion of the power window switch to partially disengage the switch from the console.
  5. Disconnect the power window switch harness from the switch and remove the power window switch.
  6. Disengage the console park brake boot by squeezing the side of the boot while pulling upward.
  7. Lift the park brake boot over the park brake assembly and remove the boot.
  8. Remove the front console tray by pulling upward on the tray assembly.
  9. Disconnect the console wiring harness from the main body harness.

  10. Object Number: 893814  Size: SH
  11. Pull up on the PRNDL cover to disengage the cover, on automatic transaxles.

  12. Object Number: 895322  Size: SH
  13. Pull up on the shifter boot to disengage the boot, on 5-speed transaxles.
  14. Move the front seats to the forward most position and remove the console rear fasteners.
  15. Move the front seats to the rear most position and remove the console front fasteners.
  16. Gently lift the console up and over the shifter or PRNDL cover and remove the console assembly.

  17. Object Number: 891761  Size: SH
  18. Remove the park brake adjuster nut.

  19. Object Number: 891769  Size: SH
  20. Disconnect the park brake warning switch electrical connector.

  21. Object Number: 891774  Size: SH
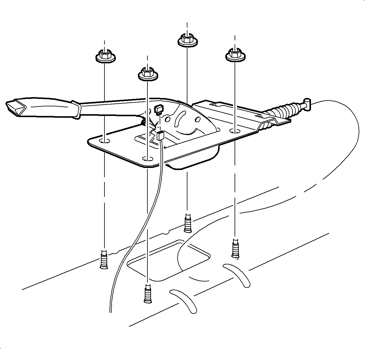
  22. Remove the park brake lever-to-floor pan nuts.
  23. Important: Keep tension on the park brake cable so it does not disengage from the equalizer.

  24. Carefully remove the park brake lever from the vehicle while guiding the cable through the lever.

Installation Procedure


    Object Number: 891774  Size: SH
  1. Position the brake lever into the vehicle while guiding the park brake cable into the lever.
  2. Notice: Refer to Fastener Notice in the Preface section.

  3. Tighten the park brake lever-to-floor pan nuts.
  4. Tighten
    Tighten the park brake lever-to-floor pan nuts to 10 N·m (89 lb in).

  5. Connect the park brake warning switch electrical connector.

  6. Object Number: 891761  Size: SH
  7. Install the park brake adjuster nut.
  8. Position the console into the vehicle. Route the shifter/PRNDL boot through the console opening.
  9. Install the front console fasteners.
  10. Tighten
    Tighten the front console fasteners to 2.5 N·m (22 lb in).

  11. Move the front seats forward and install the console rear fasteners.
  12. Tighten
    Tighten the rear console fasteners to 2.5 N·m (22 lb in).


    Object Number: 893814  Size: SH
  13. Snap the PRNDL cover into the console opening, on automatic transaxles.

  14. Object Number: 895322  Size: SH
  15. Snap the shifter boot into the console opening, on 5-speed transaxles.
  16. Connect the console wiring harness to the main body harness.
  17. Snap the console front tray into the console.
  18. Connect the power window harness to the power window switch and snap the switch into place.
  19. Install the console park brake lever boot.
  20. Install the console extensions.
  21. Adjust the parking brake. Refer to Park Brake Adjustment .