GM Service Manual Online
For 1990-2009 cars only

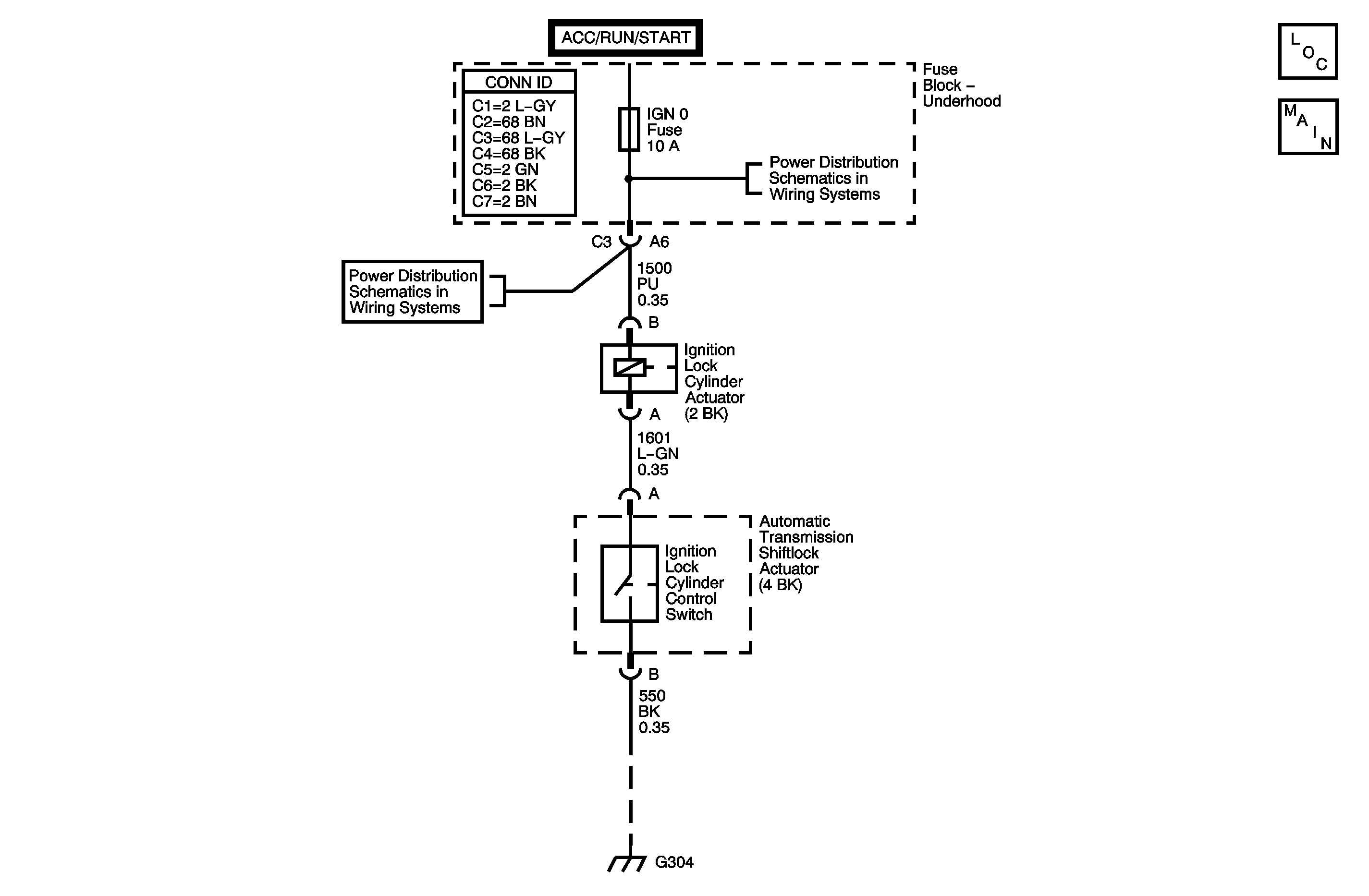
Object Number: 1272086  Size: MF
Steering Column Disassembled View
Column/Ignition Lock Schematics

Step

Action

Yes

No

Schematic Reference: Column/Ignition Lock Schematics

Connector End View Reference: Steering Wheel and Column Connector End Views

1

Verify the fault is present.

Does the system operate normally?

Go to Testing for Intermittent Conditions and Poor Connections in Wiring Systems

Go to Step 2

2

  1. Remove the ignition lock cylinder control actuator from the underside of the ignition lock cylinder.
  2. Turn the key to the OFF position and remove the key.

Were you able to turn the key to the OFF position and remove the key?

Go to Step 3

Go to Lock System Does Not Lock

3

  1. Turn OFF the ignition.
  2. Disconnect the ignition lock cylinder control actuator connector.
  3. Turn ON the ignition, with the engine OFF.
  4. Connect a test lamp between the accessory voltage and ignition lock cylinder control switch signal circuits of the ignition lock cylinder control actuator.
  5. Cycle the gear shiftier from Park to Drive.

Does the test lamp turn ON and OFF with each cycle?

Go to Step 10

Go to Step 4

4

Does the test lamp remain illuminated with each cycle?

Go to Step 6

Go to Step 5

5

  1. Apply parking brake.
  2. Put gear shiftier into Drive.
  3. Connect a test lamp between the ignition lock cylinder control switch signal circuit of the ignition lock cylinder control actuator and B+ voltage?

Does the test lamp illuminate?

Go to Step 11

Go to Step 7

6

Test the ignition lock cylinder control switch signal circuit of the ignition lock cylinder control actuator for a short to ground.

Did you find and correct the condition?

Go to Step 14

Go to Step 9

7

Test the ignition lock cylinder control switch signal circuit of the ignition lock cylinder control actuator for an open.

Did you find and correct the condition?

Go to Step 14

Go to Step 8

8

Test the ground circuit of the ignition lock cylinder control switch for an open.

Did you find and correct the condition?

Go to Step 14

Go to Step 9

9

Inspect for poor connections at the shiftier assembly. Refer to Testing for Intermittent Conditions and Poor Connections and Connector Repairs in Wiring Systems.

Did you find and correct the condition?

Go to Step 14

Go to Step 12

10

Inspect for poor connections at the ignition lock cylinder control actuator. Refer to Testing for Intermittent Conditions and Poor Connections and Connector Repairs in Wiring Systems.

Did you find and correct the condition?

Go to Step 14

Go to Step 13

11

Repair the accessory voltage circuit of the ignition lock cylinder control actuator. Refer to Wiring Repairs in Wiring Systems.

Did you complete the repair?

Go to Step 14

--

12

Replace the shiftier assembly. Refer to Transmission Control Replacement in Automatic Transaxle -- 4T40-E/4T45-E.

Did you complete the replacement?

Go to Step 14

--

13

Replace the ignition lock cylinder control actuator. Refer to Ignition Lock Cylinder Solenoid Replacement .

Did you complete the replacement?

Go to Step 14

--

14

Operate the system in order to verify the repair.

Did you correct the condition?

System OK

Go to Step 3