GM Service Manual Online
For 1990-2009 cars only

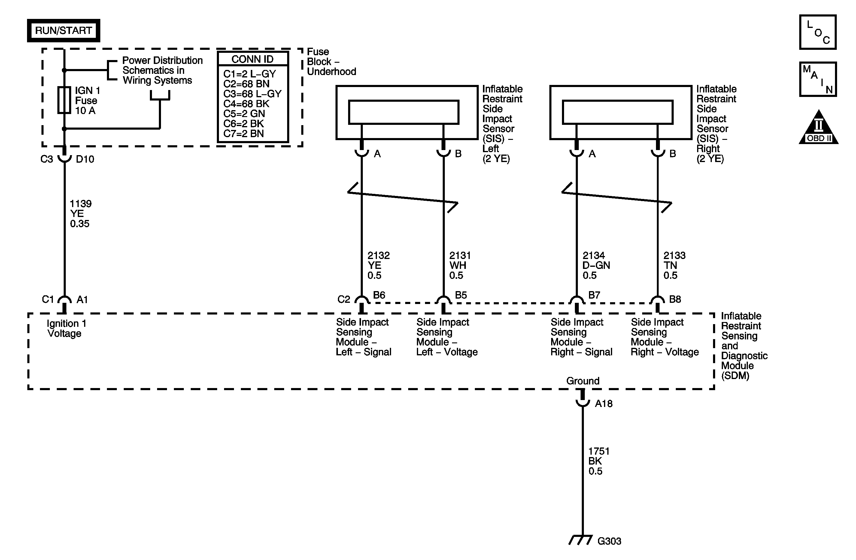
Object Number: 1226446  Size: MF

Circuit Description

The inflatable restraint side impact sensor (SIS) utilizes a unidirectional 2-wire circuit. The SIS modulates current on the interface to send ID, State of Health, and deployment commands to the inflatable restraint sensing and diagnostic module (SDM). The SDM serves as a power source and a ground for the SIS. When the ignition is turned on and input power from the SDM is first detected, the SIS responds by performing internal diagnostics and sending an ID to the SDM. The SDM considers the ID to be valid if the response time is less than 5 seconds. The SIS continually communicates status messages to the SDM, which determines if a fault is present in the SIS circuit. When a fault is detected, the SDM resets the SIS twice by removing and reapplying power to it. If the fault is still present, the SDM will set a diagnostic trouble code (DTC).

Conditions for Running the DTC

Ignition 1  voltage is within the normal operating voltage range.

Conditions for Setting the DTC

    • DTC B0077 for the SIS-LF or B0078 for the SIS-RF will set when one of the following conditions occur:
       - A valid ID message is not received within 5 seconds of the SIS being powered up.
       - Status message is not received.
       - The SDM has reset the SIS twice without detecting a valid ID message.
    • DTC B0079 for the SIS-LF or B0081 for the SIS-RF will set when one of the following conditions occur:
       - The SDM has received an ID message from the SIS which does not match the ID stored in the SDM memory.
       - The SDM has reset the SIS twice without detecting a correct ID message.
    • DTC B0080 for the SIS-LF or B0082 for the SIS-RF will set when the SDM has received a NOK message from the SIS.

Action Taken When the DTC Sets

The SDM commands ON the AIR BAG warning lamp via Class 2 serial data.

Conditions for Clearing the DTC

    • The condition responsible for setting the DTC no longer exists and the scan tool Clear DTCs function is used.
    • A history DTC will clear once 255 malfunction free ignition cycles have occurred.

Diagnostic Aids

The following are conditions that may cause the malfunction:

    • A short to ground or voltage in the SIS circuit
    • High or low resistance in the SIS circuit
    • Improper SIS installed on vehicle

Thoroughly inspect the wiring and the connectors. An incomplete inspection of the wiring and connectors may result in misdiagnosis, causing a part replacement with the reappearance of the malfunction. If an intermittent malfunction exists, refer to Testing for Intermittent Conditions and Poor Connections in Wiring Systems.

Test Description

The numbers below refer to the step numbers on the diagnostic table.

  1. This step tests the SIS signal and SIS voltage circuits for an open or high resistance.

  2. This step tests between the SIS signal and SIS voltage circuits for continuity.

  3. This step tests the SIS signal and SIS voltage circuits for a short to voltage.

Step

Action

Yes

No

Connector End View Reference: SIR Connector End Views

1

Did you perform the Diagnostic System Check - SIR?

Go to Step 2

Go to Diagnostic System Check - SIR

2

  1. Install a scan tool.
  2. Turn ON the ignition, with the engine OFF.
  3. Use the scan tool to request SIR DTCs displayed.

Does the scan tool indicate that DTC B0079, B0080, B0081, or B0082 is current?

Go to Step 10

Go to Step 3

3

  1. Turn OFF the ignition.
  2. If DTC B0077 is current, disconnect the inflatable restraint side impact sensor (SIS)-LF connector. If DTC B0078 is current, disconnect the SIS-RF connector. Refer to Inflatable Restraint Side Impact Sensor Replacement .
  3. Inspect both the component and harness sides of the connector for damage or corrosion. Refer to Testing for Intermittent Conditions and Poor Connections in Wiring Systems.

Does the connector exhibit any signs of damage or corrosion?

Go to Step 4

Go to Step 5

4

  1. If the component side of the SIS connector is damaged, the SIS must be replaced. Refer to Inflatable Restraint Side Impact Sensor Replacement .
  2. If the harness side of the SIS connector is damaged, replace the harness side of the connector. Refer to Connector Repairs in Wiring Systems.

Did you complete the repair?

Go to Step 11

--

5

  1. Turn OFF the ignition.
  2. Disconnect the Inflatable Restraint Sensing and Diagnostic Module (SDM) connector. Refer to Inflatable Restraint Sensing and Diagnostic Module Replacement .
  3. Inspect both the component and harness sides of the SDM connector for damage or corrosion. Refer to Testing for Intermittent Conditions and Poor Connections in Wiring Systems.

Does the connector exhibit any signs of damage or corrosion?

Go to Step 6

Go to Step 7

6

  1. If the component side of the SDM connector is damaged, the SDM must be replaced. Refer to Inflatable Restraint Sensing and Diagnostic Module Replacement .
  2. If the harness side of the SDM connector is damaged, replace the harness side of the connector. Refer to Connector Repairs in Wiring Systems.

Did you complete the repair?

Go to Step 11

--

7

  1. If DTC B0077 is current, disconnect the SIS-LF connector. If DTC B0078 is current, disconnect the SIS-RF connector.
  2. Test both the SIS signal and SIS voltage circuits for an open or high resistance between the SDM connector and the SIS connector. Refer to Circuit Testing and Wiring Repairs in Wiring Systems.

Did you find and correct the condition?

Go to Step 11

Go to Step 8

8

Test for continuity between the SIS signal circuit and the SIS voltage circuit on the SDM connector. Refer to Circuit Testing and Wiring Repairs in Wiring Systems.

Did you find and correct the condition?

Go to Step 11

Go to Step 9

9

  1. Turn ON the ignition, with the engine OFF.
  2. Test both SIS signal and SIS voltage circuits for a short to voltage. Refer to Circuit Testing and Wiring Repairs in Wiring Systems.

Did you find and correct the condition?

Go to Step 11

Go to Step 10

10

  1. Turn OFF the ignition.
  2. If DTC B0077, B0079, or B0080 was current replace the SIS-LF. If DTC B0078, B0081, or B0082 was current replace the SIS-RF. Refer to Inflatable Restraint Side Impact Sensor Replacement .

Did you complete the replacement?

Go to Step 11

--

11

  1. Reconnect all SIR components.
  2. Use the scan tool in order to Clear the DTCs.
  3. Operate the vehicle within the Conditions for Running the DTC as specified in the text.

Does the DTC reset?

Go to Step 12

System OK

12

  1. Turn OFF the ignition.
  2. Replace the SDM. Refer to Inflatable Restraint Sensing and Diagnostic Module Replacement .

Did you complete the replacement?

Go to Step 13

--

13

  1. Turn ON the ignition, with the engine OFF
  2. Use the scan tool in order to Clear the DTCs.
  3. Operate the vehicle within the Conditions for Running the DTC as specified in the text.

Does the DTC reset?

Go to Step 2

System OK