| Table 1: | Device Power Moding |
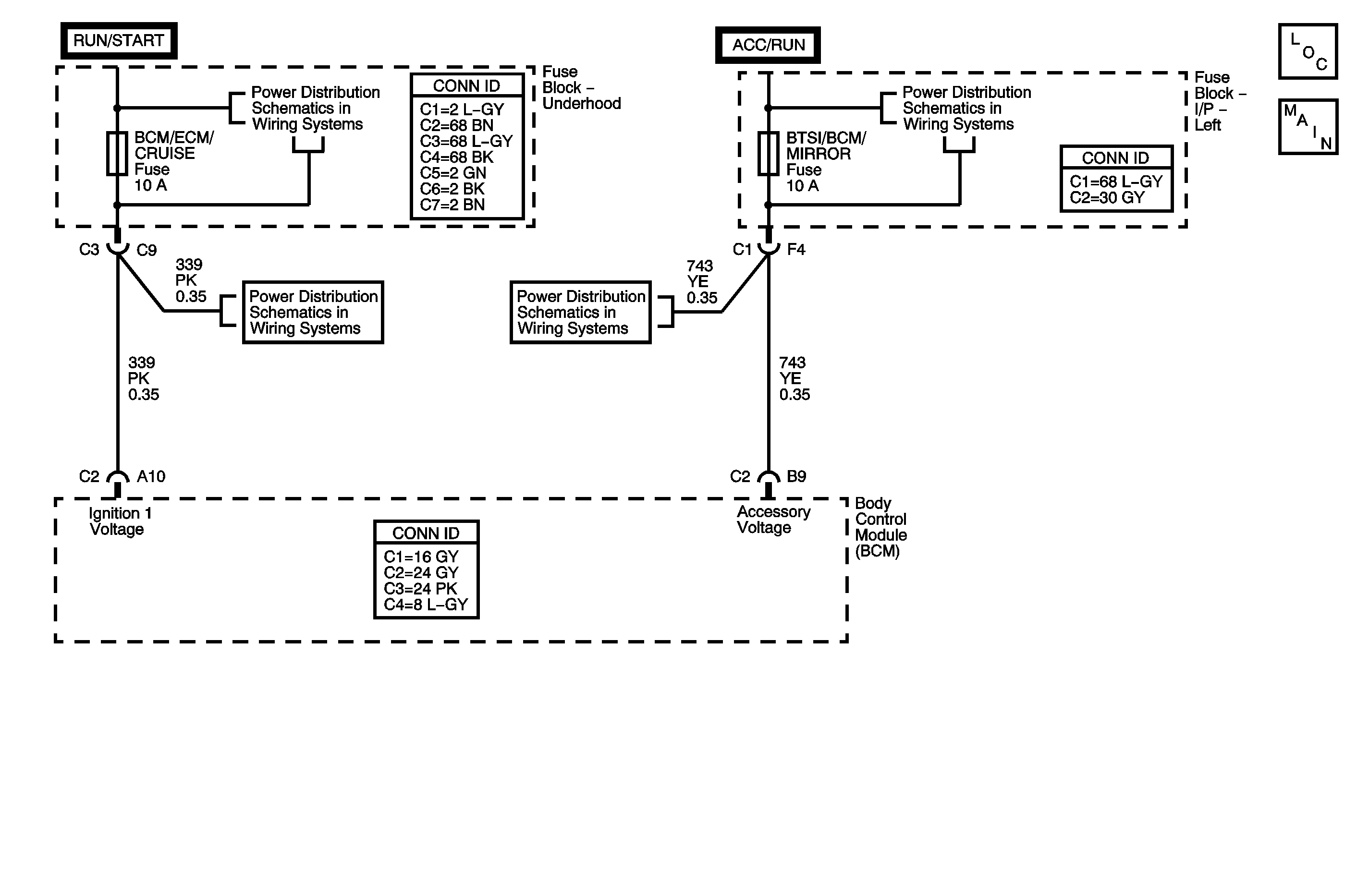
Normal vehicle class 2 communication will not commence until the system power mode has been identified. The BCM communicates the system power mode to all the modules connected to the class 2 serial data circuit. The BCM monitors the state of the ignition 1 voltage circuit, accessory voltage circuit and the engine run flag (ERF) in order to determine the present system power mode. The ERF is a serial data message from the engine controller.
Anytime the BCM receives an input or message. The ignition is in the START position.
The BCM has detected the accessory voltage circuit is open or shorted to ground for greater than 1 minute when the ignition 1 voltage circuit is high and the engine run flag is true.
| • | There is no cluster illumination during bulb check. |
| • | DTC B1382 is set in the BCM. |
| • | BTSI/BCM/MIRROR fuse will open with a short to ground present. |
| • | A current DTC clears and the MIL is turned OFF when the fault is no longer present. |
| • | A history DTC clears when the module ignition cycle counter reaches the reset threshold, without a repeat of the fault. |
Refer to Testing for Intermittent Conditions and Poor Connections in Wiring Systems.
Key Position | Ignition Accessory/Run | Ignition 1 Run/Crank |
|---|---|---|
RUN | Active | Active |
CRANK | Inactive | Active |
ACCY | Active | Inactive |
OFF | Inactive | Inactive |
The numbers below refer to the step numbers on the diagnostic table.
Step | Action | Yes | No |
|---|---|---|---|
Schematic Reference: Body Control System Schematics Connector End View Reference: Master Electrical Component List in Wiring Systems | |||
1 | Did you perform the Diagnostic System Check for the system exhibiting the symptom? | Go to Step 2 | Go to Control Module References for the applicable Diagnostic System Check |
2 |
Does the Accessory Input parameter display High? | Go to Diagnostic Aids | Go to Step 3 |
Does the test lamp illuminate? | Go to Step 4 | Go to Step 5 | |
4 | Inspect for poor connections and terminal tension at the harness connector of the BCM. Refer to Testing for Intermittent Conditions and Poor Connections and Connector Repairs in Wiring Systems. Did you find and correct the condition? | Go to Step 7 | Go to Step 6 |
5 | Repair the inactive accessory signal circuit for an open, high resistance or a short to ground. Refer to Circuit Testing and Wiring Repairs in Wiring Systems. Did you complete the repair? | Go to Step 7 | -- |
6 |
Important:: Perform the programming or setup procedure for the BCM. Replace the BCM. Refer to Body Control Module Replacement for applicable replacement procedure. Did you complete the replacement? | Go to Step 7 | -- |
7 |
Does the DTC reset? | Go to Step 2 | System OK |