GM Service Manual Online
For 1990-2009 cars only

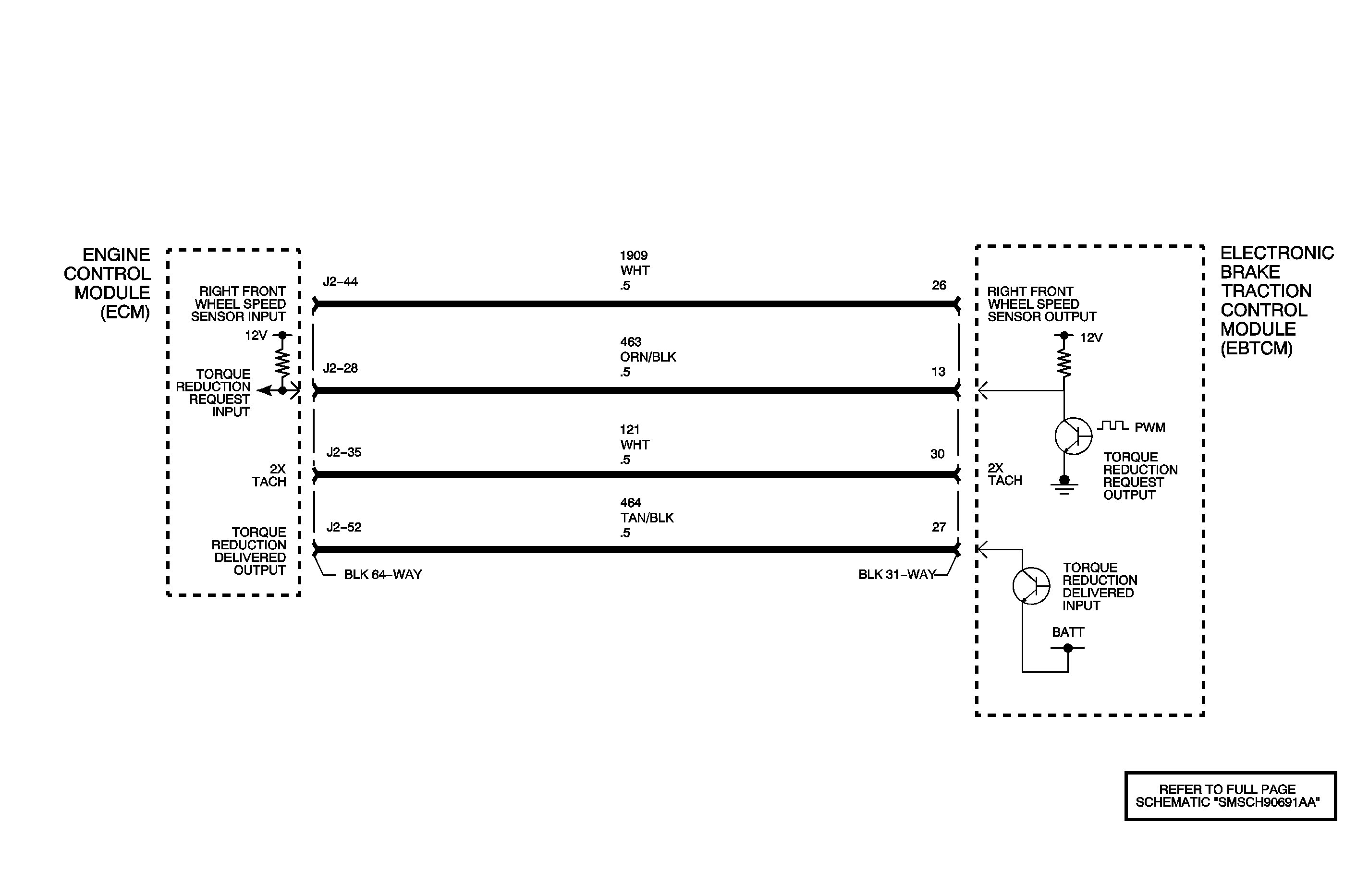
Object Number: 1498752  Size: MF

Circuit Description

The engine control module (ECM) provides the electronic brake and traction control module (EBTCM) with engine RPM data so that it can determine traction control operation.

DTC Descriptor

This diagnostic procedure supports the following DTC:

DTC C0236 TCS RPM Signal Circuit

Conditions for Running the DTC

The ignition is ON.

Conditions for Setting the DTC

    • The DTC will set if the ABS control module detects an open or short in the RPM signal circuit.
    • The EBTCM does not receive a RPM signal one second after the engine has been started.

Action Taken When the DTC Sets

    • The EBTCM disables the traction control system (TCS).
    • The TCS enable lamp is turned OFF.

Conditions for Clearing the DTC

    • The condition for the DTC is no longer present and the DTC is cleared with a scan tool.
    • The electronic brake control module (EBCM) automatically clears the history DTC when a current DTC is not detected in 100 consecutive drive cycles.

Diagnostic Aids

Inspect the wiring, the components, and the connectors for the following:

    • Proper connection
    • Backed-out terminals
    • Broken connector locks
    • Corrosion in the connectors/terminals
    • Burned, chafed, or pinched wiring
    • A broken wire inside the insulation
    • Loose components
    • Both brake lamp bulbs burned out

Step

Action

Yes

No

Schematic Reference: Antilock Brake System Schematics

Connector End View Reference: Antilock Brake System Connector End Views or Lighting Systems Connector End Views in Lighting Systems

1

Did you perform the Diagnostic System Check - Vehicle?

Go to Step 2

Go to Diagnostic System Check - Vehicle in Vehicle DTC Information

2

  1. Connect the scan tool.
  2. Start the vehicle.
  3. Use the scan tool in order to monitor the engine speed in the ABS data display.

Does the scan tool display proper RPM at idle?

Go to Diagnostic Aids

Go to Step 3

3

Use the scan tool to monitor the engine speed in the Engine Data List.

Does the scan tool display proper RPM at idle?

Go to Step 6

Go to Step 4

4

Test the RPM signal circuit for an open or short. Refer to Circuit Testing and Wiring Repairs in Wiring Systems.

Did you find and correct the condition?

Go to Step 7

Go to Step 5

5

Replace the electronic brake control module (EBCM). Refer to Control Module References in Computer/Integrating Systems for replacement, setup, and programming.

Did you complete the replacement?

Go to Step 7

--

6

Replace the engine control module (ECM). Refer to Control Module References in Computer/Integrating Systems for replacement, setup, and programming.

Did you complete the replacement?

Go to Step 7

--

7

  1. Use the scan tool in order to clear the DTCs.
  2. Operate the vehicle within the Conditions for Running the DTC as specified in the supporting text.

Does the DTC reset?

Go to Step 2

System OK